Главная Случайная страница


Полезное:

Как сделать разговор полезным и приятным Как сделать объемную звезду своими руками Как сделать то, что делать не хочется? Как сделать погремушку Как сделать так чтобы женщины сами знакомились с вами Как сделать идею коммерческой Как сделать хорошую растяжку ног? Как сделать наш разум здоровым? Как сделать, чтобы люди обманывали меньше Вопрос 4. Как сделать так, чтобы вас уважали и ценили? Как сделать лучше себе и другим людям Как сделать свидание интересным?


Категории:

АрхитектураАстрономияБиологияГеографияГеологияИнформатикаИскусствоИсторияКулинарияКультураМаркетингМатематикаМедицинаМенеджментОхрана трудаПравоПроизводствоПсихологияРелигияСоциологияСпортТехникаФизикаФилософияХимияЭкологияЭкономикаЭлектроника






Разновидности ультрозвуковой сварки металлов и пластмасс





УЗС – св-ка давлением осущ-я при воздействии УЗ колебаний.

Сущ-т 3 осн-х колебательных системы, использ-е при УЗС:

1) Поперечная колебательная система.

1- преобразователь; 2- волновод; 3-электрод; 4-св-е детали; 5-контрэлектрод.

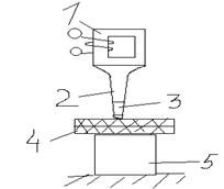
2) Продольная схема (лдя пластмасс).

5- опора.

 

3) Продольно-поперечная.

1- преобразователь; 2 – волновод; 3 – привод сжатия; 4 – св-е детали; 5 – резонансный стержень; 6 – опора.

 

Преобразователи изгот-ся спец-х мат-лов, кот-е под воздействием электромагнитного поля изменяют свои размеры. Для преобразователей использ-ся след-е мат-лы: никель, ферриты, К49Ф2.

Волновод служит для передачи энергии в зону сварки. Продольные колебания – колебания при кот-х частицы среды перемещаются в процессе колебания в направлении распространения волн. Поперечные колебания – такие колебания, при кот-х перемещение частиц перпендикулярно направлению распространения волн.

В газах и жидкостях им-ся только продольные колебания. В тв-х телах: - продольные; - поперечные; - крутильные; - поверхностные; - изгибные.

Типы соединений при УЗС:

1) тонкий металл с толстым.

2) Многослойные.

3) Рельефные.

4) с продавливанием кромок.

 

Области применения УЗС:

1. Сварка жестких пластмасс.

2. Сварка мягких пластмасс.

3. В легкой промышленности.

 







Date: 2015-09-02; view: 413; Нарушение авторских прав



mydocx.ru - 2015-2026 year. (1.011 sec.) Все материалы представленные на сайте исключительно с целью ознакомления читателями и не преследуют коммерческих целей или нарушение авторских прав - Пожаловаться на публикацию