Главная Случайная страница


Полезное:

Как сделать разговор полезным и приятным Как сделать объемную звезду своими руками Как сделать то, что делать не хочется? Как сделать погремушку Как сделать так чтобы женщины сами знакомились с вами Как сделать идею коммерческой Как сделать хорошую растяжку ног? Как сделать наш разум здоровым? Как сделать, чтобы люди обманывали меньше Вопрос 4. Как сделать так, чтобы вас уважали и ценили? Как сделать лучше себе и другим людям Как сделать свидание интересным?


Категории:

АрхитектураАстрономияБиологияГеографияГеологияИнформатикаИскусствоИсторияКулинарияКультураМаркетингМатематикаМедицинаМенеджментОхрана трудаПравоПроизводствоПсихологияРелигияСоциологияСпортТехникаФизикаФилософияХимияЭкологияЭкономикаЭлектроника






П10 Перечислите и объясните виды испытаний, которым подвергаются силовые трансформаторы после ремонта. Приведите нормативные показатели. Изобразите схемы испытаний





 

В программу испытаний силового трансформатора входят:

1.1 Измерение сопротивления изоляции обмоток с определением коэффициента абсорбции.

1.2 Измерение коэффициента трансформации на всех ответвлениях.

1.3 Проверка группы соединения обмоток.

1.4 Измерение сопротивлений постоянному току обмоток на всех ответвлениях.

1.5 Определение увлажненности изоляции обмоток.

1.6 Проверка качества трансформаторного масла.

1.7 Проверка герметичности бака.

1.8 Проверка тока и потерь холостого хода.

1.9 Проверка напряжения и потерь короткого замыкания.

 

ИЗМЕРЕНИЕ СОПРОТИВЛЕНИЯ ИЗОЛЯЦИИ ОБМОТОК С ОПРЕДЕЛЕНИЕМ ОТНОШЕНИЯ

Сопротивление изоляции замеряют между каждой обмоткой и корпусом, а также между обмотками при помощи мегомметра 2500В. Измерения производят в течение 1 минуты при равномерном вращении рукоятки мегомметра со скорость 120 мин. Показания отсчитывают через 15 и 60 секунд. Коэффициент абсорбции, определяемый как отношение, должен быть не ниже 1,3 при напряжении 35 кВ, и не ниже 1,5 при напряжении 110 кВ. Если в результате измерений коэффициент абсорбции меньше указанного, значит обмотка увлажнена и ее нужно сушить. Пониженное значение коэффициента абсорбции может указывать на дефект изоляции.

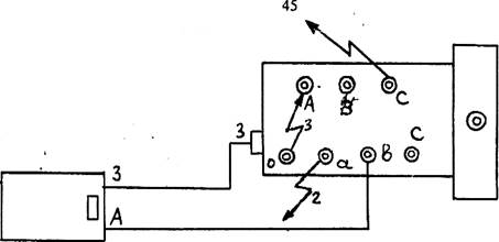
Перед началом измерения мегомметр проверяется путем вращения его ручки сначала при закороченных, а затем при разъединенных концах идущих от него проводов. В первом случае мегомметр должен показывать нуль, а во втором – бесконечность. Проверив исправность прибора и проводов, приступают к измерению изоляции. Мегомметр должен устанавливаться горизонтально на ровном и твердом основании. Измерения производятся по схеме, представленной на рис. 1. При присоединении мегомметра, зажим “З” (земля) подключают к корпусу трансформатора, а “Л” (линия) – к обмотке, в случае измерения сопротивления изоляции между обмоткой и корпусом. При замерах между обмотками провод от обмотки НН надо присоединить к зажиму “З”, а провод от обмотки ВН – к зажиму “Л”. переключатель на разные цены делений должен стоять в таком положении, чтобы отсчет получался непосредственно в мегомах.

 

Мегомметр

 

Рисунок 1- Испытание сопротивления изоляции мегомметром.

 

ИЗМЕРЕНИЕ КОЭФФИЦИЕНТА ТРАНСФОРМАЦИИ

НА ВСЕХ ОТВЕТВЛЕНИЯХ

Коэффициентом трансформации называется отношение напряжения обмотки ВН к напряжению обмотки НН при холостом ходе трансформатора.

К =

Определение коэффициента трансформации производят на всех ответвлениях обмоток и для всех фаз. Коэффициент трансформации определяют по методу двух вольтметров, подводят напряжение к обмотке ВН и замеряют напряжение на той же фазе у обмотки НН. Коэффициенты трансформации отдельных фаз, замеренные на одних и тех же ответвлениях, не должны отличаться друг от друга, а также от расчетных (паспортных) значений более чем на +/-0,5 - 1,0%.

 

ПРОВЕРКА ГРУППЫ СОЕДИНЕНИЯ ОБМОТОК

Определение группы соединения обмоток у однофазных трансформаторов производят методом двух вольтметров: соединяют перемычкой вводы А-а и подают нужное напряжение А-Х, измеряя напряжение вольтметром V1, а также напряжение Uх-х вольтметром V2. Если UА-Х больше, то это 12 группа, если наоборот, - то 6.

 

ИЗМЕРЕНИЕ СОПРОТИВЛЕНИЯ ПОСТОЯННОМУ ТОКУ ОБМОТОК НА ВСЕХ ОТВЕТВЛЕНИЯХ

Сопротивление обмоток при постоянном токе измеряют способом вольтметра и амперметра. Ток при измерении должен быть не более 20% от номинального. Сопротивление проводов и вольтметра должно быть не более 0,5% сопротивления обмотки вольтметра. Провода от вольтметра должны идти самостоятельно от проводов токовой цепи. Измерения производятся по схеме на рисунке 3.2. Величина сопротивления определяется по закону Ома.

 

 

 

Рисунок 2 - Схема измерений сопротивлений постоянному току методом амперметра и вольтметра.

 

Сопротивление измеряется на всех выводах обмоток для всех ответвлений трансформатора. Сопротивления отдельных фаз не должны отличаться на одном и том же ответвлении более чем на 2%.

 

ОПРЕДЕЛЕНИЕ УВЛАЖНЕННОСТИ ИЗОЛЯЦИИ ОБМОТОК

Критерием увлажненности обмоток, кроме коэффициента абсорбции, служит также отношение “емкость – частота”. Этот метод основан на измерении емкости обмоток трансформатора в зависимости от частоты. Измерение емкости производится при постоянной температуре, но при разных частотах 50 и 2 Гц. Обмотки с повышенной влажностью изоляции имеют отношение емкостей близкое к 2, в то время как у сухих обмоток это отношение близко к 1. Измерение производится при помощи специального прибора контроля влажности изоляции ПКВ между каждой обмоткой и корпусом при заземленных концах. Отношение отсчитывают непосредственно по шкале прибора.

 







Date: 2015-07-27; view: 601; Нарушение авторских прав



mydocx.ru - 2015-2026 year. (0.438 sec.) Все материалы представленные на сайте исключительно с целью ознакомления читателями и не преследуют коммерческих целей или нарушение авторских прав - Пожаловаться на публикацию