Главная Случайная страница


Полезное:

Как сделать разговор полезным и приятным Как сделать объемную звезду своими руками Как сделать то, что делать не хочется? Как сделать погремушку Как сделать так чтобы женщины сами знакомились с вами Как сделать идею коммерческой Как сделать хорошую растяжку ног? Как сделать наш разум здоровым? Как сделать, чтобы люди обманывали меньше Вопрос 4. Как сделать так, чтобы вас уважали и ценили? Как сделать лучше себе и другим людям Как сделать свидание интересным?


Категории:

АрхитектураАстрономияБиологияГеографияГеологияИнформатикаИскусствоИсторияКулинарияКультураМаркетингМатематикаМедицинаМенеджментОхрана трудаПравоПроизводствоПсихологияРелигияСоциологияСпортТехникаФизикаФилософияХимияЭкологияЭкономикаЭлектроника






Отстойники





 

Для отстоя нефтяных эмульсий после нагрева их в блочных или стационарных печах применяются отстойники. Наиболее распространены отстойники с нижним распределенным вводом сырья и вертикальным его движением в отстойнике (ОГ-200, ОГ-200С, ОВД-200) и отстойники с радиальным вводом сырья и горизонтальным его движением в отстойнике (ОБН).

Отстойник типа ОГ-200 (ОГ-200С, ОГ-200П) предназначен для отстоя нефтяных эмульсий с целью их разделения на составляющие - нефть и пластовую воду. Допускается применение установки для подготовки легких и средних нефтей, не содержащих сероводород и другие агрессивные в коррозионном отношении компоненты.

В шифре приняты следующие обозначения: ОГ — отстойник горизонтальный; первая цифра — вместимость емкости (м3); С — с сепарационным отсеком.

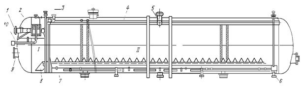
Отстойник ОГ-200С (рис.2.11) представляет горизонтальную стальную цилиндрическую емкость диаметром 3400 мм с эллиптическими днищами. При помощи перегородки 3 емкость разделена на два отсека, из которых левый I является сепарационным, а правый II — отстойным. Левый и правый отсеки емкости сообщаются друг с другом при помощи двух распределителей, представляющих собой стальные трубы 8 с наружным диаметром 426 мм, снабженные отверстиями в верхней части. Над отверстиями распределителей располагаются распределители эмульсии коробчатой формы 7, имеющие на своих боковых гранях отверстия.

В верхней части сепарационного отсека находится сепаратор газа 2, соединенный при помощи фланцевого угольника со штуцером выхода газа 10, расположенным в левом днище. В верхней части правого отсека размещены четыре сборника нефти 4, соединенные с коллектором и штуцером выхода отстоявшейся нефти. В нижней части этого отсека имеется штуцер 6 для удаления отделившейся воды.

Подогретая нефтяная эмульсия через штуцер I поступает в распределитель, расположенный в верхней части сепарационного отсека 7. При этом из обводненной нефти выделяется часть газа, находящаяся в ней как в свободном, так и в растворенном состоянии. Отделившийся газ через штуцер 10 сбрасывается в сборную сеть.

Уровень жидкости в сепарационном отсеке регулируется при помощи регулятора межфазного уровня, поплавковый механизм которого врезается в люк 9. Дегазированная нефть из сепарационного отсека поступает в два коллектора 8, находящиеся в отстойном отсеке II. Из коллекторов нефть поступает под коробчатые распределители и через отверстия, просверленные в их боковых пoвepхнocтяx, направляется тонкими струйками под уровень пластовой воды в отсеке.

Благодаря наличию коробчатых распределителей нефть приобретает вертикальное движение по значительной площади агрегата. Обезвоженная нефть всплывает вверх и поступает в сборники 4, расположенные в верхней части отстойного отсека, и через штуцер 5 выводится из аппарата. Отделившаяся от нефти пластовая вода поступает в правую часть отстойника и через штуцер 6 с помощью поплавкового регулятора межфазного уровня сбрасывается в систему подготовки промысловых вод.

Отстойник ОГ-200С поставляется комплектно с контрольно-измерительными приборами, позволяющими осуществлять автоматическое регулирование уровней раздела «нефть—газ» и «нефть—пластовая вода» в отсеках, а также местный контроль за давлением среды в аппарате, уровнями раздела «нефть — газ» и «нефть — пластовая вода».

 

Техническая характеристика отстойника ОГ-200С приведена ниже.

Рабочая среда ………………………………нефть, газ, пластовая вода

Пропускная способность по товарной нефти, т/сут………..….до 6000

Рабочее давление, МПа …………………..…………………………..0,6

Температура среды, °С……………..…………………………… до 100

Вместимость аппарата, м3…………………………………..……….200

Габаритные размеры, мм ……..….………………25 420 ´ 6 660 ´ 5780

Масса, кг…………………………..………………………………..48 105

 

Рис.2.11. Отстойник ОГ-200С







Date: 2015-07-27; view: 1034; Нарушение авторских прав



mydocx.ru - 2015-2026 year. (0.318 sec.) Все материалы представленные на сайте исключительно с целью ознакомления читателями и не преследуют коммерческих целей или нарушение авторских прав - Пожаловаться на публикацию