Главная Случайная страница


Полезное:

Как сделать разговор полезным и приятным Как сделать объемную звезду своими руками Как сделать то, что делать не хочется? Как сделать погремушку Как сделать так чтобы женщины сами знакомились с вами Как сделать идею коммерческой Как сделать хорошую растяжку ног? Как сделать наш разум здоровым? Как сделать, чтобы люди обманывали меньше Вопрос 4. Как сделать так, чтобы вас уважали и ценили? Как сделать лучше себе и другим людям Как сделать свидание интересным?


Категории:

АрхитектураАстрономияБиологияГеографияГеологияИнформатикаИскусствоИсторияКулинарияКультураМаркетингМатематикаМедицинаМенеджментОхрана трудаПравоПроизводствоПсихологияРелигияСоциологияСпортТехникаФизикаФилософияХимияЭкологияЭкономикаЭлектроника






Вертикальные и горизонтальные емкости





 

Резервуары предназначены для накопления, кратковременного хранения и учета нефти. Группу сосредоточенных в одном месте нефтяных резервуаров называют резервуарным парком.

Резервуары классифицируются по следующим характеристикам:

- по назначению;

- по расположению;

- по материалу, из которого они изготовлены.

По назначению нефтяные резервуары подразделяются на:

- сырьевые;

- технологические;

- товарные.

Сырьевые резервуары предназначены для хранения обводненной нефти. В технологических резервуарах осуществляется предварительный сброс пластовой воды. Товарные резервуары предназначены для хранения обезвоженной и обессоленной нефти.

Резервуарный парк, содержащий товарные резервуары, называется товарным парком.

По расположению нефтяные резервуары подразделяют на:

- надземные;

- подземные;

- полуподземные.

По материалу, из которого они изготовлены, нефтяные резервуары подразделяют на металлические и железобетонные. Обычно наземные резервуары – металлические, а подземные и полуподземные – железобетонные. На нефтяных месторождениях наибольшее распространение получили надземные стальные вертикальные цилиндрические резервуары.

Вертикальные цилиндрические стальные резервуары типа РВС представляют собой сварную конструкцию из стальных листов толщиной от 4 до 14 мм. Наиболее распространенные размеры листов: 1000х2000 мм и 1250х2500 мм при толщине стенки 4 мм и 1500х6000 мм при толщине стенки больше 4 мм.

Основные элементы вертикального стального резервуара днище, корпус и крыша. Днище резервуара сварное из листов толщиной до 5 мм, расположено на фундаменте в виде песчаной подушки и имеет уклон от центра к периферии, равный 2%. Уклон днища необходим для стока и удаления отделившейся в резервуаре пластовой воды. Вокруг фундамента для отвода ливневых вод устраивают кювет с уклоном в сторону канализации.

Корпус резервуара изготовляют в виде поясов, которые могут соединяться между собой тремя способами: ступенчатым, телескопическим и встык. Толщина поясов или одинакова по высоте, или возрастает к низу.

Крыши вертикальных стальных резервуаров бывают трех типов:

- плоские;

- конические;

- сферические.

Резервуары с плоскими и коническими крышами рассчитаны на избыточное давление в газовом пространстве 2000 Па и вакуум 250 Па, а резервуары со сферической крышей рассчитаны на избыточное давление в газовом пространстве 0,02 МПа и вакуум 0,002 МПа.

Резервуары с плоскими крышами имеют наименьшее газовое пространство, поэтому в них меньшие потери нефти от испарения, что обеспечило широкое их использование на нефтяных месторождениях. Крышу резервуара собирают из крупноразмерных щитов заводского изготовления. Щиты представляют собой каркас из двутавров и швеллеров, к которым приварен листовой настил толщиной 2,5 мм. В середине резервуара щиты опираются на центральную стойку. Технологическая характеристика вертикальных стальных резервуаров приведена в таблице 2.1.

Таблица 2.1.

Резервуары вертикальные стальные

Номинал. объем, м3 Геометр. характеристики, мм Общая масса справочн., т
Диаметр Высота Без понтона С понтоном
Расчетная температура -40°С и выше
      8,2 10,8 13,8 15,4 22,9 26,7 48,0 75,4 103,1 216,6 407,0 534,2 10,3 13,4 16,4 19,5 27,2 32,3 53,6 82,9 118,3 233,8 440,0 581,0
Расчетная температура -40°С до -65°С
      8,4 11,1 14,0 15,7 22,9 27,9 48,1 68,8 101,5 196,8 391,8  

Выбор типа резервуара, его внутренней оснащенности, противокоррозионного покрытия, способа монтажа обосновывается проектом в зависимости от емкости, назначения, климатических условий, характеристики сред, а также с учетом максимального снижения потерь.

Каждый резервуар должен быть оснащен:

- дыхательными клапанами,

- предохранительны­ми клапанами,

- огнепреградителями,

- уровнемерами,

- пробоотборниками,

- сигнализаторами уровня,

- манометрами,

- устройствами для предотвращения слива (хлопушками),

- противопожарным оборудованием,

- оборудованием для подогрева (при необходимости),

- приемо-раздаточными патрубками,

- зачистным патрубком,

- вентиляци­онными патрубками,

- люками (люк световой, люк замерный).

Устройство, взаимное расположение и расстояния между отдельными резервуарами и группами должны соответствовать требованиям СНиП 2.11.03-93 «Склады нефти и нефтепродуктов. Противопожарные нормы».


Каждый резервуар должен быть огражден сплошным земляным валом, рассчитанным на гидростатическое давление разлившейся жидкости из резервуара. Территория между резервуаром и обвалованием называется каре.

На рисунке 2.1 изображен цилиндрический вертикальный резервуар. Рассмотрим установленное на нем оборудование рисунок 2.2 и его назначение.

 
 


 

 

 

Рис. 2.2 Трубопроводная обвязка резервуара


Распределители жидкости входящего потока в РВС. Если требуется добиться наилучшей эффективности необходимо обеспечить распределение нефти по всей площади поперечного сечения резервуара. Плохое распределение жидкости приводит к короткому гидравлическому циклу и увеличенной приведенной скорости нефти, что снижает возможность осаждения водных частиц. Количество отводных трубок зависит от диаметра емкости, подходящая скорость составляет порядка 0.2 – 0.3 м/с.

На рисунке 2.3 представлены три типа распределителя.

Рис. 2.3 Распределители жидкости

1 – ромашка; 2 – продольный разрез трубы пополам; 3 – перевёрнутый полутрубный

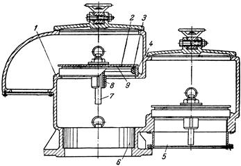
Верхний световой люк (рис. 2.4.) служит для проветривания во время ремонта, зачистки резервуара, а также для подъема хлопушек и шарнирных труб при обрыве рабочего троса.

Рис.2.4. Люк световой

Замерный люк (рис. 2.5.)служит для замера уровня нефтепродукта и подтоварной воды в резервуаре, а также для отбора проб при помощи пробоотборника.

Рис.2.5. Люк замерный

Дыхательный клапан ( рис. 2.6.) применяется в резервуарах для хранения светлых нефтепродуктов и сырой нефти. В процессе эксплуатации резервуаров, содержащих светлые нефтепродукты, сырую нефть и дизельное топливо, происходит “дыхание” резервуара. При повышении температуры окружающей среды давление в газовом пространстве повышается, и часть газа из емкости должна быть выведена. При понижении температуры давление понижается и для предупреждения образования вакуума в емкость должен быть введен газ или воздух. Такой обмен называют “малым дыханием” резервуара.

При закачке в резервуар продукта вытесняется газ, заполнивший резервуар; при откачке освобождаемый продуктом объем, должен быть заполнен каким-либо газом (нефтяные газы, иногда воздух). Вытеснение или подсос газов при закачке - откачке продукта называют “большим дыханием” резервуара.

Рис.2.6. Непромерзающий механический дыхательный клапан:

1- корпус; 2- тарелка; 3- седло; 4- обойма; 5- защитный кожух; 6- огнепреградитель; 7- шток; 8- направляющая труба; 9- покрытие тарелки (пленка из фторопласта 4).

 

Огнепреградители, или заградители пламени (рис. 2.7.), предохраняют резервуар от проникновения внутрь его огня и искр через дыхательные и предохранительные клапаны. Огнепреградители представляют собой фольговую кассету, состоящую из гофрированных и плоских алюминиевых лент, свитых в спираль и образующих ряд параллельных клапанов. Огневые преградители обычно монтируются под дыхательным клапаном.

Принцип действия огневого предохранителя основан на том, что пламя или искра не способны проникнуть внутрь резервуара через отверстие малого сечения в условиях интенсивного теплоотвода.

Рис.2.7. Огнепреградитель: 1- фланец; 2- прижимные болты; 3- корпус; 4- крепежные болты; 5- фольговая гофрированная спираль (кассета); 6- кожух спирали; 7- уплотняющая прокладка.


Подогреватели (рис. 2.8.) служат для подогрева темных нефтепродуктов и масел некоторых сортов, вязкость которых при хранении в резервуарах по разным причинам увеличивается настолько, что перекачка их по трубопроводам без подогрева не представляется возможным.

Для обогрева применяют теплообменные элементы (змеевики, полутрубы, уголки), приваренные к корпусу, или внутренние подогреватели. Внутренние подогреватели изготовляют в виде U- образных теплообменников, которые вставляются в боковые люки, или в виде секционных труб (трубчатых секционных подогревателей), укладываемых на дно резервуара. Конструкции подогревателей различают следующих типов: стационарные и переносные, общие и местные, трубчатые, циркуляционного подогрева, паровые, электрические и др.

С помощью подогревателей продукты перед выводом подогреваются для уменьшения вязкости до заданного значения.

Рис.2.8. Схема установки трубчатого подогревателя.

 

Железобетонные резервуары по виду, хранимого нефтепродукта подразделяются на резервуары для мазута, нефти, масел и светлых нефтепродуктов. Нефть и мазут практически не оказывают химического воздействия на бетон и обладают способностью за счет тяжелых фракций и смол тампонировать мелкопористые материалы, уменьшая со временем их просачиваемость и проницаемость. При хранении этих продуктов в железобетонных резервуарах не требуется специальной защиты стенок покрытия резервуаров. При хранении смазочных масел во избежание их загрязнения, внутренние поверхности резервуаров защищают различными покрытиями и облицовками. То же относится и к резервуарам для светлых легкоиспаряющихся нефтепродуктов, которые, обладая незначительной вязкостью, легко фильтруются через бетон. Кроме того, покрытие должно обладать повышенной герметичностью (газонепроницаемостью) с целью уменьшения потерь от испарения.

Железобетонные резервуары, кроме экономии металла, обладают еще рядом технологических преимуществ. При хранении в них подогретой вязкой нефти и нефтепродуктов медленнее происходит их остывание за счет малых потерь, а при хранении легкоиспаряющихся светлых нефтепродуктов уменьшаются потери от испарения, так как резервуары при подземной установке менее подвержены солнечному облучению.

 







Date: 2015-07-27; view: 2550; Нарушение авторских прав



mydocx.ru - 2015-2026 year. (1.188 sec.) Все материалы представленные на сайте исключительно с целью ознакомления читателями и не преследуют коммерческих целей или нарушение авторских прав - Пожаловаться на публикацию