Главная Случайная страница


Полезное:

Как сделать разговор полезным и приятным Как сделать объемную звезду своими руками Как сделать то, что делать не хочется? Как сделать погремушку Как сделать так чтобы женщины сами знакомились с вами Как сделать идею коммерческой Как сделать хорошую растяжку ног? Как сделать наш разум здоровым? Как сделать, чтобы люди обманывали меньше Вопрос 4. Как сделать так, чтобы вас уважали и ценили? Как сделать лучше себе и другим людям Как сделать свидание интересным?


Категории:

АрхитектураАстрономияБиологияГеографияГеологияИнформатикаИскусствоИсторияКулинарияКультураМаркетингМатематикаМедицинаМенеджментОхрана трудаПравоПроизводствоПсихологияРелигияСоциологияСпортТехникаФизикаФилософияХимияЭкологияЭкономикаЭлектроника






Пуск с помощью пускового реостата





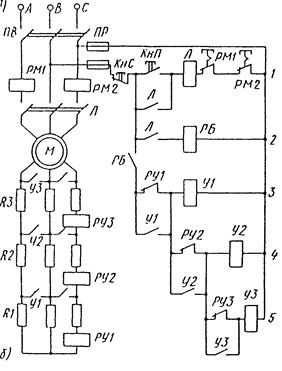
Пуск с помощью пусковогореостата применяется в двигателях с фазным ротором. Двигатели данного типа обладают очень хорошими пусковыми характеристиками. Для уменьшения пускового тока обмотка ротора замыкается на пусковой реостат через контактные кольца и щетки. Перед пуском двигателя нужно убедится в том, что сопротивление пускового реостата полностью введено.

При включенииреостата в цепь обмотки ротора, ток в этой обмотке уменьшается, а следовательно, уменьшается и токв обмотке статора, а также ток потребляемыйдвигателем из сети. Крометого, при включении активного сопротивления в цепь обмотки ротора увеличивается коэффициент мощности соsφ, а следовательно, и вращающиймомент,развиваемый двигателем при запуске. Таким образом, при включении активного сопротивления в цепь ротора уменьшается пусковой ток и увеличивается пусковой момент.

Пусковой реостат обычно имеет четыре - шесть позиций что позволяет а процессепуска постепенно уменьшать пусковое сопротивление, поддерживая высокоезначение пускового момента во все время разгона двигателя

После достижения ротором нормальной скорости реостат полностью выводится, т.е. обмотка ротора замыкается накоротко.

Отдельные ступени пускового реостата в процессе разгона двигателя могут, выключаться вручную или автоматически

Недостатком этого способа является относительная сложность пуска и необходимость применения более сложных и дорогих двигателей с фазным ротором. Кроме того, эти двигатели имеют несколько худшие рабочие характеристики, чем двигатели с короткозамкнутым ротором такой же мощности. В связи с этим двигатели с фазовым ротором применяют только при тяжелых условиях пуска (когда необходимо развивать максимально возможный пусковой момент), при малой мощности электрической сета или при необходимости плавного регулирования скорости вращения.







Date: 2015-07-27; view: 765; Нарушение авторских прав



mydocx.ru - 2015-2026 year. (0.655 sec.) Все материалы представленные на сайте исключительно с целью ознакомления читателями и не преследуют коммерческих целей или нарушение авторских прав - Пожаловаться на публикацию