Главная Случайная страница


Полезное:

Как сделать разговор полезным и приятным Как сделать объемную звезду своими руками Как сделать то, что делать не хочется? Как сделать погремушку Как сделать так чтобы женщины сами знакомились с вами Как сделать идею коммерческой Как сделать хорошую растяжку ног? Как сделать наш разум здоровым? Как сделать, чтобы люди обманывали меньше Вопрос 4. Как сделать так, чтобы вас уважали и ценили? Как сделать лучше себе и другим людям Как сделать свидание интересным?


Категории:

АрхитектураАстрономияБиологияГеографияГеологияИнформатикаИскусствоИсторияКулинарияКультураМаркетингМатематикаМедицинаМенеджментОхрана трудаПравоПроизводствоПсихологияРелигияСоциологияСпортТехникаФизикаФилософияХимияЭкологияЭкономикаЭлектроника






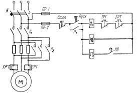
Пуск при пониженном напряжении





Пуск при пониженном напряжении применяется в асинхронных двигателях с короткозамкнутым ротором большой мощности, а также для двигателей средней мощности при недостаточно мощных электрических сетях.

Понижение напряжения достигают:

1) Переключением обмотки статора при пуске с нормальной схемы «треугольник» на пусковую схему «звезда».

В двигателях имеющих статорную обмотку соединённую по схеме “треугольник”, можно на время пуска эту обмотку включить на схему “звезда”.

В этом случае фазовое напряжение, подаваемое на обмотку статора, уменьшается в √3 раз, что обусловливает уменьшение фазовых токов в √3 раз и линейных токов в 3 раза. По окончании процесса пуска и разгона двигателя до номинальной скорости обмотку статора переключают обратно на “треугольник”. Такое переключение можно выполнить с помощью простого трёхполюсного переключателя или применить схему автоматизированного переключения. Недостатком этого способа является значительное снижение пускового момента (в 3 раза) поэтому его можно использовать только в тех случаях когда двигатель запускается только на холостом ходу. Кроме того этот способ применим только для двигателей имеющих рабочую схему “треугольник”.

2) Пуск с помощью активных или индуктивных сопротивлений

Этот осуществляется включением в цепь обмотки статора на период пуска добавочных активных или реактивных сопротивлений

При этом на указанных сопротивлениях создаются некоторые падения напряжения U, пропорциональные пусковому току, вследствие чего к обмотке статора будет приложено пониженное напряжение. По мере разгона двигателя уменьшается э. д. с., индуктированная в обмотке ротора, а следовательно, и пусковой ток. В результате этого уменьшается падение напряжения на указанных.сопротивлениях и возрастает приложенное к двигателю напряжение. Таким образом, при рассматриваемом способе пуска напряжение, приложенное к двигателю, автоматически растет по мере разгона ротора;

 

3) Подключением двигателя к сети через понижающий автотрансформатор.

Автотрансформаторный пуск, применяемая в тех случаях, когда момент сопротивления механизма при пуске значителен. Автотрансформатор может иметь несколько ступеней, которые в процессе пуска двигателя переключаются соответствующей аппаратурой. Преимуществом этой схемы в сравнении с другими пусками является больший пусковой момент при одинаковой степени снижения пускового тока Здесь вначале включаются контакторы Л и К, на зажимы АД подается пониженное.напряжение U2 автотрансформатора, и двигатель разгоняется. Затем контактор К отключается и АД оказывается включенным в сеть через индуктивное сопротивление части обмотки автотрансформатора. По истечении заданного промежутка времени включается шунтирующий контактор ШК и на двигатель подается полное напряжение сети U1

 

 

Недостатком всех указанных способов является значительное уменьшение пускового и максимального моментов двигателя, которые пропорциональны квадрату приложенного напряжения. Поэтому они могут применяться только при пуске двигателей без нагрузки.







Date: 2015-07-27; view: 705; Нарушение авторских прав



mydocx.ru - 2015-2026 year. (0.834 sec.) Все материалы представленные на сайте исключительно с целью ознакомления читателями и не преследуют коммерческих целей или нарушение авторских прав - Пожаловаться на публикацию