Главная Случайная страница


Полезное:

Как сделать разговор полезным и приятным Как сделать объемную звезду своими руками Как сделать то, что делать не хочется? Как сделать погремушку Как сделать так чтобы женщины сами знакомились с вами Как сделать идею коммерческой Как сделать хорошую растяжку ног? Как сделать наш разум здоровым? Как сделать, чтобы люди обманывали меньше Вопрос 4. Как сделать так, чтобы вас уважали и ценили? Как сделать лучше себе и другим людям Как сделать свидание интересным?


Категории:

АрхитектураАстрономияБиологияГеографияГеологияИнформатикаИскусствоИсторияКулинарияКультураМаркетингМатематикаМедицинаМенеджментОхрана трудаПравоПроизводствоПсихологияРелигияСоциологияСпортТехникаФизикаФилософияХимияЭкологияЭкономикаЭлектроника






Циклді резонансты үдеткіш





 

Үдеткіштің бұл пішінінде бөлшектерді басқарушы магнит өрісінің əсерінен траекториясы қисайып дөңгелек форманы қабылдайды немесе жарық спирал тəрізді болады да, үдетілген бөлшек бірнеше рет үдетілетін аралықпен өтеді. Бөлшектің үдетілетін екі аралықтағы уақыты, үдетуші өріс өзгерісінің периодына тең болады.

 

Циклдық резонанстық үдеткіштердің тəуелділік сипаты мынадай типтерге бөлінеді: а) циклотрон; б) фазатрон; в) син-хротрон; г) синхрофазатрон.

 

а) Циклотрон ауыр бөлшекті үдетуге арналған қондырғы. Циклотронды басқарушы магнит өрісі жəне үдететін жоғарғы жиілікті өріс жиілігі уақытқа байланысты өзгермей тұрақты болып қалады.

 

~ 280 ~


Ц иклотронды Э. Лоуренс өзінің ріптесі Ливингстонмен бірге
1931 жылдан бастап, 1932 жылы жаңа резонансты зарядталған
бөлшектер үдеткішін құрастырып іске қосты. Бұл үдеткіштің

сызықты үдеткіштен айырмашылығы ол циклді (сақ иналы) түрде үдеткен бөлшек, ү еткіштің екі электродының аралығынан

 

бірне е рет үдетіліп өтеді. Осындай циклді резон сты үдеткіш,
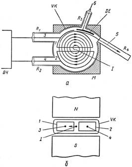
циклотрон деп аталады. Циклотрон сұлбасы 7.15-суретте
көрсетілген.  

 

 

7.15-сурет Магнит (М) полюстерінің арал ығында штрихталған (7.15а-

суретте) квадрат ішінде сопақш а вакуум камерасы VK
орналасқан, оның сыртқа шығып тұрған R1, R2, R3, R4, ұштары
бар. Камера ішінде жартылай сегм нт дуантэлект род 1 жəне 2
орналасқан. Дуант ж оғары жиілікті генератордың полюсіне 3
жəне 4 қосылған. Прибордың ортасына, яғни дуанттар
аралығындағы саңыл ауға иондар өзі (I) орналасқан. (7.15б-
суретте) вакуум камерасы жəне магнит полюстерінің
    ~ 281 ~    

аралығындағы дуанттар көрсетілген. Ион көзінен шыққан иондар магнит өрісінде Лоренц күшінің əсерінен шеңбер бойымен қозғалады. Шеңбер радиусы (r), жылдамдығы жарық жылдамдығынан көп кіші болса

               
             
яғни     c    
                 
                   
  m             e H    
             
    r         c (7.15.1)  
                 

 

мұндағы e, m, – шеңбер бойымен қозғалған бөлшектер

 

заряды массасы жəне жылдамдығы, Н – магнит өрісінің кернеуі. Онда бөлшек жылдамдығы

 

        e   rH        
    mc       (7.15.2)  
                   
Сызықтық жылдамдықтың бұрыштық жылдамдықпен  
байланысты                      
    r онда 2r (7.15.3)  
ол                      
  2 r e rH     eH   (7.15.4)  
  mc 2 mc  
               

 


Дуанттарға жоғары жиілікті генератордан айнымалы электр өрісін түсірсек, онда зарядталған бөлшектер осы өріс əсерінен бір дуанттан екінші дуантқа қарай қозғалады. Дуанттар арасындағы саңылаудан бір рет өткен соң, олардың жылдамдығы артады. Саңылауға дейінгіге қарағанда радиусы үлкен орбитада айналады, ол жылдамдық (7.15.3) формуламен анықталады. Дуант ішіндегі жарты айналым жүргеннен кейін бөлшек қайтадан дуант аралығындағы саңылауға түседі. Егер электр тербеліс

 

~ 282 ~


жиілігіне (7.15.4) формулаға келетін жиілікті таңдап алсақ, онда екінші рет саңылауға бөлшек келсе онда электр өріс бағыты қарама-қарсы бағытқа өзгереді. Бөлшек екінші рет саңылауға келгенде де бағыты біріншімен салыстырғанда қарама-қарсы бағытта болады жəне екінші рет келген бөлшек үдеуі сол бірінші келгендегідей болады. Осындай жағдай келесі айналымдарда да қайталанады. Сонымен саңылаудан өткен бөлшектер əр кезде оның электр өріс бағыты өзгеріп, яғни резонанс (циклотрондық резонанс) орындалады. Шеңбер бойындағы қозғалған электрондардың меншікті жиілігі радиусқа байланысты емес болғандықтан циклотрондағы резонанс шарты орындалуы мүмкін. Егер дуанттар арасындағы саңылаудан үдетілген зарядталған бөлшектер өткен кездегі потенциалдар айырымы U0 өткен бөлшектер саны к болса, онда циклотрондағы үдетілген бөлшектер санының энергиясы:

 

немесе Е ек (7.15.5)
  Е Е 0 e eU (7.15.6)

 

яғни, сызықты резонанcтық үдеткішке сəйкес келеді. Олай болса саңылаудан өткен əрбір электрон саны артса, онда энергияның өте үлкен мəніне жете аламыз.

 

Мысалы, U0=50000В, k=20 болса, онда Е=1Мэв, ал к=200 болса, Е=10Мэв; k=2000 болса, Е=100Мэв болады. Өте үлкен энергия алу үшін циклотронның өлшемін үлкейту керек.

 

Сонымен циклотрон ауыр бөлшектерді протон, дейтрон, α-бөлшегі жəне көп зарядты иондарды, жеңіл элемент атомдарын үдету үшін қолданылады. Əсіресе, энергиясы 100 Мэв бөлшектерді үдетуге өте ыңғайлы.

Циклотрон электронды үдеткенде жылдамдықтың өсуіне байланысты массасы шұғыл өсетін энергия облысы үшін қолдануға болмайды, олар тұрақты магнит өрісімен электр өрісі резонанста бола алмайды.

 

Барлық бөлшектер үшін   шама бірге тең болса,  
     
  c  
онда релятивистік жылдамдықтар   үшін жай циклотрондар  

~ 283 ~



жарамайды. Заядталған бөлшектерді үдету облысын кеңейту үшін жаңа үдетуші жүйе фазатрон, синхротрон жəне синхрофазотрон жасалды.

 

б) Фазатрон ауыр бөлшектерді үдетуге пайдаланады. Ол басқаратын тұрақты магнит өрісімен жұмыс істейді, ал үдететін жоғары жиіліктегі өріс жиілігі айнымалы (модульдеу) болады. Фазатрон релятивистік жылдамдықтағы бөлшектерді үдетуге мүмкіндігі бар. Ол ауыр бөлшек протонды 1000 Мэв энергияға дейін үдете алады. Мұндай энергия алу үшін оның орбита диаметрі 11,28 м құрауы керек.

в) Синхротрон электрондарды үдетуге арналған. Басқарушы магнит өрісі уақытқа байланысты айнымалы (артады), бірақ жоғарғы жиілікті үдететін өріс жиілігі тұрақты болады.

 

Электронды үдету үшін циклді резонанстық үдеткіш қолданылады. Ондағы жоғары жиілікті генератор тұрақты жиілікте болады, ал магнит өрісінде үдетілген электрондардың энергиясының артуына байланысты артады. Мұндай үдеткіш синхротрон деп аталады. Осындай үдеткіште электрондар энер-гиясы 2 Мэв-болғанда, жылдамдығы вакуумдегі жарық жылдамдығына жақын келеді, егер электрондарды осындай ра-диусы тұрақты орбитада ұстап тұрсақ, онда айналу жиілігі тұрақты болып қалады да, ол мына формуламен өрнектеледі:

 

e     c (7.15.17)  
  r  
       

 

Яғни, электрон жылдамдығы жарық жылдамдығына жақын болғандықтан, массасы ескерерліктей өзгереді. Масса энергияға байланысты сызықты түрде өседі, сонымен қатар электронда дөңгелек орбитада қозғалуға мəжбүр ететін, үдеткіштің магнит өріс кернеуі де артады. Үдеткіштің электроды айнымалы токпен қоректендіріледі, оның өзгеруі үдетілген электрондар энергиясының өзгеруіне сəйкес келеді. Синхротрондағы электронның максимал энергиясы:

 

Е 3 10 2 rH (7.15.18)

 

~ 284 ~


мұндағы, Н эрстед арқылы, r метрмен, Е мегаэлектронвольтпен өлшенеді.

 

Егер Н=104 э (эрстед), r = 1м болса, онда Е=300 Мэв болады. Синхротронды бір мезгілде бір-біріне байланыссыз В. И. Вексер (КСРО) мен Мак-Миллан (АҚШ) құрылысын ұсынды. Қазіргі кезде əртүрлі энергияда жұмыс істейтін синхро-трондар бар, оның ішінде бірнеше гигаэлектронвольт алатын


 

синхротрондар жасалды.

 

г) Синхрофазатрон протондарды үдетуге арналған, магнит өрісі уақытқа байланысты айнымалы (артады) жəне үдетуші өрісте айнымалы (азаяды) болады. Протондар энергиясы бірнеше миллиард электронвольтқа дейін үдетіледі.

 

Синхрофазатрон, синхротрон мен фазатрон қасиеттерін қосады да, үдететін электрөріс жиілігін жəне үдететін бөлшекті орбитада ұстап тұратын магнит өрісін бір мезгілде өзгертеді. Оның фазатроннан өзгешілігі үдетілетін бөлшектер барлық кезде радиусы өзгермейтін орбитада болады, əрі магнит өрісінің өсуі үдетілетін бөлшек энергиясының өсуіне сəйкес келеді.

Синхрофазатрон зарядталған ауыр бөлшектерді 1 ГэВ жоғары

энергияға дейін үдетуге арналған құрал. Протонның үдету
нəтижесінде оның жылдамдығы тұрақты, энергисы 4 ГэВ
(0,98 c ) электрондар осындай жылдамдыққа энергиясы

 

2 МэВ кезінде жетеді.

 

Сондықтан да орбита бойымен қозғалған протандарды жəне басқа ауыр бөлшектерді үдеткенде олардың айналым жиілігі энергияның өте үлкен диапазонында өзгереді, олай болса үдетуші кернеу жиілігін өзгерту өте қажет. Мұндай жиілікті өзгерту үшін синхрофазатронның электромагнитінің магнит өрісін өзгерту заңдылық бойынша қатаң сəйкестендірілуі керек.

 

 

~ 285 ~


 

7.16-сурет

 

7.16-суретте синхрофазатронның принципті сұлбасы көрсетілген. 1,2,3,4 – сақиналы магнит секциясы; 5,6,7,8 – үдетілген протондар қозғалатын вакуумдік камералардың қисық сызықтық бөлігі; 9,10,11,12 – үдеткішке берілетін протонды орбитаға алдын ала қосқыш (сызықты резонансты үдеткіш немесе Ван де Грааф үдеткіші) Суреттегі штрихпен көрсетілген. Бұл сызықты резонансты үдеткіш энергиясы 4 Мэв-ке тең бөлшектер шоғын береді. оны инжектор деп атаймыз. 14 – үдетілген бөлшектер шоғын нысанаға шығаратын камераның бөлігі. ЖЖ – үдетілетін аралыққа берілетін электр өрісінің жоғары жиілікті генераторы; 15,16 – вариоторлар, бұл жоғары жиілікті үдетуші өріс тербелісінің жиілігін үздіксіз өзгертіп отырады.

 

Осындай жоғарғы энергиялы үдеткіштер жасау нəтижесінде, физиктер қарапайым бөлшектерді зерттеу облысы үшін үлкен мүмкіндіктер алды. Осындай синхрофазатронмен Серпуховтағы ғалымдармен шетел (Франция), ғалымдары бірігіп нəтижелі жұмыс істеуде.

 

 

~ 286 ~








Date: 2015-07-24; view: 1814; Нарушение авторских прав



mydocx.ru - 2015-2026 year. (1.513 sec.) Все материалы представленные на сайте исключительно с целью ознакомления читателями и не преследуют коммерческих целей или нарушение авторских прав - Пожаловаться на публикацию