Главная Случайная страница


Полезное:

Как сделать разговор полезным и приятным Как сделать объемную звезду своими руками Как сделать то, что делать не хочется? Как сделать погремушку Как сделать так чтобы женщины сами знакомились с вами Как сделать идею коммерческой Как сделать хорошую растяжку ног? Как сделать наш разум здоровым? Как сделать, чтобы люди обманывали меньше Вопрос 4. Как сделать так, чтобы вас уважали и ценили? Как сделать лучше себе и другим людям Как сделать свидание интересным?


Категории:

АрхитектураАстрономияБиологияГеографияГеологияИнформатикаИскусствоИсторияКулинарияКультураМаркетингМатематикаМедицинаМенеджментОхрана трудаПравоПроизводствоПсихологияРелигияСоциологияСпортТехникаФизикаФилософияХимияЭкологияЭкономикаЭлектроника






Методы борьбы с шумом





Для борьбы с шумом в поме­щениях проводятся мероприятия как технического, так и ме­дицинского характера. Основными из них являются: • устранение причины шума, т. е. замена шумящего обо­рудования, механизмов на более современное нешумящее оборудование; • изоляция источника шума от окружающей среды (при­менение глушителей, экранов, звукопоглощающих строитель­ных материалов); • ограждение шумящих производств зонами зеленых на­саждений; • применение рациональной планировки помещений; • использование дистанционного управления при эксп­луатации шумящего оборудования и машин; • использование средств автоматики для управления и контроля технологическими производственными процессами; • использование индивидуальных средств защиты (беру-ши, наушники, ватные тампоны); • проведение периодических медицинских осмотров с прохождением аудиометрии; • соблюдение режима труда и отдыха; • проведение профилактических мероприятий, направ­ленных на восстановление здоровья. Интенсивность звука определяется по логарифмической шкале громкости. В шкале — 140 дБ. За нулевую точку шка­лы принят "порог слышимости" (слабое звуковое ощущение, едва воспринимаемое ухом, равное примерно 20 дБ), а за крайнюю точку шкалы — 140 дБ — максимальный предел громкости. Громкость ниже 80 дБ обычно не влияет на органы слу­ха, громкость от 0 до 20 дБ — очень тихая; от 20 до 40 — тихая; от 40 до 60 — средняя; от 60 до 80 — шумная; выше 80 дБ — очень шумная. Для измерения силы и интенсивности шума применяют различные приборы: шумомеры, анализаторы частот, корре­ляционные анализаторы и коррелометры, спектрометры и др. Принцип работы шумомера состоит в том, что микрофон преобразует колебания звука в электрическое напряжение, которое поступает на специальный усилитель и после усиле­ния выпрямляется и измеряется индикатором по градуиро­ванной шкале в децибелах. Анализатор шума предназначен для измерения спект­ров шумов оборудования. Он состоит из электронного полос­ного фильтра с шириной полосы пропускания, равной 1/3 октавы. Основными мероприятиями по борьбе с шумом являются рационализация технологических процессов с использовани­ем современного оборудования, звукоизоляция источников шума, звукопоглощение, улучшенные архитектурно-плани­ровочные решения, средства индивидуальной защиты.
 

На особо шумных производственных предприятиях ис­пользуют индивидуальные шумозащитные приспособления: антифоны, противошумные наушники (рис. 1.6) и ушные вкла­дыши типа "беруши". Эти средства должны быть гигиеничны­ми и удобными в эксплуатации.

В России разработана система оздоровительно-профилак­тических мероприятий по борьбе с шумом на производствах, среди которых важное место занимают санитарные нормы и правила. Выполнение установленных норм и правил контроли­руют органы санитарной службы и общественного контроля.

Оценка условий труда в производственных помещениях и на отдельных рабочих местах во многом зависит от интенсивности шума и его частотной характеристики.

Предупреждение образования значительного уровня звукового давления в условиях производства должно осуществляться на стадиях конструирования технологического оборудования, проектирования, строительства и эксплуатации предприятий, а также разработки технологических процессов.

Борьба с производственным шумом осуществляется методами, обозначенными четырьмя группами:

устранение причин шума в источнике его образования;

звукоизоляция;

звукопоглощение;

применение организационно-технических мероприятий.

Наиболее действенным способом борьбы с шумом является уменьшение его в источнике образования путем применения технологических и конструктивных мер, организацией правильной наладки и эксплуатации оборудования.

К конструктивным и технологическим мерам, позволяющим создать механизмы и агрегаты с низким уровнем шума, относят совершенствование кинематических схем за счет:

замены зубчатых передач клиноременными или цепными; изыскания наилучших конструктивных форм для безударного взаимодействия деталей и плавного обтекания их воздушными потоками;

изменения массы или жесткости элементов конструкции машин для уменьшения амплитуд колебания и устранения резонансных явлений;

применения материалов, обладающих способностью поглощать колебательную энергию;

замены возвратно-поступательного движения деталей на вращательное, подшипников качения - подшипниками скольжения;

использования прокладочных материалов, затрудняющих передачу колебаний от одних деталей к другим.


Звукоизоляция - это комплекс мероприятий по снижению уровня шума, проникающего в помещение извне.

Ослабление шума с помощью звукоизоляции осуществляют средствами, в основе которых лежит применение акустических материалов. Эффективность звукоизоляции характеризуют коэффициентом отражения, который численно равен доле энергии звуковой волны, отраженной от поверхности ограждения, изолирующего источник шума.

К наиболее распространенным средствам звукоизоляции относят:

применение звукоизолирующих кожухов и кабин; увеличение массы преграды;

разобщение легкой строительной конструкции сплошным воздушным промежутком на отдельные части;

устранение или уменьшение жестких связей между элементами разобщенной конструкции;

заполнение воздушного пространства в двойных легких перегородках звукопоглощающими материалами;

повышение воздухонепроницаемости преграды.

Звукоизолирующими кожухами закрывают наиболее шумные машины и механизмы, локализуя таким образом источник шума. Внутреннюю поверхность стенок кожуха рекомендуют облицовывать звукопоглощающим материалом.

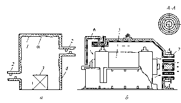
Для машин, выделяющих теплоту, кожухи снабжают вентиляционными устройствами с глушителями (рис. б).

Рис. Звукоизолирующий кожух: а - схема кожуха; б - конструкция кожуха с вентиляционным устройством; 1 - звукопоглощающий материал; 2, 6, 7 - каналы с глушителями для входа и выхода воздуха; 3, 5 - источник шума; 4 - стенка

Устанавливаемый кожух не должен жестко соединяться с механизмом. В противном случае кожух становится дополнительным источником шума.

Расчет звукоизолирующих свойств кожуха сводится к определению необходимой толщины его стенок, обеспечивающих нужное снижение шума.

В табл. приведена масса некоторых строительных конструкций и материалов.

Материалы и конструкции Толщина конструкций, мм Масса 1 м2, кг
Стальной лист    
Технический войлок    
Железобетон    
Пустотные пемзовые блоки    
Стена из шлакобетона    
Стена кирпичная толщиной:    
0,5 кирпича    
1 кирпича    
2 кирпича    
1,5 кирпича    
Перегородка из досок толщиной 2 см, оштукатуренных с двух сторон    
Перегородка из стоек толщиной 10 см, обшитых с двух сторон досками толщиной 2,5 см, оштукатуренная с двух сторон    
Перегородка из гипсовых пустотелых камней    
Стекло    

Для облегчения ограждающих конструкций без уменьшения звукоизолирующей способности применяют ограждения, состоящие из двух конструкций, разделенных воздушным промежутком. Воздушная прослойка создает упругое сопротивление передаче колебаний. Рекомендуемая ширина воздушной прослойки 3... 11 см. Такая конструкция обладает хорошими звукоизолирующими свойствами в области высоких частот.

При массе 1 м3 строительного материала конструкции до 100 кг вводят в зазор между раздельными панелями звукопоглощающий материал. При этом следует размещать его посередине зазора, где колебательная скорость частиц воздуха, а следовательно звукопоглощения, наибольшая.


Для увеличения массы легкой конструкции промежуток между двойными панелями (из досок, фанеры и т. п.) рекомендуют засыпать чистым речным песком или заполнять стекловатой. Конструкция такого типа может обеспечить звукоизоляцию до 40 дБ.

Необходимость заполнения воздушного пространства звукоизолирующими материалами зависит от массы стен. Для стен, выполненных из строительных материалов массой 1 м3 более 200 кг, воздушные пространства шириной 5... 10 см целесообразно оставлять незаполненными. В стенах с массой 1 м3 100... 200 кг мягкая прослойка прикрепляется к одной стороне. В перегородках массой 1 м3 до 30 кг вся воздушная прослойка заполняется каким-либо звукопоглотителем.

Звукопередача из одного помещения в другое происходит не только через преграду, разделяющую это помещение, но и через примыкающие боковые стены (продольная звукопередача).

Продольная звукопередача может быть значительной, когда к тяжелой ограждающей конструкции с хорошей звукоизолирующей способностью примыкают боковые стены, выполненные из легкого строительного материала.

Проникновение шума в помещение также происходит через щели и неплотности в дверях и перегородках. Даже небольшое отверстие в стене уменьшает ее звукоизолирующую способность в области высоких частот примерно на 10 дБ. Применение уплотняющих прокладок из резины увеличивает среднюю звукоизоляцию дверей и окон на 5... 8 дБ.

Звукопоглощение - это ослабление уровня шума, распространяющегося в помещении вследствие отражения энергии от облицовочных материалов ограждений, конструктивных частей оборудования.

Звукопоглощение характеризуют коэффициентом звукопоглощения, который представляет собой отношение энергии, поглощенной 1 м2 поверхности, к падающей на эту поверхность энергии.

Использовать звукопоглощение целесообразно, если коэффициент звукопоглощения материала не менее 0,2.

По эффективности метод звукопоглощения намного уступает звукоизоляции.

Звукопоглощение даже с весьма высоким коэффициентом поглощения может снизить уровень шума не более чем на 8... 10 дБ. Эффективная шумозащита требует совместного использования методов звукоизоляции и звукопоглощения.

В производственных цехах предприятий в качестве акустической обработки можно использовать плиты «Акмигран» различного типа с коэффициентом звукопоглощения 0,6. Этим достигается высокая эффективность в поглощении звуков высокой частоты.

Плитами «Акмигран» осуществляют облицовку потолка и верхней части стен с учетом того, чтобы общая площадь ее занимала не менее 60% всей площади стен и потолка помещения.

Кроме того, можно использовать звукопоглотители, представляющие собой объемные тела, заполненные звукопоглощающим материалом (рис.). Звукопоглотители располагают по периметру верхней части стен или развешивают равномерно к потолку на определенной высоте так, чтобы не влиять на освещение рабочих мест.


Рис. Штучные звукопоглотители

Снизить уровень шума от работы производственного оборудования можно с помощью локальных экранов. Экран представляет собой мягкую звукопоглощающую ленту, подвешенную к горизонтальной прокладке, которую крепят к вертикальным стойкам. Стойки делают стационарными или переносными. Звукопоглощающая лента состоит из брезентового материала, прикрепленной к нему простеганной ленты из стекловолокна, закрытого слоем стеклоткани, общей толщиной 40... 50 мм или супертонкого стекловолокна, оклеенного полиамидной пленкой марки АТМ-1. Размеры звукопоглощающей ленты выбирают по размерам оборудования.

На предприятиях, когда это возможно по условиям производства, а также для облицовки защитных камер применяют разработанную Ленинградским институтом охраны труда (ЛИОТ) конструкцию перфорированных облицовок с тканью. Эффективность звукопоглощения таких облицовок составляет около 10 дБ, что соответствует уменьшению громкости звука на 30... 50%.

Физическая сущность приведенных способов звукопоглощения заключается в том, что волокнистые пористые материалы плохо отражают звук. При падении на такой материал звуковой волны воздух, находящийся в порах, приводится в колебательное движение, которое резко тормозится большим сопротивлением, образующимся вследствие трения при его движении в мелких порах и каналах. На преодоление этого сопротивления и расходуется энергия звуковых волн. В результате отраженная волна сильно ослабевает.

Для ослабления распространения шума в обеденных залах ресторанов, кафе, столовых используют звукопоглощающие материалы современного дизайна.

Источником аэродинамического шума предприятий общественного питания является оборудование, обеспечивающее кондиционирование воздуха обеденных залов, вентиляционные системы производственных помещений, холодильное хозяйство и воздушное отопление (тепловая завеса входных дверей).

Уменьшения шума вентиляционных установок достигают хорошей балансировкой вентилятора, установкой его на одной оси с электродвигателем или на соответствующем амортизаторе в изолированные помещения. Распространение звука по воздуховодам предотвращают соединением эластичными вставками трубопровода с вентилятором.

Воздуховоды следует делать без крутых поворотов и резких изменений сечения, которые способствуют образованию завихрения и возникновению аэродинамического шума.

Для снижения шума различных аэродинамических установок и устройств применяют активные и реактивные глушители. Действие активных глушителей основано на принципе поглощения звуковой энергии звукопоглощающим материалом, а реактивные - отражают ее обратно к источнику.

Наиболее простым глушителем активного типа является трубчатый глушитель (рис. а), представляющий собой перфорированный стальной воздухопровод, поверхность которого покрывают слоем звукопоглощающего материала и защитным покрытием. Ослабление шума таким глушителем пропорционально коэффициенту поглощения пористого материала, длине облицованной им части и обратно пропорционально сечению канала. Так как затухание шума возрастает с уменьшением сечения канала, для сокращения длины глушителя на практике широко используют пластинчатые глушители (рис. б), которые собирают из отдельных секций, заполненных волокнистыми материалами.

Рис. Глушители аэродинамического шума: а - трубчатый; б - пластинчатый; 1 - перфорированный стальной воздуховод; 2 - звукопоглощающий материал; 3 - защитный кожух; 4 - звукопоглощающая пластина; 5 - каркас пластины; 6 - волокнистый материал; 7 - стальная сетка

Глушители реактивного типа применяют для снижения шума с резко выраженными составляющими.

Простейшие реактивные глушители - это глушители типа расширительных камер.

Организационно-технические мероприятия по борьбе с производственным шумом заключаются:

в правильной планировке цехов на территории предприятия;

рациональном размещении оборудования по степени шумности;

озеленении помещений широколиственными растениями, так как они способны хорошо поглощать звуки.

Хороший эффект по снижению шума достигается насаждением деревьев и кустарников на территории предприятия. Многорядовая посадка деревьев с разрывами интенсивнее поглощает звуковую энергию, чем плотная полоса без разрывов.

Если инженерно-техническими средствами не удается снизить уровень звукового давления до допустимого значения, используют индивидуальные средства защиты (наушники, антифоны и т. п.), при выборе которых необходимо учитывать такие факторы, как частотный спектр шума, требования санитарных норм по ограничению шума, удобство ношения при выполнении конкретной работы.

 

29. Действие электрического тока на организм человека.

Окружающая среда (природная, производственная и бытовая) таит в себе потенциальную опасность различного вида. Среди них — поражение электрическим током. С широким применением на производстве и в быту достижений научно-технического прогресса факторы этого риска возрастают, хотя современные электрические приборы и проходят аттестацию с точки зрения техники безопасности.

Опасность поражения электрическим током на производстве и в быту появляется при несоблюдении мер предосторожности, а также при отказе или неисправности электрического оборудования и бытовых приборов. Человек не может обнаружить без специальных приборов напряжение на расстоянии, оно выявляется лишь тогда, когда происходит прикосновение к токоведущим частям. По сравнению с другими видами производственного травматизма, электротравматизм составляет небольшой процент, однако по числу травм с тяжелым и особенно летальным исходом занимает одно из первых мест. На производстве из-за несоблюдения правил техники безопасности происходит 75% электропоражений.

Электрический ток представляет собой упорядоченное движение электрических зарядов. Сила тока в участке цепи прямо пропорциональна разности потенциалов, то есть напряжению на концах участка и обратно пропорциональна сопротивлению участка цепи.

Прикоснувшись к проводнику, находящемуся под напряжением, человек включает себя в электрическую цепь, если он плохо изолирован от земли или одновременно касается объекта с другим значением потенциала. В этом случае через тело человека проходит электрический ток.

Действие электрического тока на живую ткань носит разносторонний характер. Проходя через организм человека, электроток производит термическое, электролитическое, механическое, биологическое и световое воздействие.

При термическом действии происходит перегрев и функциональное расстройство органов на пути прохождения тока.

Электролитическое действие тока выражается в электролизе жидкости в тканях организма, в том числе крови, и нарушении ее физико-химического состава.

Механическое действие приводит к разрыву тканей, расслоению, ударному действию испарения жидкости из тканей организма. Механическое действие связано с сильным сокращением мышц вплоть до их разрыва.

Биологическое действие тока выражается в раздражении и перевозбуждении нервной системы.

Световое действие приводит к поражению глаз.

Характер и глубина воздействия электрического тока на организм человека зависит от силы и рода тока, времени его действия, пути прохождения через тело человека, физического и психологического состояния последнего. Так, сопротивление человека в нормальных условиях при сухой неповрежденной коже составляет сотни килоом, но при неблагоприятных условиях может упасть до 1 килоома.

Ощутимым является ток около 1 мА. При большем токе человек начинает ощущать неприятные болезненные сокращения мышц, а при токе 12-15 мА уже не в состоянии управлять своей мышечной системой и не может самостоятельно оторваться от источника тока. Такой ток называется неотпускающим. Действие тока свыше 25 мА на мышечные ткани ведет к параличу дыхательных мышц и остановке дыхания. При дальнейшем увеличении тока может наступить фибрилляция сердца.

Переменный ток более опасен, чем постоянный. Имеет значение то, какими участками тела человек касается токоведущей части. Наиболее опасны те пути, при которых поражается головной или спинной мозг (голова-руки, голова-ноги), сердце и легкие (руки-ноги). Любые электроработы нужно вести вдали от заземленных элементов оборудования (в том числе водопроводных труб, труб и радиаторов отопления), чтобы исключить случайное прикосновение к ним.







Date: 2015-07-23; view: 2453; Нарушение авторских прав



mydocx.ru - 2015-2026 year. (1.109 sec.) Все материалы представленные на сайте исключительно с целью ознакомления читателями и не преследуют коммерческих целей или нарушение авторских прав - Пожаловаться на публикацию