Главная Случайная страница


Полезное:

Как сделать разговор полезным и приятным Как сделать объемную звезду своими руками Как сделать то, что делать не хочется? Как сделать погремушку Как сделать так чтобы женщины сами знакомились с вами Как сделать идею коммерческой Как сделать хорошую растяжку ног? Как сделать наш разум здоровым? Как сделать, чтобы люди обманывали меньше Вопрос 4. Как сделать так, чтобы вас уважали и ценили? Как сделать лучше себе и другим людям Как сделать свидание интересным?


Категории:

АрхитектураАстрономияБиологияГеографияГеологияИнформатикаИскусствоИсторияКулинарияКультураМаркетингМатематикаМедицинаМенеджментОхрана трудаПравоПроизводствоПсихологияРелигияСоциологияСпортТехникаФизикаФилософияХимияЭкологияЭкономикаЭлектроника






Обслуживание системы охлаждения





· Заправка двигателя охлаждающей жидкостью производится через заливную горловину расширительного бачка. Перед заполнением системы охлаждения надо предварительно открыть кран системы отопления.

· Проверка уровня жидкости производится визуально на холодном двигателе. Нормальный уровень должен находится между отметками "MIN" и "МАХ" на боковой поверхности бачка.

· Для слива охлаждающей жидкости следует открыть сливные краны нижнего колена водяного трубопровода, теплообменника и насосного агрегата предпускового подогревателя, подводящей трубы отопителя кабины и отвернуть пробку расширительного бачка.

· Водяной насос (рис. Водяной насос) центробежного типа установлен на передней части блока цилиндров слева.

·

· Насос водяной: 1 — шкив; 2 — болт; 3, 10 — шайбы; 4, 6 — подшипники; 5 — пресс-масленка; 7 — манжета; 8 — уплотнительное кольцо с обоймой; 9 — вал; 11 — колпачковая гайка; 12 — упорное кольцо; 13 — уплотнение (сальник); 14 — крыльчатка; 15 — корпус; 16 — пылеотражатель.

· Вал 9 вращается в подшипниках 4 и 6 с односторонним резиновым уплотнителем. Для дополнительной защиты от проникновения охлаждающей жидкости в подшипники установлена резиновая манжета 7.

· Сальник 13 препятствует вытеканию охлаждающей жидкости из полости насоса. Сальник запрессован в корпус 15 насоса, а его графитовое кольцо постоянно прижато пружиной к упорному стальному кольцу 12. Между упорным кольцом и крыльчаткой 14 установлено уплотнительное резиновое кольцо 8 в тонкостенной латунной обойме. Высокое качество изготовления торцев графитового и упорного кольца обеспечивает надежное контактное уплотнение полости насоса.

· При эксплуатации периодически (при сезонном обслуживании) следует пополнять смазку Литол-24 с помощью пресс-масленки 5 до появления ее из контрольного отверстия.

· Для проверки исправности торцевого уплотнения в корпусе насоса имеется дренажное отверстие. Течь жидкости через это отверстие свидетельствует о неисправности уплотнения насоса. Закупорка отверстия не допускается, так как проводит к выходу из строя подшипников.

· Расширительный бачок 20 (рис. Схема системы охлаждения) установлен на двигателе КамАЗ с правой стороны по ходу автомобиля и соединен перепускной трубой 19 с входом водяного насоса, паровоздушной трубкой 1 с верхним бачком радиатора и трубкой 2 отвода жидкости из компрессора.

· Расширительный бачок служит для компенсации изменения объема охлждающей жидкости при ее расширении от нагревания, а также позволяет контролировать степень заполнения системы охлаждения и способствует удалению из нее воздуха и пара. Расширительный бачок изготовлен из полупрозрачного сополимера пропилена. На горловину бачка навинчивается пробка расширительного бачка 21 с клапанами впускным (воздушным) и выпускным (паровым).

· Выпускной клапан, нагруженный пружиной, поддерживает в системе охлаждения избыточное давление до 65 кПа (0,65 кгс/см2), впускной клапан, нагруженный более слабой пружиной, препятствует созданию в системе разряжения при остывании двигателя. Впускной клапан открывается и сообщает систему охлаждения с окружающей средой при разряжении в системе охлаждения 1-13 кПа (0,01-0,13 кгс/см2).

· Эксплуатация автомобиля без пробки расширительного бачка не допускается.

· Гидромуфта привода вентилятора (см. рис.) передает крутящий момент от коленчатого вала к вентилятору и гасит инерционные нагрузки, возникающие при резком изменении частоты вращения коленчатого вала. Гидромуфта расположена соосно с коленчатым валом.

·

· Гидромуфта привода вентилятора: 1 — передняя крышка; 2 — корпус подшипника; 3 — кожух: 4, 8, 13, 19 — шариковые подшипники; 5 — трубка корпуса подшипника; 6 — ведущий вал; 7 — вал привода гидромуфты; 9 — ведомое колесо; 10 — ведущее колесо; 11 — шкив привода генератора и жидкостного насоса; 12 — вал шкива; 14 — упорная втулка; 15 — ступица вентилятора; 16 — ведомый вал; 17, 20 — манжеты; 18 — прокладка; 21 — маслоотражатель.

· Передняя крышка 1 блока и корпус 2 подшипника соединены винтами и образуют полость, в которой установлена гидромуфта.

· Ведущий вал 6 в сборе с кожухом 3, ведущее колесо 10, вал 12 и шкив 11, соединенные болтами, составляют ведущую часть гидромуфты, которая вращается в шариковых подшипниках 8 и 19. Ведущая часть гидромуфты приводится во вращение от коленчатого вала через шлицевой вал 7. Ведомое колесо 9 в сборе с валом 16, на котором закреплена ступица 16 вентилятора, составляют ведомую часть гидромуфты, вращающуюся в шариковых подшипниках 4 и 13. Гидромуфта уплотнена резиновыми манжетами 17 и 20.


· На внутренних тороидальных поверхностях ведущего и ведомого колес отлиты радиальные лопатки. На ведущем колесе их 33, на ведомом 32. Межлопаточное пространство колес образует рабочую полость гидромуфты.

· Крутящий момент с ведущего колеса 10 гидромуфты на ведомое 9 передается при заполнении рабочей полости маслом. Частота вращения ведомой части зависит от количеств масла, поступающего в гидромуфту.

Включатель гидромуфты (см. рис.) управляет работой гидромуфты привода вентилятора. Через него масло поступает в гидромуфту. Включатель установлен в передней части двигателя на патрубке, подводящем охлаждающую жидкость к правому ряду цилиндров.

Включатель гидромуфты

Включатель имеет три фиксированных положения и обеспечивает работу вентилятора в одном из режимов:

  • автоматический - рычаг включателя установлен в положение "А" (рис. Положение включателя гидромуфты привода вентилятора). При повышении температуры охлаждающей жидкости, омывающей термосиловой датчик 7 (рис. Включатель гидромуфты), начинается плавление активной массы, находящейся в его баллоне, которая, увеличиваясь в объеме, перемещает поршень датчика и шарик 9. При температуре жидкости 86-90°С шарик 9 открывает масляный канал в корпусе включателя. Масло из главной магистрали двигателя по каналам в корпусе включателя, блоке и его передней крышке, трубке 5 (рис. Гидромуфта привода вентилятора) и каналам в ведущем валу поступает в рабочую полость гидромуфты. При этом крутящий момент от коленчатого вала передается крыльчатке вентилятора. При температуре охлаждающей жидкости ниже 86 °С шарик под действием возвратной пружины перекрывает масляный канал в корпусе, и подача масла в гидромуфту прекращается. При этом находящееся в гидромуфте масло через отверстие в кожухе 3 сливается картер двигателя и вентилятор отключается;

 

  • вентилятор отключен - рычаг выключателя установлен в положение "О" (рис. Положение включателя гидромуфты привода вентилятора); масло в гидромуфту не подается, при этом крыльчатка может вращатьсяс небольшой частотой под действием сил трения, возникающих при вращении подшипников и манжеты гидромуфты;
    вентилятор включен постоянно - рычаг включателя установлен в положение "П"; в этом случае масло в гидромуфту подается постоянно независимо от температуры охлаждающей жидкости, лопасти вентилятора вращаются постоянно с частотой приблизительно равной частоте вращения коленчатого вала двигателя.

 

Положение включателя гидромуфты привода вентилятора

Основной режим работы гидромуфты автоматический.

При отказе включателя гидромуфты в автоматическом режиме (характеризуется перегревом двигателя) необходимо включить гидромуфту в постоянный режим (установить рычаг включателя в положение "П") и при первой возможности устранить неисправность включателя.

Термостаты (см. рис. Термостат) с твердым наполнителем и прямым ходом клапана предназначены для автоматической регулировки теплового режима двигателя, размещены в коробке 16 (рис. Схема системы охлаждения), закрепленной на переднем торце правого ряда блока цилиндров.


Термостат

На холодном двигателе вход жидкости в радиатор перекрыт клапаном 5, а вход в перепускную трубу к водяному насосу открыт клапаном 1. Охлаждающая жидкость циркулирует минуя радиатор, что ускоряет прогрев двигателя.

При достижении температуры охлаждающей жидкости 80°С активная масса 10, заключенная в баллоне 9, плавится, увеличиваясь в объеме, и выдавливает шток 8. При этом баллон 9 перемещается вправо, открывая клапан 5, а клапан 1 закрывает вход жидкости в перепускную трубу к водяному насосу. Охлаждающая жидкость начинает циркулировать через радиатор. В диапазоне температур 80-93°С клапаны 1 и 5 открыты частично, охлаждающая жидкость проходит через радиатор и перепускную трубу на вход к насосу. При температуре 93°С клапан 5 открывается полностью, а клапан 1 закрывается, при этом вся жидкость циркулирует только через радиатор.

При снижении температуры охлаждающей жидкости до 80°С и ниже объем активной массы уменьшается и клапан 1 и 5 под действием пружин 4 и 2 термостата занимают первоначальное положение.

Контроль температуры охлаждающей жидкости в системе осуществляется по указателю на панели приборов.

При возрастании температуры в системе охлаждения до 98-104°С на щитке приборов загорается контрольная лампа аварийного перегрева охлаждающей жидкости.

Регулировку натяжения ремней привода генератора и водяного насоса выполнить следующим образом:

  • ослабить гайки крепления передней и задней лап генератора, болт 2 (см. рис.) крепления планки и болт 1;
  • переместив генератор, натянуть ремни;
  • затянуть болт 1, болт 2 крепления планки, гайки крепления передней и задней лап генератора.

После регулировки должно быть проверено натяжение: правильно натянутый ремень при нажатии на середину наибольшей ветви с усилием 40 Н (4 кгс) должен иметь прогиб 15-22 мм.

Схема проверки натяжения ремней: 1 — регулировочный болт; 2 — болт крепления планки; 3 — генератор; 4 — ремень; 5 — шкив водяного насоса; 6 — шкив гидромуфты.

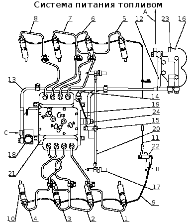
Система питания топливом обеспечивает очистку топлива и равномерное распределение его по цилиндрам двигателя дозированными порциями и в строго определенные моменты времени.

Система питания двигателя топливом: 1...8 — трубки топливные высокого давления; 9 — трубка топливная дренажная форсунок левых головок; 10 — форсунка; 11 — трубка топливная дренажная форсунок правых головок; 12 — трубка топливная отводящая ТНВД; 13 — трубка отводящая топливного насоса; 14 — трубка топливная подводящая ТНВД; 15 — клапан ЭФУ; 16 — фильтр тонкой очистки топлива; 17 — свеча факельная; 18 — топливоподкачивающий насос; 19 — трубка подвода топлива к клапану ЭФУ; 20 — трубка топливная от магнитного клапана к штифтовым свечам; 21 — ТНВД; 22 — тройник; 23 — клапан-жиклер; 24 — перепускной клапан ТНВД; А, В - слив топлива в бак; С - подвод топлива от фильтра грубой очистки топлива.


На двигателях КамАЗ применена система питания топливом разделенного типа, состоящая из ТНВД мод. типа 337 с регулятором частоты вращения, топливоподкачивающим насосом, форсунок, фильтров грубой и фильтров тонкой очистки, насоса предпусковой прокачки, топливных трубок высокого и низкого давления, электромагнитного клапана и факельных свечей ЭФУ.

Фильтр грубой очистки топлива и насос предпусковой прокачки топлива должны быть установлены в системе питания топливом объекта, на котором применяется двигатель.

Топливо из бака подается через фильтр грубой очистки и насос предпусковой прокачки 18 топливоподкачивающим насосом в фильтр 16 тонкой очистки. Из фильтра тонкой очистки по топливной трубке низкого давления 14 топливо поступает в ТНВД 21, который в соответствии с порядком работы цилиндров распределяет топливо по трубкам 1-8 высокого дав ления к форсункам 10. Форсунки впрыскивают топливо в камеры сгорания. Избыточное топливо, а вместе с ним попавший в систему воздух через перепускной клапан ТНВД 24 по трубке 12 и клапан - жиклер 23 фильтра тонкой очистки отводится в топливный бак.

Топливные трубки подразделяются на топливные трубки низкого давления - 0,4-2 МПа (4-20 кгс/см2) и высокого давления более 20 МПа (200 кгс/см2).

Топливопроводы низкого давления изготовлены из стальной трубы сечением 10x1 мм с припаянными наконечниками.

Топливные трубки высокого давления равной длины (1 = 615 мм), изготовлены из стальных трубок внутренним диаметром 2+0,05 мм путем высадки на концах соединительных конусов с обжимными шайбами и накидными гайками для соединения со штуцерами ТНВД и форсунок.

Во избежание поломок от вибрации, топливные трубки дополнительно закреплены скобами к впускным коллекторам.

Форсунка (см. рис. Форсунка) закрытого типа, с пятисопловым распылителем и гидравлическим управлением подъёма иглы мод. 273-31 для двигателя КамАЗ 740. 11-240. мод. 273-21 с распылителем ЯЗДА или мод. 273-51 с распылителем Bosch для двигателей 740. 13-260 и 740.14-300. Все детали форсунки собраны в корпусе 6. К нижнему торцу корпуса форсунки гайкой 2 присоединены проставка 3 и корпус 1 распылителя внутри которого находится игла 12. Корпус и игла распылителя составляют прецизионную пару.

Распылитель имеет пять распыливающих отверстий. Проставка 3 и корпус 1 зафиксированы относительно корпуса 6 штифтами 4. Пружина 11 одним концом упирается в штангу 5, которая передает усилие на иглу распылителя, другим - в набор регулировочных шайб 9, 10.

Форсунка

Топливо к форсунке подается под высоким давлением через штуцер 8 со встроенным в него щелевым фильтром 13, далее по каналам корпуса 6, проставки 3 и корпуса распылителя 1 - в полость между корпусом распылителя и иглой 12 и, поднимая ее, впрыскивается в цилиндр.

Просочившееся через зазор между иглой и корпусом распылителя топливо, отводится через каналы в корпусе форсунки и сливается в бак через сливные дренажные трубки 9 и 11 (см. рис. Система питания двигателя топивом). Форсунка установлена в головке цилиндра и закреплена скобами. Торец гайки распылителя уплотнен от прорыва газов гофрированной медной прокладкой. Уплотнительное кольцо 7 предохраняет полость между форсункой и головкой цилиндра от попадания пыли и воды.

Внимание! Проверку и регулировку форсунок, а также замену распылителей необходимо проводить в специализированной мастерской и квалифицированным специалистом.

Ввиду возможности выхода из строя двигателя категорически запрещается установка распылителей других моделей, кроме оговоренных в руководстве.

На двигатель 740. 11-240 допускается установка форсунок мод. 273-21 и 273-51 применяемых на двигателях 740. 13.-260 и 740.14-300.

ТНВД (см. рис. ТНВД) предназначен для подачи в цилиндры двигателя в определенные моменты времени строго дозированных порций топлива под высоким давлением.

ТНВД: 1 — корпус; 2 — толкатель; 3 — пружина толкателя; 4 — поворотная втулка; 5, 41 — рейка; 6 — корпус секции ТНВД; 7 — плунжер; 8 — втулка плунжера; 9 — корпус нагнетательного клапана; 10 — нагнетательный клапан; 11 — штуцер; 12 — прокладка; 13 — насос топливоподкачивающий; 14, 17 — крышка регулятора задняя; 15 — толкатель; 16 — сухарь ведущего зубчатого колеса регулятора; 18, 33 — регулировочные прокладки; 19 — державка грузов; 20 — ось груза; 21 — упорный подшипник; 22 — груз; 23 — муфта грузов; 24 — палец; 25 — возвратная пружина рычага останова; 26 — корректор; 27 — верхняя крышка регулятора; 28 — рычаг пружины регулятора; 29 — перепускной клапан; 30 — втулка рейки ТНВД; 31 — пробка рейки; 32 — муфта опережения впрыскивания топлива; 34 — подшипник; 35 — кулачковый вал; 36 — ведущее зубчатое колесо регулятора; 37 — фланец; 38 — эксцентрик привода насоса топливоподкачивающего; 39 — рычаг стартовой пружины; 40 — главная пружина регулятора; 42 — стартовая пружина; 43 — рычаг реек; 44 — рычаг регулятора; 45 — рычаг муфты грузов; 46 — ось; 47, 48 — шайбы регулировочные; 49 — сухарь.

На двигатель 740. 11-240 устанавливается ТНВД мод. 337-40 с диаметром плунжера - 11 мм и ходом плунжера - 13 мм, корпусом ТНВД усиленной конструкции с туннелем под кулачковый вал увеличенного диаметра и усиленными подшипниками, нагнетательным клапаном — повышенной пропускной способности диаметром 7 мм. ТНВД укомплектованавтоматической муфтой опережения впрыскивания топлива (АМОВТ) с номинальным углом разворота ведомой полумуфты относительно ведущей - 1°.

На двигатель 740. 14-300 устанавливается ТНВД мод. 337-80.01 с диаметром плунжера - 1мм и ходом плунжера - 13 мм. ТНВД укомплектован АМОВТ с номинальным углом разворота ведомой полумуфты относительно ведущей - 4°30.

На двигатель 740. 13-260 устанавливается ТНВД мод.337-42 с диаметром плунжера 11 мм и ходом плунжера 13 мм. ТНВД без АМОВТ.

В корпусе ТНВД 1 установлены восемь секций, которые состоят из корпуса 6, втулки 8 плунжера, плунжера 7, поворотной втулки 4, нагнетательного клапана 10, прижатого к втулке плунжера штуцером 11 через уплотнительную прокладку 12. Плунжер совершает возвратно- поступательное движение под действием кулачка вала 35 и пружины 3. Толкатель от проворачивания в корпусе зафиксирован сухарем 49. Кулачковый вал вращается в роликовых подшипниках 34, установленных в крышках и прикрепленных к корпусу насоса. Осевой зазор кулачкового вала регулируется прокладками 33. Зазор должен быть не более 0,1 мм.

Для увеличения подачи топлива плунжер 7 поворачивают втулкой 4, соединенной через ось поводка с рейкой 5 насоса. Рейка перемещается в направляющих втулках 30. Выступающий ее конец закрыт пробкой 31. С противоположной стороны насоса находится болт 48, регулировки подачи топлива всеми секциями насоса, болт закрыт пробкой и запломбирован.

Топливо к насосу подводится через специальный штуцер, к которому болтом прикреплена трубка низкого давления 14 (см. рис. Система питания двигателя топливом). Далее к каналам в корпусе топливо поступает к впускным отверстиям втулок 8 плунжеров. На переднем торце корпуса в месте выхода топлива из насоса, установлен перепускной клапан 29, который обеспечивает давление в линии низкого давления на рабочих режимах 0,13-0,19 МПа (1,3-1,9 кгс/см2). Давление открытия клапана регулируется подбором регулировочных шайб 50 внутри пробки клапана.

Смазывание насоса циркуляционное, пульсирующее, под давлением от общей смазочной системы двигателя.

Внимание! Проверку и регулировку ТНВД, а также замену плунжерных пар, уплотнительных прокладок секций ТНВД необходимо проводить в специализированной мастерской и квалифицированным специалистом.

Категорически запрещается установка моделей ТНВД не соответствующих данной модели двигателя, из-за ухудшения качества рабочего процесса двигателя, повышения выброса вредных веществ с отработавшими газами, дымности отработавших газов и во избежание преждевременного выхода двигателя из строя. Регулятор частоты вращения — всережимный, прямого действия, изменяет количество топлива, подаваемого в цилиндры, в зависимости от нагрузки, поддерживая заданную частоту вращения коленчатого вала.

Регулятор установлен в развале корпуса ТНВД.

ТНВД: 1 — корпус; 2 — толкатель; 3 — пружина толкателя; 4 — поворотная втулка; 5, 41 — рейка; 6 — корпус секции ТНВД; 7 — плунжер; 8 — втулка плунжера; 9 — корпус нагнетательного клапана; 10 — нагнетательный клапан; 11 — штуцер; 12 — прокладка; 13 — насос топливоподкачивающий; 14, 17 — крышка регулятора задняя; 15 — толкатель; 16 — сухарь ведущего зубчатого колеса регулятора; 18, 33 — регулировочные прокладки; 19 — державка грузов; 20 — ось груза; 21 — упорный подшипник; 22 — груз; 23 — муфта грузов; 24 — палец; 25 — возвратная пружина рычага останова; 26 — корректор; 27 — верхняя крышка регулятора; 28 — рычаг пружины регулятора; 29 — перепускной клапан; 30 — втулка рейки ТНВД; 31 — пробка рейки; 32 — муфта опережения впрыскивания топлива; 34 — подшипник; 35 — кулачковый вал; 36 — ведущее зубчатое колесо регулятора; 37 — фланец; 38 — эксцентрик привода насоса топливоподкачивающего; 39 — рычаг стартовой пружины; 40 — главная пружина регулятора; 42 — стартовая пружина; 43 — рычаг реек; 44 — рычаг регулятора; 45 — рычаг муфты грузов; 46 — ось; 47, 48 — шайбы регулировочные; 49 — сухарь.

На кулачковом валу наcoca размещено ведущее зубчатое колесо 36 регулятора, вращение которому передается через резиновые сухари 16. Ведомое зубчатое колесо выполнено как одно целое с державкой грузов, вращающейся на двух шариковых подшипниках. При вращении державки грузы 22, качающиеся на осях 20, под действием центробежных сил расходятся и через упорный подшипник 21 перемещают муфту 23.

Муфта, упираясь в палец 24, в свою очередь, перемещает рычаг муфты грузов 45. Один конец рычага закреплен на оси 46, а другой через штифт соединен с рейкой топливного насоса. Рычаг 11 (рис. Схема работы регулятора частоты вращения) управления регулятором жестко связан с рычагом 7. К рычагу 7 присоединена пружина 8, к рычагам 9 и 6 - стартовая пружина 10.

Схема работы регулятора частоты вращения: 1 — рейка ТНВД; 2 — рычаг муфты грузов; 3 — державка; 4 — регулировочный болт подачи топлива; 5 — рычаг регулятора; 6 — рычаг реек; 7 — рычаг пружины; 8 — пружина регулятора; 9 — рычаг стартовой пружины; 10 — стартовая пружина; 11 — рычаг управления регулятором.

Во время работы регулятора центробежные силы грузов уравновешены усилием пружины 8. При увеличении частоты вращения коленчатого вала грузы, преодолевая сопротивление пружины 8, перемещают рычаг 2 муфты грузов с рейкой ТНВД - подача топлива уменьшается. При понижении частоты вращения коленчатого вала центробежная сила грузов уменьшается, и рычаг 2 с рейкой ТНВД под действием усилия пружины перемещается в обратном направлении - подача топлива и частота вращения коленчатого вала увеличиваются.

Подача топлива прекращается поворотом рычага 3 (рис. Крышка регулятора ТНВД) останова двигателя до упора в болт 6. При этом рычаг 3, преодолев усилие пружины 8 (рис. Схема работы регулятора частоты вращения), через штифт 47 (рис. ТНВД) повернет рычаги 2 и 5, рейка переместится до полного прекращения подачи топлива.

Крышка регулятора ТНВД: 1 — рычаг управления регулятором; 2 — болт ограничения минимальной частоты вращения; 3 — рычаг останова двигателя: 4 — пробка заливного отверстия; 5 — болт регулировки пусковой подачи; 6 — болт ограничения хода рычага останова; 7 — болт ограничения максимальной частоты вращения; А — работа; В — включено.

При снятии усилия с рычага останова двигателя он под действием пружины 25 (рис. ТНВД) возвратиться в рабочее положение.

Автоматическая муфта опережения впрыскивания топлива мод. 333 для двигателя 740. 11-240 и мод. 333-60 для двигателя 740. 14-300 (рис. Автоматическая муфта опережения впрыскивания топлива) изменяет начало подачи топлива в зависимости от частоты вращения коленчатого вала двигателя. Муфта устанавливает оптимальное для рабочего процесса начало подачи топлива во всем диапазоне скоростных режимов.

Этим обеспечивается допустимый уровень выбросов вредных веществ с отработавшими газами, приемлемые экономичность и жесткость процесса при различных скоростных режимах работы двигателя.

Автоматическая муфта опережения впрыскивания топлива: 1 — ведущая полумуфта; 2, 4 — манжета; 3 — втулка ведущей полумуфты; 5 — корпус; 6 — регулировочные прокладки; 7 — стакан пружины; 8 — пружина; 9, 15 — шайба; 10 — стопорное кольцо; 11 — груз с пальцем; 12 — проставка; 13 — ведомая полумуфта; 14 — уплотнительное кольцо; 16 — ось грузов.

На двигателях мод. 740.11-240 и 740.14-300 применена муфта опережения впрыскивания повышенной энергоемкости с посадочным конусом 25 мм.

Ведомая полумуфта 13 закреплена на конической поверхности переднего конца кулачкового вала ТНВД шпонкой и гайкой с шайбой, ведущая полумуфта 1 — на ступице ведомой (может поворачиваться на ней). Между ступицей и полумуфтой установлена втулка 3. Грузы 11 качаются на запрессованных в ведомую полумуфту осях 16 в плоскости, перпендикулярной оси вращения муфты. Проставка 12 ведущей полумуфты упирается одним концом в палец груза, другим - в профильный выступ. Пружина 8 стремиться удержать груз в положении упора во втулку 3 ведущей полумуфты.

При повышении частоты вращения коленчатого вала двигателя (кулачкового вала ТНВД) грузы под действием центробежных сил расходятся, вследствие чего ведомая полумуфта поворачивается относительно ведущей в направлении вращения кулачкового вала, что вызывает увеличение угла опережения впрыскивания топлива. При понижении частоты вращения коленчатого вала (кулачкового вала ТНВД) грузы под действием пружин сходятся, ведомая полумуфта поворачивается вместе с валом насоса в сторону, противоположную направлению вращения вала, что вызывает уменьшение угла опережения впрыскивания топлива.

ПриводТНВД усиленной конструкции (рис. Установка угла опережения впрыска топлива двигателей 740 .11 -240 и 740.14-300 или Установка угла опережения впрыска топлива двигателей 740.13-260 без муфты опережения впрыскивания топлива).

Установка угла опережения впрыска топлива двигателей 740.13-260 без муфты опережения впрыскивания топлива: 1 — корпус ТНВД; 2 — полумуфта ведомая; 3 — фланец ведомой полумуфты; 4, 8 — набор пластин; 5 — фланец центрирующий; 6 — втулка центрирующая; 7 — вал привода; 9 — полумуфта ведущая; 10 — стяжной болт; 1 — шпонка; 12 — болт ведомой полумуфты.

Установка угла опережения впрыскивания топлива двигателей мод. 740.11-240 и 740.14-300: 1 — корпус ТНВД; 2 — автоматическая муфта опережения впрыскивания топлива; 3 — полумуфта ведомая; 4 — вал приода; 5 — полумуфта ведущая; 6 — стяжной болт; 7 — шпонка; 8 — фланец центрирующий; 9 — втулка центрирующая; 10, 11 — набор пластин.

В приводе устанавливается по 5 пластин задних и передних толщиной 0,5 мм каждая, изготовленных из стали 65 Г.

Все болты в приводе ТНВД должны быть класса прочности R100 и заворачиваться с крутящим моментом 6,5-7,5 кгс.м. Затяжку всех болтов необходимо проконтролировать диометрическим ключом. Перед установкой болтов проверить наличие центрирующих втулок.

Внимание! Шайбы пружинные устанавливаются только под гайки крепления пластин к полумуфте ведомой.

Деформация (изгиб) передних и задних пластин не допускается. Стяжной болт ведущей полумуфты привода ТНВД затягивается в последнюю очередь.

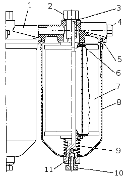
Фильтр тонкой очистки топлива (см. рис. Фильтр тонкой очистки) окончательно очищает топливо перед поступлением в ТНВД. Он установлен в самой высокой точке системы питания топливом для сбора и удаления в бак воздуха вместе с частью топлива, через клапан - жиклер, установленный в корпусе фильтра. При давлении в полости подвода топлива 25-45 кПа (0,25-0,45 кгс/см2) происходит сдвиг клапана, а при давлении 200-240 кПа (2-2,4 кгс/см2) клапан полностью открывается, обеспечивая перепуск топлива в бак.

Фильтр тонкой очистки топлива: 1 — крышка; 2 — болт; 3 — уплотнительная шайба; 4 — пробка; 5, 6 — прокладки; 7 — фильтрующий элемент; 13 — пружина фильтрующего элемента; 10 — пробка сливного отверстия; 11 — стержень.

Внимание! При замене фильтрующих элементов необходимо строго соблюдать правила обслуживания системы питания топливом. Не допускается попадание загрязнений в систему питания двигателя топливом. Необходимо применять в фильтре тонкой очистки топлива фильтрующие элементы только разрешенных моделей, а именно: 740.1117040-01, 740.1117040-02, 740.1117040-04.

Топливоподкачивающий насос 13 (рис. ТНВД) поршневого типа, предназначен для подачи топлива от бака через фильтры грубой и тонкой очистки к впускной полости THBД.

Насос установлен на задней крышке регулятора, привод его осуществляется от эксцентрика кулачкового вала ТНВД. В корпусе насоса размещены: поршень, пружина поршня, втулка штока и шток толкателя, впускной и нагнетательный клапаны с пружинами. Эксцентрик кулачкового вала ТНВД через ролик, толкатель 15 и шток сообщает поршню топливного насоса низкого давления возвратно-поступательное движение.

Топливоподкачивающий насос повышенной производительности без ручного насоса

Схема работы насоса показана на рис. Схема работы топливного насоса низкого давления и насоса предпусковой прокачки топчива. При опускании толкателя поршень 10 под действием пружины 4 движется вниз. В полости А создается разрежение и впускной клапа 3, сжимая пружину 2, пропускает в полость топливо. Одновременно топливо, находящееся в нагнетающей полости В, вытесняется в магистраль, минуя нагнетательный клапан 8, соединенный каналами с обеими полостями. В свободном положении нагнетательный клапан закрывает канал всасывающей полости.

Схема работы топливного насоса низкого давления и насоса предпусковой прокачки топлива

При движении поршня 10 вверх топливо, заполняющее полости через нагнетательный клапан поступает в полость В под поршнем, при этом впускной клапан закрывается. При повышении давления в нагнетательной магистрали поршень не совершает полного хода вслед за толкателем, а остается в положении, которое определяется равновесием силы давления топлива с одной стороны, усилия пружины - с другой.

Насос предпусковой прокачки топлива поршневого типа служит для заполнения топливной системы топливом перед пуском двигателя и удаления из нее воздуха.

Насос устанавливается в топливной системе изделия. Насос состоит из корпуса, поршня, цилиндра, рукоятки в сборе со штоком, опорной тарелки и уплотнения.

Топливную систему следует прокачивать насосом предпусковой прокачки топлива. При движении вверх, в пространстве под поршнем создается разрежение. Впускной клапан 11 (рис. Схема работы топливного насоса низкого давления и насоса предпусковой прокачки топлива), сжимая пружину 2, открывается и топливо поступает в полость насоса. При движении рукоятки вниз нагнетательный клапан 13 открывается, и топливо под давлением поступает в нагнетательную магистраль, обеспечивая удаление воздуха из топливной системы двигателя через клапан-жиклер ФТОТ и перепускной клапан ТНВД.

Схема работы топливного насоса низкого давления и насоса предпусковой прокачки топлива

После прокачивания системы необходимо опустить рукоятку и зафиксировать ее поворотом по часовой стрелке. При этом поршень прижмется к резиновой прокладке, уплотнив всасывающую полость топливного насоса низкого давления.







Date: 2015-07-23; view: 1036; Нарушение авторских прав



mydocx.ru - 2015-2026 year. (0.489 sec.) Все материалы представленные на сайте исключительно с целью ознакомления читателями и не преследуют коммерческих целей или нарушение авторских прав - Пожаловаться на публикацию