Главная Случайная страница


Полезное:

Как сделать разговор полезным и приятным Как сделать объемную звезду своими руками Как сделать то, что делать не хочется? Как сделать погремушку Как сделать так чтобы женщины сами знакомились с вами Как сделать идею коммерческой Как сделать хорошую растяжку ног? Как сделать наш разум здоровым? Как сделать, чтобы люди обманывали меньше Вопрос 4. Как сделать так, чтобы вас уважали и ценили? Как сделать лучше себе и другим людям Как сделать свидание интересным?


Категории:

АрхитектураАстрономияБиологияГеографияГеологияИнформатикаИскусствоИсторияКулинарияКультураМаркетингМатематикаМедицинаМенеджментОхрана трудаПравоПроизводствоПсихологияРелигияСоциологияСпортТехникаФизикаФилософияХимияЭкологияЭкономикаЭлектроника






Поршень с шатуном





Поршень с шатуном (рис. Поршень с кольцами в сборе с шатуном) соединены пальцем 3 плавающего типа, его осевое перемещение ограничено стопорными кольцами 6. Палец изготовлен из хромоникелевой стали, диаметр отверстия 22 мм. Применение пальцев с отверстием 25 мм недопустимо, так как это нарушает балансировку двигателя.

 

 

Компрессионные кольца (рис. Поршень с кольцами в сборе с шатуном) изготавливаются из высокопрочного, а маслосъемное из серого чугунов. На двигателе 740. 11 форма поперечного сечения компрессионных колец односторонняя трапеция, при монтаже наклонный торец с отметкой "верх" должен располагаться со стороны днища поршня. На двигателях 740. 13 и 740.14 верхнее компрессионное кольцо имеет форму сечения двухсторонней трапеции с выборкой на верхнем торце, который должен располагаться со стороны днища поршня.

Поршень с шатуном и кольцами в сборе: 1 — поршень; 2 — маслосъемное кольцо; 3 — поршневой палец; 4, 5 — компрессионные кольца; 6 — стопорное кольцо.

Рабочая поверхность верхнего компрессионного кольца 4 покрыта молибденом и имеет бочкообразную форму. На рабочую поверхность второго компрессионного 5 и маслосъемного колец 2 нанесен хром. Ее форма на втором кольце представляет собой конус с уклоном к нижнему торцу, по этому характерному признаку кольцо получило название "минутное". Минутные кольца применены для снижения расхода масла на угар, их установка в верхнюю канавку не допустима.

 

 

Маслосъемное кольцо коробчатого типа с пружинным расширителем, имеющим переменный шаг витков и шлифованную наружную поверхность. Средняя часть расширителя с меньшим шагом витков при установке на поршень должна располагаться в замке кольца. На двигателе модели 740. 11 высота кольца - 5 мм а на двигателях 740. 13 и 740.14 высота кольца 4 мм.

Установка поршневых колец с других моделей двигателей КАМАЗ может привести к увеличению расхода масла на угар.

Для исключения возможности применения не взаимозаменяемых деталей цилиндро-поршневой группы при проведении ремонтных работ рекомендуется использовать ремонт-комплекты:

  • 7405.1000128-42 - для двигателя 740.11-240;
  • 740.13.1000128 и 740.30-1000128 - для двигателей 740.13-260 и 740.14-300.

В ремонтный комплект входят:

  • поршень;
  • поршневые кольца;
  • поршневой палец;
  • стопорные кольца поршневого пальца;
  • гильза цилиндра;
  • уплотнительные кольца гильзы цилиндра.

· Форсунки охлаждения (рис. Установка гильзы и форсунка охлаждения поршня) устанавливаются в картерной части блока цилиндров и обеспечивают подачу масла из главной масляной магистрали при достижении в ней давления 0,8 - 1,2 кг/см2 (на такое давление отрегулирован клапан, расположенный в каждой из форсунок) во внутреннюю полость поршней.

· При сборке двигателя КамАЗ необходимо контролировать правильность положения трубки форсунки относительно гильзы цилиндра и поршня Контакт с поршнем недопустим.

Механизм газораспределения (рис. Механизм газораспределения) предназначен для обеспечения впуска в цилиндры свежего воздушного заряда и выпуска из них отработавших газов. Впускные и выпускные клапаны открываются и закрываются в определенных положениях поршня, что обеспечивается совмещением меток на шестернях привода агрегатов при их монтаже.

Механизм газораспределения: 1 — головка цилиндра; 2 — втулка направляющая; 3 — шайба пружин клапана; 4, 5 — пружины клапана; 6 — манжета клапана; 7 — шайба; 8 — болт крепления головки; 9 — тарелка пружин; 10 — втулка тарелки пружин; 11 — сухарь клапана; 12 — болт крепления крышки; 13 — шайба; 14 — шайба виброизоляционная; 15 — крышка головки цилиндра; 16 — коромысло клапана; 17 — стойка коромысел; 18 — прокладка крышки; 19 — штанга; 20 — ввертыш крепления впускного коллектора; 21 — ввертыш крепления водяной трубы; 22 — прокладка уплотнительная; 23 — толкатель; 24 — распредвал; 25 — выпускной клапан; 26 — седло выпускное; 27 — гильза цилиндра; 28 — кольцо газового стыка; 29 — блок цилиндров; А — тепловой зазор.

Механизм газораспределения — верхнеклапанный с нижним расположением распределительного вала. Кулачки распределительного вала 24 в соответствии с фазами газораспределения приводят в действие толкатели 23. Штанги 18 сообщают качательное движение коромыслам 16, а они, преодолевая сопротивление пружин 7 и 8, открывают клапаны 25. Закрываются клапаны под действием силы сжатия пружин.

Распределительный вал стальной, кулачки и опорные шейки подвергнуты термообработке ТВЧ; устанавливается в развале блока цилиндров на пяти подшипниках скольжения, представляющих собой стальные втулки, залитые антифрикционным сплавом.


Толкатели тарельчатого типа с профилированной направляющей частью, изготовлены из стали с последующей наплавкой поверхности тарелки отбеленным чугуном. Толкатель подвергнут химико-термической обработке.

Коромысла клапанов стальные, штампованные, представляют собой двуплечий рычаг, у которого отношение большого плеча к меньшему составляет 1,55. Коромысла впускного и выпускного клапанов устанавливаются на общей стойке и фиксируются в осевом направлении пружинным фиксатором. Коромысла клапанов двигателя 740.11-240, в отличие от коромысел двигателя 740. 10, не имеют бронзовой втулки.

Направляющие толкателей отлиты заодно с блоком цилиндров.

Штанги толкателей стальные, пустотелые с запрессованными наконечниками. Штанги на 3 мм короче штанг двигателя мод. 740.10 и не взаимозаменяемы с ними.

Стойка коромысел чугунная, её цапфы подвергнуты термической обработке ТВЧ. Диаметр цапф на 2 мм больше по сравнению с цапфами стойки коромысел двигателя мод. 740. 10.

Пружины клапанов винтовые, устанавливаются по две на каждый клапан. Пружины имеют различные направления навивки. Диаметр проволоки наружной пружины 4,8 мм внутренний - 3,5 мм. Предварительно устанавливаемое усилие пружин 355 Н, суммарное рабочее - 821 Н. Пружины взаимозаменяемы с пружинами двигателя мод. 740.10.

Головки цилиндров 1 (рис. Механизм газораспределения) отдельные на каждый цилиндр, изготовлены из алюминиевого сплава. Головка цилиндра имеет полость охлаждения, сообщающуюся с полостью охлаждения блока.

Распределительный вал (рис. Распределительный вал в сборе) стальной, кулачки и опорные шейки подвергнуты термообработке ТВЧ; устанавливается в развале блока цилиндров на пяти подшипниках скольжения, представляющих собой стальные втулки, залитые антифрикционным сплавом.

Распределительный вал: 1 — распределительный вал; 2 — корпус подшипника; 3 — шестерня; 4 — шпонка.

Диаметр втулок на 6 мм больше по сравнению со втулками двигателя мод. 740.10. Распределительный вал увеличенной размерности, измененными фазами газораспределения и ходом клапанов по сравнению с распредвалом двигателя 740. 10. На задний конец распределительного вала напрессована прямозубая шестерня 3. Привод распределительного вала осуществляется от шестерни коленчатого вала через промежуточные шестерни. Шестерни стальные, штампованные с термообработанными зубьями.

Для обеспечения заданных фаз газораспределения шестерни при сборке устанавливаются по меткам, выбитым на торцах (см. Привод агрегатов). От осевого перемещения вал фиксируется корпусом 2 подшипника задней опоры, который крепится к блоку цилиндров тремя болтами. Посадочный диаметр корпуса подшипника задней опоры больше по сравнению с корпусом подшипника двигателя 740. 10. Установка корпуса подшипника задней опоры распределительного вала двигателя 740. 10 не допустима, так как приведет к аварийному снижению давления масла в системе и преждевременному выходу из строя двигателя.

Головки цилиндров 1 (рис. Механизм газораспределения) отдельные на каждый цилиндр, изготовлены из алюминиевого сплава. Головка цилиндра имеет полость охлаждения, сообщающуюся с полостью охлаждения блока.


Для усиления днища головки увеличена ее толщина в зоне выпускного канала и выполнено дополнительное ребро по сравнению с головкой цилиндра двигателя 740. 10.

Каждая головка цилиндров устанавливается на два установочных штифта, запрессованные в блок цилиндров, и крепится четырьмя болтами из легированной стали. Один из установочных штифтов одновременно служит втулкой для подачи масла на смазку коромысел клапанов. Втулка уплотнена резиновыми кольцами. В головке, по сравнению с головкой двигателя 740. 10, увеличено отверстие слива моторного масла из-под клапанной крышки в штанговую полость. Окна впускного и выпускного каналов расположены на противоположных сторонах головки цилиндров. Впускной канал имеет тангенциальный профиль для обеспечения оптимального вращательного движения воздушного заряда, определяющего параметры рабочего процесса и экологические показатели двигателя, поэтому замена на головки цилиндров двигателя мод. 740.10 не допускается.

В головку запрессованы чугунные седла и металлокерамические направляющие втулки клапанов. Седла клапанов имеют увеличенный натяг в посадке по сравнению с седлами двигателя мод. 740.10, и фиксируются острой кромкой. Выпускное седло и клапан профилированы для обеспечения меньшего сопротивления выпуску отработавших газов.

Применение выпускного клапана мод. 740.10 не рекомендуется.

Стык "головка цилиндра - гильза" (газовый стык) - беспрокладочный (рис. Газовый стык). В расточенную канавку на нижней плоскости головки запрессовано стальное уплотнительное кольцо 3. Посредством этого кольца головка цилиндра устанавливается на бурт гильзы. Герметичность уплотнения обеспечивается высокой точностью обработки сопрягаемых поверхностей уплотнительного кольца и гильзы цилиндра 5. Уплотнительное кольцо дополнительно имеет свинцовистое покрытие для компенсации микронеровностей уплотняемых поверхностей.

Газовый стык: 1 — головка цилиндра; 2 — кольцо уплотнительное перепуска охлаждающей жидкости; 3 — кольцо газового стыка; 4 — прокладка-заполнитель; 5 — гильза цилиндра; 6 — кольцо уплотнительное; 7 — прокладка уплотнительная; 8 — блок цилиндров; 9 — экран.

Для уменьшения вредных объемов в газовом стыке установлена фторопластовая прокладка - заполнитель 4. Прокладка - заполнитель фиксируется на выступающем пояске кольца газового стыка за счет обратного конуса с натягом. Применение прокладки заполнителя снижает удельный расход топлива и дымность отработавших газов. Прокладка-заполнитель разового применения.

Для уплотнения перепускных каналов охлаждающей жидкости в отверстия днища головки установлены уплотнительные кольца 2 из силиконовой резины.

Пространство между головкой и блоком, отверстия стока моторного масла и отверстия прохода штанг уплотнены прокладкой 7 головки цилиндра из термостойкой резины.


При сборке двигателя болты крепления головки цилиндра следует затягивать в три приема в порядке возрастания номеров, указанном на рис. Последовательность Величины моментов затяжки должны быть:

  • 1 прием - до 39-49 Н.м (4-5 кгс.м);
  • 2 прием - до 98-127 Н.м (10-13 кгс.м);
  • 3 прием - до 186-206 Н.м (19-21 кгс.м).

Перед ввертыванием смазать резьбу болтов слоем графитовой смазки.

После затяжки болтов необходимо отрегулировать зазоры между клапанами и коромыслами. Клапанный механизм закрыт алюминиевой крышкой 15 (см. рис. Механизм газораспределения). Для шумоизоляции и уплотнения стыка крышка - головка цилиндра применены виброизоляционная шайба 14 и резиновая уплотнительная прокладка 19.

Последовательность Величины моментов затяжки

Болты крепления крышек головок цилиндров затянуть с крутящим моментом 12,7-17,6 Н.м (1,3-1,8 кгс.м).

Смазочная система комбинированная с "мокрым" картером. Система включает масляный насос, фильтр очистки масла, водомасляный теплообменник, картер масляный, маслоналивную горловину, трубку указателя и указатель уровня масла.

Схема смазочной системы двигателя: 1 — насос масляный; 2 — клапан; 3 — фильтр; 4 — перепускной клапан; 5 — частично-поточный фильтроэлемент; 6 — водомасляный теплообменник; 7, 8 и 9 — приборы контроля; 10 — форсунки охлаждения поршней; 11 — термоклапан; 12 — полнопоточный фильтроэлемент; 13 — картер масляный; 14 — клапан предохранительный.

Из картера 13 масляный насос 1 подает масло в фильтр очистки масла 3 и через водомасляный теплообменник 6 в главную магистраль, и далее к потребителям. В смазочную систему также включены клапан системы 2, обеспечивающий давление в главной масляной магистрали 400-550 кПа (4,0-5,5 кгс/см2) при номинальной частоте вращения коленчатого вала двигателя, предохранительный клапан 14, отрегулированный на давление 931-1127 кПа (9,5-11,5 кгс/см2), перепускной клапан 4, отрегулированный на срабатывание при перепаде давления на фильтре 150-220 кПа (1,5-2,2 кгс/см2) и термоклапан 11 включения водомасляного теплообменника.

При температуре масла ниже 95 °С, клапан открыт и основной поток масла поступает в двигатель минуя теплообменник. При температуре масла более 110 °С, термоклапан закрыт и весь поток масла проходит через теплообменник, где охлаждается водой. Тем самым обеспечивается быстрый прогрев двигателя после запуска и поддержание оптимального температурного режима в процессе эксплуатации.

Конструктивно термоклапан расположен в корпусе масляного фильтра.

Масляный картер штампованный, крепится к блоку цилиндров через резинопробковую прокладку. Момент затяжки болтов крепления картера 8 - 17,8 Н.м (0,8 - 1,8 кгс.м).

Термоклапан включения водомасляного теплообменника состоит из подпружиненного поршня 13 с термосиловым датчиком 6. При температуре ниже 93 °С поршень 13 находится в верхнем положении и основная часть потока масла, минуя теплообменник, поступает в двигатель. При достижении температуры масла (95+2) °С омывающего термосиловой датчик 6, активная масса, находящаяся в баллоне, начинает плавиться и, увеличиваясь в объеме, перемещает шток датчика и поршень 13. При температуре масла (110+2) °С поршень 13 разобщает полости в фильтре до и после теплообменника и весь поток масла идет через теплообменник. При превышении температуры масла выше 115 °С срабатывает датчик температуры и на щитке приборов загорается сигнальная лампочка.

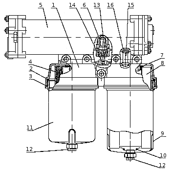
Водомасляный теплообменник (рис. Фильтр масляный с теплообменником) установлен на масляном фильтре, кожухотрубного типа, сборный. Внутри трубок проходит охлаждающая жидкость из системы охлаждения двигателя, снаружи - масло. Со стороны масла трубки имеют оребрение в виде охлаждающих пластин. Поток масла в теплообменнике четыре раза пересекает трубки с водой, чем достигается высокая эффективность охлаждения масла. На двигатели 740. 11-240, 740.13-260 и 740.14-300 устанавливаются два типа теплообменников:

  • 740.11 -1013200 на двигатель 740.11 -240,
  • 740.20-1013200 на двигатели 740.13-260 и 740.14-300, которые отличаются длиной.

· Масляный насос (см. рис.) закреплен на нижней плоскости блока цилиндров. Ведущее зубчатое колесо напрессовано на передний конец коленчатого вала и имеет 64 зуба, ведомое 52, то есть передаточное отношение 0,8125. Зазор в зацеплении приводных зубчатых колес регулируется прокладками, устанавливаемыми между привалочными плоскостями насоса и блока, который должен быть 0,15-0,35 мм, момент затяжки болтов крепления масляного насоса к блоку должен быть 49-68,6 Н.м (5-7 кгс.м).

·

· Насос масляный: 1 — крышка; 2 — корпус; 3 — шестерня ведущая; 4 — ведомое зубчатое колесо; 5 — шпонка; 6 — гайка; 7 — зубчатое колесо; 8 — ось; 9 — шплинт; 10 — пробка; 11, 12 — пружины; 13 — клапан; 14 — шарик; 15 — шайбы регулировочная.

· Масляный насос шестеренчатый, односекционный. Содержит корпус 2, крышку 1 и шестерни. В крышке расположен клапан смазочной системы 13, с пружиной 11. В нагнетающем канале установлен предохранительный клапан, состоящий из шарика, пружины и регулировочных шайб.

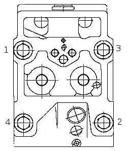
· Масляный фильтр (см. рис.) закреплен на правой стороне блока цилиндров и состоит из корпуса 1, двух колпаков 9 и 11, в которых установлены полнопоточный 8 и частично-поточный 4 фильтроэлементы.

·

· Фильтр масляный с теплообменником: 1 — корпус фильтра; 2, 3 — уплотнительные кольца; 4 — частично-поточный фильтрующий элемент; 5 — теплообменник; 6 — термосиловой датчик; 7 — прокладка; 8 — полнопоточный фильтрующий элемент; 9, 11 — колпаки; 12 — сливная пробка; 13 — поршень термоклапана; 14 — пружина термоклапана; 15 — перепускной клапан; 16 — пружина перепускного клапана.

· Колпаки на резьбе вворачиваются в корпус. Уплотнение колпаков в корпусе осуществляются кольцами 2 и 3.

· В корпусе фильтра также расположен перепускной клапан 15 и термоклапан включения водомасляного теплообменника. Очистка масла в фильтре комбинированная. Через полнопоточный фильтроэлемент 8 проходит основной поток масла перед поступлением к потребителям, тонкость очистки масла от примесей при этом составляет 40 мкм. Через частично - поточный фильтроэлемент 4 проходит 3-5 л/мин, где удаляются примеси размерами более 5 мкм. Из частично-поточного элемента масло сливается в картер.

· При такой схеме достигается высокая степень очистки масла от примесей.

· Система вентиляции картера (см. рис.) открытая, циклонного типа. Картерные отводятся из штанговой полости второго цилиндра, через угольник 1, в котором установлен завихритель 2.

· При работе двигателя картерные газы, проходя через завихритель 2, поучают винтовое движение. За счет действия центробежных сил капли масла, содержась в газах, отбрасываются к стенке трубы 4 и через трубку 6 сливаются обратно в картер. Очищенные картерные газы удаляются в атмосферу.

·

· Система вентиляции картера двигателя: 1 — угольник; 2 — завихритель; 3 — уплотнительное кольцо; 4 — труба: 5 — втулка внутренняя; 6 — труба слива масла; 7 — маслоотделитель; 8 — шланг угловой; 9,10 — хомуты; 11 — трубка отвода газов; 12 — дроссель; 13 — кляммер.

· ---► -моторное масло
-► - картерные газы

· Система охлаждения двигателя КамАЗ жидкостная, закрытого типа, с принудительной циркуляцией охлаждающей жидкости. Основными элементами системы (рис. Схема системы охлаждения) являются водяной насос 8, вентилятор 10, гидромуфта привода вентилятора, термостаты 22, включатель 15 гидромуфты, радиатор, кожух вентилятора, водяные трубы, жалюзи радиатора и расширительный бачок 20 с паровоздушной пробкой 21.

·

· Схема системы охлаждения: 1 — паровоздушная трубка от радиатора к расширительному бачку; 2 — трубка отвода жидкости из компрессора в расширительный бачок; 3 — компрессор; 4, 6 — водяные трубы соответственно правая и левая; 5 — водяная соединительная труба; 7 — перепускная труба термостатов; 8 — водяной насос; 9 — колено отводящего патрубка водяной трубы; 10 — вентилятор; 11 — водомасляный теплообменник; 12 — подводящая труба правого ряда цилиндров; 13 — патрубок подводящей трубы; 14 — головка цилиндра; 15 — включатель гидромуфты привода вентилятора; 16 — коробка термостатов; 17 — патрубок отвода охлаждающей жидкости из бачка в насос; 18 — патрубок отбора охлаждающей жидкости в отопитель; 19 — перепускная труба из расширительного бачка в водяной насос; 20 — расширительный бачок; 21 — паровоздушная пробка; 22 — термостаты.

· Во время работы двигателя циркуляция охлаждающей жидкости в системе создается насосом. Жидкость из насоса нагнетается в полость охлаждения левого ряда цилиндров, и через трубу 12 в полость охлаждения правого ряда цилиндров. Омывая наружные поверхности гильз цилиндров, охлаждающая жидкость через отверстия в верхних привалочных плоскостях блока цилиндров поступает в полости охлаждения головок цилиндров. Из головок цилиндров нагретая жидкость по трубам 4 и 6 поступает в коробку 16 термостатов, из которой в зависимости от температуры направляется в радиатор или на вход насоса. Часть жидкости отводится от патрубка 13 в водомасляный теплообменник 11, в котором происходит передача тепла от масла в охлаждающую жидкость. Из теплообменника жидкость направляется в водяную рубашку блока цилиндров в зоне расположения четвертого цилиндра.

· Температура охлаждающей жидкости на выходе из двигателя должна поддерживаться пределах 85-90 °С. Тепловой режим двигателя регулируется автоматически термостатами и включателем гидромуфты привода вентилятора, которые управляют направлением потока жидкости и работой вентилятора в зависимости от температуры охлаждающей жидкости на входе в двигатель.

· Водяной насос центробежного типа установлен на передней части блока цилиндров слева.

· Вентилятор осевого типа, металлический, пятилопастный, диаметром 660 мм крепится четырьмя болтами к ступице ведомого вала гидромуфты. С вентилятором двигателя мод. 740.10 не взаимозаменяем.

· Кожух вентилятора способствует повышению эффективности вентилятора. Кожух изготовлен штамповкой из тонколистового металла.

· Радиатор четырехрядный, для повышения теплоотдачи охлаждающие ленты выполнены с жалюзийными просечками, крепится боковыми кронштейнами через резиновые подушки к лонжеронам рамы, а нижней тягой к первой поперечине рамы.

· Жалюзи радиатора установлены перед радиатором. Управление жалюзи осуществляется ручкой тяги привода, расположенной на панели приборов. При полностью утопленной ручке жалюзи открыты, при полностью вытянутой - закрыты.

· Жалюзи способствуют ускорению прогрева двигателя при пуске и поддержанию теплового режима двигателя при низких температурах окружающего воздуха.

· Расширительный бачок 20 (рис. Схема системы охлаждения) установлен на двигателе с правой стороны по ходу автомобиля и соединен перепускной трубой 19 с входом водяного насоса, паровоздушной трубкой 1 с верхним бачком радиатора и трубкой 2 отвода жидкости из компрессора.

· Гидромуфта привода вентилятора передает крутящий момент от коленчатого вала к вентилятору и гасит инерционные нагрузки, возникающие при резком изменении частоты вращения коленчатого вала. Гидромуфта расположена соосно с коленчатым валом.

· Включатель гидромуфты управляет работой гидромуфты привода вентилятора. Через него масло поступает в гидромуфту. Включатель установлен в передней части двигателя на патрубке, подводящем охлаждающую жидкость к правому ряду цилиндров.







Date: 2015-07-23; view: 1323; Нарушение авторских прав



mydocx.ru - 2015-2026 year. (0.583 sec.) Все материалы представленные на сайте исключительно с целью ознакомления читателями и не преследуют коммерческих целей или нарушение авторских прав - Пожаловаться на публикацию