Главная Случайная страница


Полезное:

Как сделать разговор полезным и приятным Как сделать объемную звезду своими руками Как сделать то, что делать не хочется? Как сделать погремушку Как сделать так чтобы женщины сами знакомились с вами Как сделать идею коммерческой Как сделать хорошую растяжку ног? Как сделать наш разум здоровым? Как сделать, чтобы люди обманывали меньше Вопрос 4. Как сделать так, чтобы вас уважали и ценили? Как сделать лучше себе и другим людям Как сделать свидание интересным?


Категории:

АрхитектураАстрономияБиологияГеографияГеологияИнформатикаИскусствоИсторияКулинарияКультураМаркетингМатематикаМедицинаМенеджментОхрана трудаПравоПроизводствоПсихологияРелигияСоциологияСпортТехникаФизикаФилософияХимияЭкологияЭкономикаЭлектроника






Кривошипно-шатунный механизм двигателей КамАЗ 740.11-240, 740.13-260, 740.14-300





Коленчатый вал (см. рис.) изготовлен из высококачественной стали и имеет пять коренных и четыре шатунные шейки, закаленных ТВЧ, которые связаны между собой щеками и сопрягаются с ними переходными галтелями. Для равномерного чередования рабочих ходов расположение шатунных шеек коленчатого вала выполнено под углом 90°.

Коленчатый вал: 1 — противовес коленчатого вала передний; 2 — противовес коленчатого вала задний; 3 — шестерня привода масляного насоса; 4 — шестерня привода газораспределительного механизма; 5,6 — шпонка; 7 — штифт; 8 — жиклер; 9 — облегчающие отверстия; 10 — отверстия подвода масла в коренных шейках; 11 — отверстия подвода масла к шатунным шейкам.

К каждой шатунной шейке присоединяются два шатуна: один для правого и один для левого рядов цилиндров (Шатун).

Подвод масла к шатунным шейкам производится от отверстий в коренных шейках 10 прямыми отверстиями 11.

Для уравновешивания сил инерции и уменьшения вибраций коленчатый вал имеет шесть противовесов, отштампованных заодно со щеками коленчатого вала. Кроме основных противовесов, имеются два дополнительных съемных противовеса 1 и 2, напрессованных на вал, при этом их угловое расположение относительно коленчатого вала определяется шпонками 5 и 6 (рис. Коленчатый вал).

В расточку хвостовика коленчатого вата запрессован шариковый подшипник 5 (Рис. Установка упорных полуколец и вкладышей подшипников коленчатого вала).

Установка упорных полуколец и вкладышей подшипников коленчатого вала: 1 — полукольцо упорного подшипника коленчатого вала верхнее; 2 — полукольцо упорного подшипника коленчатого вала нижнее; 3 — вкладыш подшипника коленчатого вала верхний; 4 — вкладыш подшипника коленчатого вала нижний; 5 — блок цилиндров; 6 — крышка подшипника коленчатого вала задняя; 7 — коленчатый вал.

В полость переднего носка коленчатого вала ввернут жиклер 8, через калибровонное отверстие которого осуществляется смазка шлицевого валика отбора мощности на привод гидромуфты.

От осевых перемещений коленчатый вал зафиксирован двумя верхними полукольцами и двумя нижними полукольцами 2 (Рис. Установка упорных полуколец и вкладышей подшипников коленчатого вала), установленными в проточках задней коренной опоры блока цилиндров, так, что сторона с канавками прилегает к упорным торцам вала. На переднем и заднем носках коленчатого вала (рис. Коленчатый вал) установлены шестерня 3 привода маслянс насоса и ведущая шестерня 4 привода распределительного вала. Задний торец коленчатого вала имеет восемь резьбовых отверстий для болтов крепления маховика, передний носок коленчатого вала имеет восемь отверстий для крепления гасителя крутильных колебаний.

Уплотнение коленчатого вала осуществляется резиновой манжетой 8 (Рис.Установка маховика и манжеты уплотнения коленчатого вала), с дополнительным уплотняющим элементом - пыльником 9. Манжета размещена в картере маховика 4. Манжета изготовлена из фторкаучука по технологии формования рабочей уплотняющей кромки непосредственно в прессформе.

Установка маховика и манжеты уплотнения коленчатого вала: 1 — маховик; 2 — блок цилиндров; 3 — коленчатый вал; 4 — картер маховика; 5 — подшипник первичного вала коробки передач; 6 — шайба; 7 — болт крепления маховика; 8 — манжета уплотнения коленчатого вала; 9 — пыльник манжеты; 10 — штифт установочный маховика.

Диаметры шеек коленчатого вала: коренных 95±0,011 мм. шатунных 80±0,0095 мм.

Для восстановления двигателя КамАЗ предусмотрены восемь ремонтных размеров вкладышей. Обозначение вкладышей подшипников коленчатого вала, диаметр коренной шейки коленчатого вала, диаметр отверстия в блоке цилиндров под эти вкладыши указаны в приложении 1.

Обозначение вкладышей нижней головки шатуна, диаметр шатунной шейки коленчатого вала, диаметр отверстия в нижней головке шатуна под эти вкладыши указаны в приложении 2.

Вкладыши 7405.1005170 Р0, 7405.1005171 Р0, 7405.1005058 Р0 применяются при восстановлении двигателя без шлифовки коленчатого вала. При необходимости шейки коленчатого вала заполировываются. Допуски на диаметры шеек коленчатого вала, отверстий в блоке цилиндров и отверстий в нижней головке шатуна при проведении ремонта двигателя должны быть такими же, как у номинальных размеров новых двигателей.

 


 

Коренные и шатунные подшипники изготовлены из стальной ленты покрытой слоем свинцовистой бронзы толщиной 0,3 мм, слоем свинцовооловянистого сплава толщиной 0,022 мм и слоем олова толщиной 0,003 мм. Верхние 3 (Рис. Установка упорных полуколец и вкладышей подшипников коленчатого вала) и нижние 4 вкладыши коренных подшипников не взаимозаменяемы. В верхнем вкладыше имеется отверстие для подвода масла и канавка для его распределения. Оба вкладыша 4 нижней головки шатуна взаимозаменямы.


От проворачивания и бокового смещения вкладыши фиксируются выступами (усами), входящими в пазы, предусмотренные в постелях блока, крышках подшипников и в постелях шатуна. Вкладыши имеют конструктивные отличия, направленные на повышение их работоспособности при форсировке двигателя турбонаддувом, при этом изменена маркировка вкладышей на 7405.1004058 (шатунные), 7405.1005170 и 7405.1005171 (коренные).

Поэтому при проведении ремонтного обслуживания не рекомендуется замена вкладышей на серийные с маркировкой 740.100.., так как при этом произойдет существенное сокращение ресурса двигателя.

Установка упорных полуколец и вкладышей подшипников коленчатого вала: 1 — полукольцо упорного подшипника коленчатого вала верхнее; 2 — полукольцо упорного подшипника коленчатого вала нижнее; 3 — вкладыш подшипника коленчатого вала верхний; 4 — вкладыш подшипника коленчатого вала нижний; 5 — блок цилиндров; 6 — крышка подшипника коленчатого вала задняя; 7 — коленчатый вал.

Крышки коренных подшипников (Рис. Установка крышек подшипников коленчатого вала) изготовлены из высокопрочного чугуна марки ВЧ50. Крепление крышек осуществляется с помощью вертикальных и горизонтальных стяжных болтов 3, 4, 5, которые затягиваются по определенной схеме регламентированным моментом.

Установка крышек подшипников коленчатого вала: 1. Крышка подшипника коленчатого вала; 2. Коленчатый вал; 3. Болт крепления; 4. Болт стяжной крепления крышки подшипника левый; 5. Болт стяжной крепления крышки подшипника правый; 6. Шайба 7. Блок.

Шатун (см. рис.) стальной, кованый, стержень 1 имеет двутавровое сечение. Верхняя головка шатуна неразъемная, нижняя выполнена с прямым и плоским разъемом. Шатун окончательно обрабатывают в сборе с крышкой 2, поэтому крышки шатунов невзаимозаменяемы.

В верхнюю головку шатуна запрессована сталебронзовая втулка 3, а в нижнюю установлены сменные вкладыши 4. Крышка нижней головки шатуна крепится с помощью гаек 6, навернутых на болты 5, предварительно запрессованные в стержень шатуна. Затяжка шатунных болтов осуществляется по схеме определенной в приложении 8. На крышке и стержне шатуна нанесены метки спаренности - трехзначные порядковые номера. Кроме того на крышке шатуна выбит порядковый номер цилиндра.

Маховик 1 (см. рис. Маховик) закреплен восемью болтами 7 (Рис. Установка маховика и манжеты уплотнения коленчатого вала), изготовленными из легированной стали с двенадцатигранной головкой, на заднем торце коленчатого вала и точно зафиксирован двумя штифтами 10 и установочной втулкой 3 (см. рис. Маховик)

Установка маховика и манжеты уплотнения коленчатого вала: 1 — маховик; 2 — блок цилиндров; 3 — коленчатый вал; 4 — картер маховика; 5 — подшипник первичного вала коробки передач; 6 — шайба; 7 — болт крепления маховика; 8 — манжета уплотнения коленчатого вала; 9 — пыльник манжеты; 10 — штифт установочный маховика.

С целью исключения повреждения поверхности маховика под головки болтов устанавливается шайба 6 (Рис. Установка маховика и манжеты уплотнения коленчатого вала). Величина моментов затяжки болтов крепления маховика указана в приложении 8. На обработанную цилиндрическую поверхность маховика напрессован зубчатый венец 2, с которым входит в зацепление шестерня стартер при пуске двигателя (см. рис. Маховик).


При выполнении регулировочных работ по установке угла опережения впрыска топлива и величин тепловых зазоров в клапанах маховик фиксируется при помощи фиксатора (Рис. Положения ручки фиксатора маховика).

Положения ручки фиксатора маховика: а) — при эксплуатации; б) — при регулировке, в зацеплении с маховиком.

При этом конструкция имеет следующие основные отличия от серийной:

  • изменен угол расположения паза под фиксатор на наружной поверхности маховика;
  • увеличен диаметр расточки для размещения шайбы под болты крепления маховика.

Рассматриваемые двигатели КамАЗ могут комплектоваться различными типами сцеплений. На рис. Маховик показан маховик для диафрагменного сцепления.

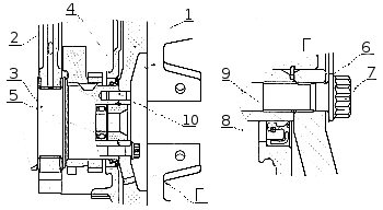
Гаситель крутильных колебаний закреплен восемью болтами 2 (рис. Установка гасителя крутильных колебаний коленчатого вала) на переднем носке коленчатого вала. С целью исключения повреждения поверхности корпуса гасителя под болты устанавливается шайба 5. Гаситель состоит из корпуса (см. рисунок) в который установлен с зазором маховик. Снаружи корпус гасителя закрыт крышкой. Герметичность обеспечивается закаткой (сваркой) по стыку корпуса гасителя и крышки. Между корпусом гасителя и маховиком находится высоковязкостная силиконовая жидкость, дозированно заправленная перед заваркой крышки.

Центровка гасителя осуществляется шайбой, приваренной к корпусу (рис. Гаситель крутильных колебаний коленчатого вала). Гашение крутильных колебаний коленчатого вала происходит путем торможения корпуса гасителя, закрепленного на носке коленчатого вала, относительно маховика в среде силиконовой жидкости. При этом энергия торможения выделяется в виде теплоты. При проведении ремонтных работ категорически запрещается деформировать корпус и крышку гасителя. Гаситель с деформированным корпусом или крышкой к дальнейшей эксплуатации не пригоден.

Установка гасителя крутильных колебаний коленчатого вала: 1 — гаситель; 2 — болт крепления гасителя; 3 — полумуфта отбора мощности; 4 — болт крепления полумуфты; 5 — шайба; 6 — коленчатый вал; 7 — блок цилиндров

Поршень 1 (рис. Поршень с кольцами в сборе с шатуном) отлит из алюминиевого сплава со вставкой из износостойкого чугуна под верхнее компрессионное кольцо.

Поршень с шатуном и кольцами в сборе: 1 — поршень; 2 — маслосъемное кольцо; 3 — поршневой палец; 4, 5 — компрессионные кольца; 6 — стопорное кольцо.

В головке поршня выполнена тороидальная камера сгорания с вытеснителем в центральной части, она смещена относительно оси поршня в сторону от выточек под клапаны на 5 мм.


Боковая поверхность представляет собой сложную овально-бочкообразную форму с занижением в зоне отверстий под поршневой палец. На юбку нанесено графитовое покрытие.

В нижней ее части выполнен паз, исключающий при правильной сборке контакт поршня с форсункой охлаждения при нахождении в НМТ.

Поршень комплектуется тремя кольцами, двумя компрессионными и одним маслосъемным. Отличительной его особенностью является уменьшенное расстояние от днища до нижнего торца верхней канавки, которое составляет 17 мм. На двигателях КамАЗ, с целью обеспечения топливной экономичности и экологических показателей, применен селективный подбор поршней для каждого цилиндра по расстоянию от оси поршневого пальца до днища. По указанному параметру поршни разбиты на четыре группы 10, 20, 30 и 40. Каждая последующая группа от предыдущей отличается на 0,11 мм.

В запасные части поставляются поршни наибольшей высоты, поэтому во избежание возможного контакта между ними и головками цилиндров в случае замены необходимо контролировать надпоршневой зазор. Если зазор между поршнем и головкой цилиндра после затяжки болтов ее крепления будет менее 0,87 мм необходимо подрезать днище поршня на недостающую до этого значения величину. Поршни двигателей 740. 11, 740.13 и 740.14 отличаются друг от друга формой канавок под верхнее компрессионное и маслосъемное кольца. (см. разделы компрессионное и маслосъемное кольца). Установка поршней с двигателей КАМАЗ 740. 10 и 7403.10 недопустима. Допускается установка поршней с поршневыми кольцами двигателей 740. 13 и 740.14 на двигателе 740.11. I







Date: 2015-07-23; view: 1358; Нарушение авторских прав



mydocx.ru - 2015-2026 year. (0.064 sec.) Все материалы представленные на сайте исключительно с целью ознакомления читателями и не преследуют коммерческих целей или нарушение авторских прав - Пожаловаться на публикацию