Главная Случайная страница


Полезное:

Как сделать разговор полезным и приятным Как сделать объемную звезду своими руками Как сделать то, что делать не хочется? Как сделать погремушку Как сделать так чтобы женщины сами знакомились с вами Как сделать идею коммерческой Как сделать хорошую растяжку ног? Как сделать наш разум здоровым? Как сделать, чтобы люди обманывали меньше Вопрос 4. Как сделать так, чтобы вас уважали и ценили? Как сделать лучше себе и другим людям Как сделать свидание интересным?


Категории:

АрхитектураАстрономияБиологияГеографияГеологияИнформатикаИскусствоИсторияКулинарияКультураМаркетингМатематикаМедицинаМенеджментОхрана трудаПравоПроизводствоПсихологияРелигияСоциологияСпортТехникаФизикаФилософияХимияЭкологияЭкономикаЭлектроника






Дослiд 8.4. Отримання бромбензолу





Реактиви та матеріали: бензол, бром, залiзо (ошурки), натронне вапно, їд-кий натр (2Н розчин)
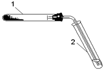
Обладнання: пробiрка з вiдвiдною трубкою, скляна трубка-погли-нач, ватний тампон, водяна баня, термометр, піпетки

Увага! Дослiд проводять у витяжнiй шафi.

У суху пробiрку 1 кладуть трохи ошурок, 5 крапель бензолу i 2 краплi брому. Отвiр пробiрки зразу ж закривають пробкою з газовiдвiдною трубкою, до якої крiпиться скляна трубка-поглинач 2 з натронним вапном (рис. 8.2). Реакцiя починається незабаром, сумiш при цьому майже не розiгрiвається.

Пiсля того, як в реакцiйнiй пробiрцi припи-ниться видiлення бульбашок HBr i зни­кнуть за-барвленi пари брому, її помiщають у водяну ба-ню i нагрiвають 2 хв при температурi 333-343 К. Отриманий бромбензол охолоджують i промива-ють вiд слiдiв брому розчином їдкого натру май-же до знебарвлення. Верхнiй водний шар відби- Рис. 8.2. Отримання бромбензолу

рають за допомогою пiпетки. З бромбензолом проводять якiсну реакцiю на галоген.

Хiмiзм процесу:

2Fe + 3Br2 ® 2FeBr3

C6H6 + Br2 C6H5Br + HBr

бромбензол

 

Дослiд 8.5. Вплив каталізаторів на хід бромування вуглеводнів

Реактиви та матеріали: Бензол, толуол, бром (розчин в чотирьоххлористому карбоні), алюміній (дріт) амальгамований, залізо металічне (стружки), йод кристалічний.
Обладнання: водяна баня.

У 4 пробірки приливають по 3 краплі досліджуваного вуглеводню (дослід проводять з бензолом й толуолом паралельно) й по 1 краплі розчину брому. У першу пробірку вміщують кристалик йоду, у другу – небагато залізних стружок, у третю - шматочок амальгамованого алюмінієвого дроту. У четверту пробірку каталізатор не додають.

У чотирьох пробірках, що містять бензол, на холоді не спостерігають змін. Тому їх нагрівають на водяній бані до початку кипіння, а потім встановлюють у штатив. Введення бромоводню спостерігається в присутності алюмінію й заліза. Пробірки з толуолом залишають у штативі при кімнатній температурі, часто збовтуючи. Бромування толуолу йде значно легше, ніж бромування бензолу.

Хімізм процесу:

2Al + 3Br2 → 2AlBr3

2Fe + 3Br2 → 2FeBr3

 

 

При низьких температурах в присутності каталізаторів галоген легко заміщує атоми водню бензойного ядра. Як каталізатори застосовуються галогеніди металів, сірка, йод. Найбільш сильнодіючим каталізатором є сполуки алюмінію з галогенами. В їхній присутності можна всі атоми водню ядра замінити на атоми хлору чи брому.

Каталізатори допомагають створенню активної електрофільної частинки шляхом поляризації зв'язку між атомами галогену:

 

 

Контрольнi запитання

1. Напишiть структурнi формули можливих галогеналкiлiв складу С4Н9Br (4 iзомери) i назвiть їх за мiжнародною номенклатурою.

2. Напишiть формули таких сполук: iзопропiлбромiд; йодистий алiл; хлористий вiнiл; 1,1,1-трифтор-2-бром-2-хлоретан (фторотан); 1-хлор-3-йод-3-метилпентан.

3. Напишiть схеми синтезу 2,2-дихлорпропану: з вiдповiдного не­насиченого вугле-водню; з ацетону.

4. Перелiчiть реакцiї, за допомогою яких можна перетворити спирт на галогено-похiдне.

5. Розташуйте в порядку спаду активностi галогену такi гало­генопохiднi: хлористий вiнiл, хлористий алiл, хлористий пропiл. Пояснiть рiзну рухомiсть галогену. Вкажiть стрiлками зрушення електронних густин у молекулах цих сполук.

6. Напишiть схеми реакцiй хлористого iзопропiлу: з металiчним на­трiєм (реакцiя Вюрца); з амiаком; з водним розчином лугу; зi спир­товим розчином лугу; з ацетатом натрiю; з етилатом натрiю; з ме­талiчним магнiєм.

7. Якi змiни виникають при стояннi хлороформу? Напишiть схе­ми двох послiдовних реакцiй.

8. Напишiть структурнi формули сполук: 2-хлор-3-метилпентан; 3-хлор-2,2-диметил-гексан; хлористий тетраметилен; 4-бром-4-ме­тил­гексан. Якi з них мають цис-транс -iзомери?

9. Напишiть структурнi формули галогенопохiдних складу С6Н13Br, в яких бром мiститься бiля третинного атома вуглецю. Назвiть їх.

10. Напишiть рiвняння реакцiй 2,4-дихлор-2-метилбутану зi спир­товим i водним роз-чинами лугу.

 







Date: 2015-07-02; view: 969; Нарушение авторских прав



mydocx.ru - 2015-2026 year. (0.595 sec.) Все материалы представленные на сайте исключительно с целью ознакомления читателями и не преследуют коммерческих целей или нарушение авторских прав - Пожаловаться на публикацию