Главная Случайная страница


Полезное:

Как сделать разговор полезным и приятным Как сделать объемную звезду своими руками Как сделать то, что делать не хочется? Как сделать погремушку Как сделать так чтобы женщины сами знакомились с вами Как сделать идею коммерческой Как сделать хорошую растяжку ног? Как сделать наш разум здоровым? Как сделать, чтобы люди обманывали меньше Вопрос 4. Как сделать так, чтобы вас уважали и ценили? Как сделать лучше себе и другим людям Как сделать свидание интересным?


Категории:

АрхитектураАстрономияБиологияГеографияГеологияИнформатикаИскусствоИсторияКулинарияКультураМаркетингМатематикаМедицинаМенеджментОхрана трудаПравоПроизводствоПсихологияРелигияСоциологияСпортТехникаФизикаФилософияХимияЭкологияЭкономикаЭлектроника






Расчет поршня





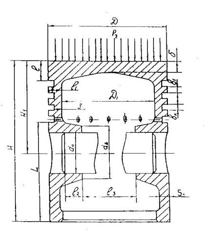
Основные конструктивные размеры принимают согласно таблице и вычерчивают поршень (рис).

Таблица 5

 

Параметры Дизели Карбюраторного двигатели
Длина поршня Н Толщина днища поршня δ Расстояние от днища до оси пальца H1 Длина направляющей части поршня L Расстояние от днища до первой канавкиl Наружный диаметр пальца dп Расстояние между торцами бобышекl3   Средний диаметр бобышек dБ Толщина стенки направляющей части поршня S1, мм Толщина кольца а компрессионного маслосъемного Высота кольца b,мм Толщина стенки головки поршня S Радиальный зазор между кольцом и канавкой поршняΔa, мм компрессионного маслосъемного Внутренний диаметр поршня D1 Длина опорной поверхности под поршневой палец l2 (1,2…1,7)D (0,12…0,2)D   (0.6…1.0)D   (0.7…1.2)D   (0.12…0.2)D   (0.3…0.38)D   (0.3…0.5)D   (1,3…1,6)dп   2…5   (0.04…0.045)D (0.038…0.043)D 3…5   (0.05…0.1)D     0,7…0,95 0,9…1,1   D-2(S+a-Δa)   (0.25…0.5)D (1.0…1.3)D (0.05…0.1)D   (0.45…0.75)D   (0.6…1.0)D   (0.06…0.12)D   (0.22…0.28)D   (0.3…0.5)D   (1,3…1,6)dп   1,5…4,5   (0.04…0.045)D (0.038…0.043)D 2…4   (0.05…0.1)D     0,7…0,95 0,9…1,1   D-2(S+a-Δa)   (0.2…0.25)D .25)D

 

Высоту канавок под поршневые кольца (рис) принимают

bк= b+Δb; где b – высота кольца, Δb – зазор между кольцом и канавкой по высоте, его принимают 0,02…0,08 мм.

Высоту пояска между кольцевыми канавками принимают равной высоте канавки b1=bк.

Днище поршня проверяют на статическую прочность как круглую плиту, защемленную по краям и равномерно нагруженную давлением pz. Напряжение изгиба в МПа определяют по формуле:

σи=0,17*pz*D122;

где pz давление газов в конце видимого сгорания, МПа;

D1 – внутренний диаметр поршня, м,

δ – средняя толщина днища, м.

Допустимые значения напряжений и], МПа при отсутствии у днища ребер жесткости:

для поршней из алюминиевых сплавов________20…25

для чугунных поршней _____________________40…50

 

Рис. 10. Эскиз к расчету поршня

 

 

Приложение

Таблица 1

Технические характеристики автомобильных







Date: 2015-07-01; view: 455; Нарушение авторских прав



mydocx.ru - 2015-2026 year. (0.291 sec.) Все материалы представленные на сайте исключительно с целью ознакомления читателями и не преследуют коммерческих целей или нарушение авторских прав - Пожаловаться на публикацию