Главная Случайная страница


Полезное:

Как сделать разговор полезным и приятным Как сделать объемную звезду своими руками Как сделать то, что делать не хочется? Как сделать погремушку Как сделать так чтобы женщины сами знакомились с вами Как сделать идею коммерческой Как сделать хорошую растяжку ног? Как сделать наш разум здоровым? Как сделать, чтобы люди обманывали меньше Вопрос 4. Как сделать так, чтобы вас уважали и ценили? Как сделать лучше себе и другим людям Как сделать свидание интересным?


Категории:

АрхитектураАстрономияБиологияГеографияГеологияИнформатикаИскусствоИсторияКулинарияКультураМаркетингМатематикаМедицинаМенеджментОхрана трудаПравоПроизводствоПсихологияРелигияСоциологияСпортТехникаФизикаФилософияХимияЭкологияЭкономикаЭлектроника






Вертикально-сверлильный станок 2Н135





 

На станине 1 вертикально-сверлильного станка (рис16.4) размещены основные части станка. Станина имеет вертикальные направляющие, по которым перемещаются стол 9 и сверлильная головка 3, несущая шпиндель 7 и двигатель 2. Управление коробками скоростей и подач осуществляется рукоятками 4, ручная подача – штурвалом 5. Глубину обработки контролируют по лимбу 6. В нише размещены электрооборудование и противовес. В некоторых станках электрооборудование выносят в отдельный шкаф 12. Фундаментная плита 11 служит опорой станка. Стол 9 станка перемещают по направляющим с помощью винтового механизма маховичком 10. Охлаждающая жидкость подается электронасосом по шлагу 8.

 

Технические характеристики станка

Таблица 16.2

Конус шпинделя………………………………………..Морзе №4
Наибольшее осевое перемещение шпинделя, м ….........250
Вылет шпинделя, мм …………………………………………300
Расстояние от конца шпинделя до стола, мм …………..30-750
Частота вращения шпинделя, мин- 1……………………..31,5-1400
Число частот вращения шпинделя………………………12
Подача, мм/об ………………………………………………0,1-1,2
Число подач…………………………………………………9
Мощность электродвигателя главного движения, кВт ……4,5
Частота вращения вала электродвигателя, мин -1…………1450

 

 

 

Рис 16.6 Общий вид вертикально-сверлильного станка 2Н135

 

Станок является универсальным вертикально-сверлильным и относится к конструктивной гамме вертикально-сверлильных станков средних размеров 2Н118, 2Н125, 2Н135 и 2Н150 с условным диаметром сверления соответственно 18, 25, 35, 50.

Станки этой гаммы широко унифицированы между собой. Агрегатная компоновка и возможность автоматизации цикла обеспечивают создание на их базе специальных станков.

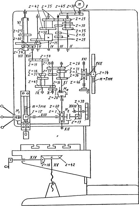
Движения в станке (рис.16.7). Главное движение (вращение шпинделя)

осуществляется от вертикально расположенного электродвигателя М(N=4,5) кВт; n =1450 мин -1) через зубчатую передачу и коробку скоростей (рис.П.3. …).

Коробка скоростей с помощью одного тройного блока зубчатых колес и двух двойных блоков сообщает шпинделю 12 различных значений частот вращения шпинделя. Последний вал коробки скоростей представляет собой полую гильзу, шлицевое отверстие которой передает вращение шпинделю станка.

 

 
 

 

Рис.16.7 Кинематическая схема станка 2Н135

 

Уравнение кинематической цепи для максимальной частоты вра­щения шпинделя:

Движение подачи передается от шпинделя через зубчатые колеса, зубчатую передачу, коробку подач, червячную пару и реечную передачу на гильзу шпинделя.

Коробка подач обеспечивает получение девяти различных подач.

Вспомогательные движения. Коробки скоростей и подач, шпин­дель и механизмы подач смонтированы внутри сверлильной головки, имеющей возможность перемещаться вдоль колонны при вращении соответствующей рукоятки через червячную и реечную = 14; т = 3) пары. Вертикальное перемещение стола можно производить также вручную поворотом рукоятки через коническую и винтовую пары.

 







Date: 2015-07-17; view: 2134; Нарушение авторских прав



mydocx.ru - 2015-2026 year. (1.007 sec.) Все материалы представленные на сайте исключительно с целью ознакомления читателями и не преследуют коммерческих целей или нарушение авторских прав - Пожаловаться на публикацию