Главная Случайная страница


Полезное:

Как сделать разговор полезным и приятным Как сделать объемную звезду своими руками Как сделать то, что делать не хочется? Как сделать погремушку Как сделать так чтобы женщины сами знакомились с вами Как сделать идею коммерческой Как сделать хорошую растяжку ног? Как сделать наш разум здоровым? Как сделать, чтобы люди обманывали меньше Вопрос 4. Как сделать так, чтобы вас уважали и ценили? Как сделать лучше себе и другим людям Как сделать свидание интересным?


Категории:

АрхитектураАстрономияБиологияГеографияГеологияИнформатикаИскусствоИсторияКулинарияКультураМаркетингМатематикаМедицинаМенеджментОхрана трудаПравоПроизводствоПсихологияРелигияСоциологияСпортТехникаФизикаФилософияХимияЭкологияЭкономикаЭлектроника






Дәріс. Тұрақты және өзгермелі бағытты ағымдарда байыту





Минералдық түйіршіктерді тығыздығына қарай тұрақты және өзгермелі бағытты ағымдарда байыту ауырлық күш өрісінде және ортаның гидро-не аэрогидродинимикалық әсерімен жүргізіледі. Тік өзгермелі ағымды бағытта байыту отсадка (шөктіру) деп аталады.

Отсадка (шөктіру)

Отсадка минералды түйіршіктердің шайқалмалы бөлу ортада жылдамдық қозғалыстарының әртүрлі болуына негізделген. Орта ретінде негізінде су, өте сирек ауа пайдаланылады.

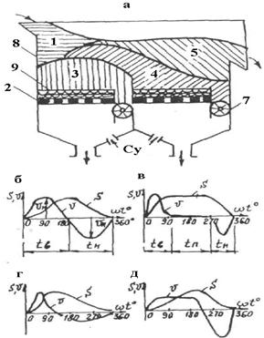
Бастапқы зат (1) әдетте екі (камералы) (8) отсадкалау машинасының (1а сурет) торының үстіне түседі де біркелкі қабатты болып жайылады. Тордың тесіктері арқылы ортаның ағыны жоғары және төмен бағытта шайқалып тұрады. Соның нәтижесінде ауыр (3), жеңіл (5) және олардың қауышпаларынан (4) тұратын түйіршіктердің қабаттары пайда болады. Екі камерада да (6) қабаттар жеке бөлініп шығарылады. Ауыр фракция арнаулы қақпақты қондырғы (7) (олар жазықты не тік әртүрлі конструкциялы қақпақты жырықтар) және тор (2) арқылы, жеңілдері машинаның шетіндегі табалдырығы арқылы шығарылады. Режим бойынша 3,4 қабаттар өздеріне сәйкес камералардан тыс шықпауы көзделінген.

Материалдың тығыздығына байланысты қысылымды жағдайда бөліну заңдылығы отсадкалауда тек түйіршіктердің жүзгінді қабатта бөлінуімен ғана емес, сол сияқты екшелену нәтижесіменде анықталады. Минерал түйіршіктерінің қозғалысына бөлгіш ортаның салмағы, ортаның гидростатикалық кедергі күші және екпінді күші минералдардың бір-бірімен үйкелу және соғылуына және аппараттың қабырғасымен соғылуынан шығатын механикалық күштерде әсер етеді.

Ортаның жоғары көтерілу ағынын әсерімен бөлінетін түйіршіктердің араласы қопсиды және шөгу жылдамдығы ағымның жылдамдығынан кіші жеңіл түйіршіктер жоғары жылжиды да, ал ауыр түйіршіктер жүзік түрінде қалады. Ағын төмен қарай бағытталғанда, керісінше, ауыр түйіршіктер ағынмен бірге үлкен жылдамдықпен төмен қозғалады да, минерал түйіршіктер қабаты тор үстінде нығызданады. Жоғары-төменгі ағымның көп рет әрекетімен материал қабаттарға бөлінеді: жеңіл минерал түйіршіктері жоғарғы қабатқа жиналады да, ал ауыр түйіршіктер ортаның кедергісін жеңе отырып астыңғы қабатқа түседі. Ауыр тығыздықты минералдардың ұсақ түйіршіктері төмен бағытталған ағымның сору күшімен ауыр ірі түйіршіктердің арасындағы саңлаулар арқылы қозғалады да, олардың астына түсіп, машинаның торы арқылы өтеді.

Жеңіл минералдардың ұсақтарыда олардың ірілерінің арасымен төмен түседі, бірақ ауыр минерал ірі түйіршіктерінің арасына ол қабаттың тығыздығына байланысты өте алмайды. Осының нәтижесінде минерал түйіршіктері тор үстінде мынадай кезекпен орналасады: ауыр минералдардың ұсақтары, оның үстінде ірілері, одан кейінгі үстінгі қабаттарда жеңіл минералдардың ұсақтары, одан кейін ірілері. Түйіршіктердің осылай орналасуына судың шайқалуынан туатын материалдың екшеленуі үлкен әсер етеді.

Сурет-20. Отсадка процесі сұлбасы (а) және оның циклдері

б - гармоникалық; в-Майердікі; г- Берданікі; д-Томастікі; е-ортаның жылжуы; ж- жылжу жылдамдығы.


 

Ірі материалды отсадкалауда тор үстіндегі материал қабаты (кен байытылғанда 3-5 мм, ал көмір үшін 10-13мм) табиғи төсеніш деп аталады. (19-сурет а.). Оның оңтайлы қалындығы түсетін материалдың ішіндегі ең ірілерінің диаметрлерінен 5-10рет үлкен болуы керек. Төсеніштің қалындығы артқан сайын минералдардың бөліну дәлдігінің төмендеуі қабаттың қопсуының аздығына байланысты (гидростатикалық кедергі жоғарлап кетеді), ал төсеніш қалындығы аз болғанда қабаттың тұрақсыздығын тудырады. Оған себеп болатын ағымның әр жерінде жылдамдықтың өсуі, материалдың араластырылуы және байыту өнімдерінің өзара бір-біріне өтуі. Ұсақ кенді материалды (3-5 мм төмен) және көмірді (10-13 мм төмен) байытуда тор үстіне жасанды төсеніш (9) салынады. Ол үшін әртүрлі материалдар пайдаланылады (ұсақ металды бытыра, ферросилиций және т.б.).

Олардың тығыздықтары жеңіл минералдікінен үлкен, ауыр минералдікінен кіші, ал ірілігі бөлінетін түйіршіктердің ең ірілерінен 2,5-6 есе үлкен болуы қажет. Жасанды төсеніш «тор» ролін ойнайды деуге болады. Ол ауыр түйіршіктерді өткізеді де жеңілдерін өткізбейді. Жасанды төсеніштің қалындығы және тығыздығы артқан сайын, және түйіршіктердің пішіні әр түрлі болған сайын оның өткізуі төмендейді, әсіресе ірі түйіршіктерді. Төсеніш биіктігі бастапқы зат ішінде ауыр түйіршіктер көп болған сайын аз, ал көп болған сайын жоғары болуы керек. Әдетте төсеніш биіктігі оның түйіршіктерінің ең үлкен диаметрінен үш есе артық болуы керек, ал төсеніш үстіндегі қабаттың қалындығы бастапқы зат ішіндегі ең ірі түйіршіктің диаметрінен 20 есе үлкен болуы қажет.

Ортаның тік бағытта қозғалуының (S) заңдылықтары және оның жылдамдығының әр уақытта өзгеруі отсадка циклімен сипатталады (19-сурет. б-д). Оны анықтайтындар көтерілу (Zв), үзіліс (Zү) және ортаның төмен түсуі (Zн). Тәжірибе жүзінде негізгі циклдер көтерілу жылдамдығымен (Vв) төмен ағу жылдамдығымен (Vн) гармоникалық (19-сурет б.) теңдігімен және олардың әрекет ету уақытымен (tb=tk) сипатталады; Майер циклы (19-сурет. в)-ортаның көтерілу, төмен түсуінің тездігімен және үзілістің ұзақтығымен; Берда циклі (19- сурет. г) көтерілу жылдамдығының аздығымен және үзілістің жоқшылығымен; Томас циклі (19-сурет. д) көтерілуінің аз жылдамдығымен, ал төмен түсуінің үлкен жылдамдығымен сипатталады. Цикл элементтерінің ұзақтарын өзгерту материалдың бөліну процесін реттеуге мүмкіндік береді.


Мысалы, ұсақ жеңіл түйіршіктер сұрыпталмаған көмірді байытқанда ауыр фракцияға кетпес үшін төмен бағытта қозғалатын ортаның ағымын қысқа мерзімде әрекет ететін циклы қолданылады. Цикл сипатта отсадка процесіне тек ортаның шайқалу жиілігі -100 мин-1 ден төмен болғанда ғана айтарлықтай ірі материалды отсадкалауда қолданылатын болғанда ғана айтарлықтай нәтиже береді.

Ортаның шайқалуының жиілігі мен амплитудасы отсадкалауда тек ірілігімен ғана емес, байытылатын заттың тығыздығымен анықталады. Түйіршіктердің максимальды диаметрлері мен тығыздығы артқан сайын амплитуда жоғары болуы керекте, ал ортаның шайқалу саны төмен болуы қажет. Шайқалу саны азайған сайын жоғары ағатын ағым жылдамдығы қамтамасыз етіледі, шайқалу амплитудасы, төсеніштің жоғары көтерілуі және оның қопсу дәрежесі өседі. Бірақ отсадкалау процесінің тұрақтылығы төмендейді, процестің өнімділігінің бастапқы заттың ірілігі мен фракциялық құрамының өзгеруіне тәуелділігі артады. Шайқалу саны өскенде процестің тұрақтылығы артады, бірақ төсеніштің қопсу дәрежесі төмендейді. Шайқалу санының қажетті мөлшерін қысылу жағдайында ең ірі ауыр түйіршіктерін жүзінде түрінде ұстауға қажетті жоғары бағытта қозғалатын ағымның жылдамдығының қажеттілігімен анықтауға болады. Осы жағдайда ортаның үдеуі ауырлық салмақтың үдеуінен аспайды.

Отсадкалау процесін сулы ортада реттейтін факторға тор астына берілетін су мөлшері жатады. Ол жоғары ағымның жылдамдығын және төсеніштің қопсуын өсіреді, төменгі ағымның жылдамдығын және ұсақ кластардың тор астына түсуін азайтады, жеңіл фракцияның машинаның шығару табалдырығына қарай қозғалуына көмектеседі. Тор астына берілетін судың шығынын өсіру әдетте, тор астына түсетін өнімнің шығымын азайтады және оның сапасын арттырады, бірақ ауыр минерал түйіршіктерінің ағызындыға кетуін өсіреді, судың шығынын азайту кері нәтижеге әкеледі. Материалдың ірілігі өскен сайын тор астына берілетін судың жылдамдығы өседі, бірақ 0,6 см3/с-нен аспауы қажет. Бастапқы түсетін пульпаның сұйықтығы С:Қ=2:1 ден (массасы бойынша) аспауы керек. Олай болмағанда үлкен жылдамдықты жазық ағын төсеніш үстіндегі қабатты қопсытып түйіршіктердің тығыздығына қарай бөлуін қиындатады. Судың жалпы шығыны байытылатын зат ірілігі өскен сайын жоғарлайды: кен байытылғанда 3,5 нан 8,0 м3/т дейін, көмір байытылғанда 2,3 –тен 6,0 м3/т өседі. Тор астына берілетін су үлесі жалпы шығынның 40-70% құрайды. Оны бермей қою қанағатты нәтиже алуды қиындатады.


Сурет-21. Отсадкалау машиналарының принципті сұлбалары:

а-поршенді; б- қозғалмалы түпті.

Отсадка процесіне кен 0,25 тен 0,5 мм дейін ал көмір 0,4-0,9 дан 100-150 мм дейін ірілікте түсіріледі. Бастапқы заттан шламды затты бөлу олардың бөлінуінің қиындығымен және ірі кластарды бөлуге тигізетін залалдарымен байланысты. Бастапқы заттың ірілігінің жоғарғы шегі технологиялық мүмкіндіктермен емес, отсадкалау машиналарының конструкциялық ерекшеліктерімен байланысты, әсіресе ауыр фракцияны шығаратын қондырғылардың түрімен. Байыту тиімділігін арттыру үшін бастапқы зат електермен ірілік кластарға бөлініп, әр класс жеке машиналарға түсіріледі. Әр класс ішіндегі түйіршіктердің іріліктерінің ара қатынасын табу үшін қысыла шөгу жағдайында табылатын бірдей шөгу коэффициенті пайдаланылады. Кен байытылғанда ірілік кластарға бөлуге ірілігі 5-6 мм ден артық материал алынады. Ұсақ материал байытылғанда олар ірілік кластарға бөлінбейді, тек жасанды төсеніш қолданылады. Көмір байыту алдында екі машиндық кластарға бөлінеді. Әдетте, олардың шектік размерлері 13 не 10 мм етіп алынады. Әр класс байыту алдында шламсыздандырылады да, жеке байытылады. Шламсыздандырылмаған материалды байыту технологиялық тұрғыдан қарағанда қажеті аз. Сондықтан фабрика жобалауда олар қарастырылмайды.

Отсадкалаудың тиімділігі түйіршіктер размерлері және минералдар тығыздықтарының айырмашылықтары үлкен болғанда ғана жоғары болады. Сондықтан отсадка ірі және орташа сепкілді мысалы, темір және марганец сияқты ұнтақтауды қажет етпейтін кендерді, сол сияқты минералдарының тығыздық айырмашылықтары жоғары (көмір, шашыранды кендер) кендерді байытуға кеңінен қолдану тапты. Материал ірілігі төмендеген сайын тығыздығы бойынша бөлу дәлдігі төмендейді. Себебі ортаның тұтқырлығы артады, ағымның иірімділігі өседі. Байытылу өнімдерінің өзара жоғалымы артады.

Машинаға түсетін заттың мөлшері артқан сайын оның қозғалу жылдамдығыда өседі, ол тор асты өнімнің шығымын азайтады және сапасын жоғарлатады. Керісінше жүк азайған сайын тор асты өнім шығымы азаяды, ал сапасы төмендейді. Сондықтан тиімді байыту жоғарғы мәні машинаның белгілі үлесті өнімділігі болғанда ғана орын алады. Ол заттың ірілігіне, байытылған өнімнің сапасына қойылатын талапқа және машинаның конструкциялық құрылымына байланысты көмір байытылғанда 5 тен 30 т/(см2), ал кен байытылғанда 2 ден 16 т/(см2) тең.

Энергияның үлесті шығыны 0,3 те 0,7 кВт с/т тең. Отсадкалау машинасының өнімділігі оның төсеніш ауданына және белгілі байытылатын материалдың үлесті өнімділігіне тәуелді.

Қазіргі кезде отсадкалау машинасының 90 түрлері белгілі. Оларда ортаның шайқалуы поршеннің, тордың, диафрагманың және қысымды ауа бергіштің көмегімен жүзеге асырылады.

Поршенді отсадкалау машинасы (сурет-20, а), өнімділігі 1,0-8,0 т/с ірі және орташа ірілікті кен және көмірге қолданылады. Олар әр қайсысы түбіне жетпейтін қалқашалармен (5) екі өзара қатнасатын бөлімшелерге бөлінген екі, үш, не төрт камералардан (4) тұрады. Жинағыш бөлімінде тор орналасқан (1), соның үстінде материал тығыздығына қарай бөлінеді. Судың шайқалуы (100-300 мин-1 поршен бөліміндегі поршенмен іске асады. Жоғары-төмен поршеннің қозғалуы және судың шайқалу амплитудасы (40-80 мм) эксцентрикті механизммен (3) орындалады.

Қозғалмалы түпті отсадкалау машинасының (сурет-20, б), өнімділігі 25 т/с жетеді. Олар ірі және орташа ірілікті (3-40 мм) жуылған марганец және темір кендеріне қолданылады, екі, үш және төрт секциялы торлардан (1) (жұмыс ауданы 2,9-4,0 мм) тұрады. Қозғалыс (10-80 мм) эксцентрикті механизм арқылы (3) орындалып, жоғары және төмен ағымды тудырады (шайқалу саны минутініне 180 –ге жетеді). Материалдың тор бойымен жылжуына корабтың көлбеулігі (~50) және тор секцияларының баспалдақтары болуы мүмкіндік тудырады. Қазіргі кезде поршенді және қозғалмалы түпті машиналар шығарылмайды. Олардың орнына фабрикаларда поршенсіз не үзілімді ауалы және диафрагмалы машиналар шығарылады. Олардың үлесті өнімділіктері жоғары және су және энергия шығыны аз.

Поршенсіз не үзілімді ауалы машиналар (сурет-21) көмір, марганец және темір кендері үшін кеңінен қолданылады. Оларда су ағымының жоғары-төмен қозғалуы үзілімді қысыммен машинаның ауалы бөліміне берілетін ауа арқылы орындалады. Ауаның үзілімді берілуі арнаулы роторлы не клапанды типті золотникті қондырғылармен іске асады. Олардың көмегімен қажетті отсадкалау циклін тудыруға, циклдің жиілігін және ортаның циклін тудыруға, циклдің жиілігін және ортаның шайқалу амплитудасын реттеуге болады. Шайқауға қажетті ауаның қысымы 0,025-0,06 МПа мөлшерінде. Материалдың қабаттарға бөлінуін реттеу үшін бұлардада тор астына су беріледі.

Сурет-22. Ауалы қозғалмалы отсадкалау машиналарының принципті сұлбалары:

а-ауалау камерасы бұйірде орналасқан; б-ауалау камерасы екі жақты бұйірде орналасқан; в-қосақты орталық камералы; д-сұғындырмалы тор асты камералы; е-ауалау камерасы тор үстінде екі жақты қозғалысты машиналар.

Отсадкалау машиналары ауалы камералардың бүйірлі (сурет-21 а-в) тор асты (сурет-21. г.д.) және тор үсті (сурет-21.) поршенсіз болып бөлінеді. Біріншілерінде үзілімді ағымның отсадкалау торының ауданына біркелкі жылдамдығын тудыру үшін ауалы және отсадкалау бөлімдерінің арасындағы қалқаншалар шетіне гидравликалық айналып өтпеліктер қойылған, екіншіден машинаның ағымды бөлімі әртүрлі қиынды каналдарға бөлінген.

Қазіргі кездегі отсадкалау машиналары тура ағымды, екі және үш сатылы болып шығарылалы. Олар бастапқы затты машинаның бүтіл көлденеңін қамти біркелкі бөлініп түсірілуі үшін арнаулы түсіріш қондырғымен жабдықталған. Сол сияқты оларда көмірді 0,5 мм класы бойынша шламсыздандырып және тасымалдау суының белгілі бөлегін шығарып тастауға, ауыр өнімді шығаруға арналған автоматты қондырғымен жабдықталған. Көмірді байыту үшін отсадкалау аудандары 8,12,18,24 м2 және өнімділіктері 650 т/с жететін машиналар қабылданған.

Ауалы камералалары бүйірден орналасқан ТМД-да шығарылатын машиналарының ішіндегі ең жетілдірілген түрлері: ОМК типті машиналар өнімділіктері 120-130 т/с, бұлар ұсақ көмір байытуға қолданылады; ОМШ үлкен шекте сұрыпталған және ірі көмірге арналған өнгімділіктері 160-240 т/с және ОПМ 22-ОПМ 25 ірілігі 4 мм дейін ұсақ кенді байытуға қолданылады. Олардың өнімділіктері 40-75 т/с.

Әдебиет: 1-нег. [370-383]

Бақылау сұрақтары:

1. Отсадкалау процесінде минерал түйіршіктерінің қозғалысына не әсер етеді?

2. Отсадкалау процесінің циклдары?

3. Минерал түйіршіктерінің тор үстінде орналасу кезегін түсіндіру?

4. Су қозғалысының (шайқалуын) минерал түйіршіктерінің бөлінуіне тигізетін әсері?

5. Отсадакалау машиналарының түрлері?

 







Date: 2015-05-18; view: 1462; Нарушение авторских прав



mydocx.ru - 2015-2026 year. (1.575 sec.) Все материалы представленные на сайте исключительно с целью ознакомления читателями и не преследуют коммерческих целей или нарушение авторских прав - Пожаловаться на публикацию