Главная Случайная страница


Полезное:

Как сделать разговор полезным и приятным Как сделать объемную звезду своими руками Как сделать то, что делать не хочется? Как сделать погремушку Как сделать так чтобы женщины сами знакомились с вами Как сделать идею коммерческой Как сделать хорошую растяжку ног? Как сделать наш разум здоровым? Как сделать, чтобы люди обманывали меньше Вопрос 4. Как сделать так, чтобы вас уважали и ценили? Как сделать лучше себе и другим людям Как сделать свидание интересным?


Категории:

АрхитектураАстрономияБиологияГеографияГеологияИнформатикаИскусствоИсторияКулинарияКультураМаркетингМатематикаМедицинаМенеджментОхрана трудаПравоПроизводствоПсихологияРелигияСоциологияСпортТехникаФизикаФилософияХимияЭкологияЭкономикаЭлектроника






Термическое (вакуумное) напыление





 

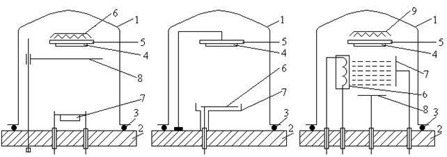
Принцип этого метода напыления показан на рисунке 3.7а. Металлический или стеклянный колпак 1 расположен на опорной плите 2. Между ними находится проклад­ка 3, обеспечивающая поддержание ва­куума после откачки воздуха из подколпачного пространства. Подложка 4, на которую проводится напыление, закреплена на держателе 5. К держателю примыкает нагреватель 6 (напыление проводится на нагретую подложку). Испари­тель 7 включает в себя нагреватель и источник напыляемого вещества. Пово­ротная заслонка 8 перекрывает поток паров от испарителя к подложке: напы­ление длится в течение времени, когда заслонка открыта.

Нагреватель обычно представляет собой нить или спираль из тугоплавко­го металла (вольфрам, молибден и др.), через которую пропускается достаточно большой ток. Источник напыляемого вещества связывается с нагревателем по-разному: в виде скобок («гусариков»), навешиваемых на нить накала; в виде небольших стержней, охватываемых спиралью, в виде порошка, засыпанного в

 

а) б) в)

Рисунок 3.7

 

тигель, нагреваемый спиралью, и т. п. Вместо нитей накала в по­следнее время используют нагрев с помощью электронного луча или луча лазера.

На подложке создаются наиболее благоприятные условия для конденсации паров, хотя частично конденсация происходит и на стенках колпака. Слишком низкая температура подложки пре­пятствует равномерному распределению адсорбируемых атомов: они группируются в «островки» разной толщины, часто не связанные друг с другом. Наоборот, слишком высокая температура под­ложки приводит к отрыву только что осевших атомов, к их «реиспарению». Поэтому для получения качественной пленки температура подложки должна лежать в некоторых оптимальных пределах (обычно 200-400° С). Скорость роста пленок в зависимости от ряда факторов (температура подложки, рас­стояние от испарителя до подложки, тип напыляемого материала и др.) лежит в пределах от десятых долей до десятков нанометров в секунду.

Прочность связи - сцепления пленки с подложкой или другой пленкой - называется адгезией. Некоторые распространенные ма­териалы (например, золото) имеют плохую адгезию с типичными под­ложками, в том числе с кремнием. В таких случаях на подложку сна­чала наносят так называемый подслой, характерный хорошей адге­зией, а затем на него напыляют основной материал, у которого адгезия с подслоем тоже хорошая. Например, для золота подслоем могут быть никель или титан.

Для того чтобы атомы напыляемого материала, летящие от испарителя к подложке, испытывали минимальное количество столкновений с атомами оста­точного газа и тем самым минимальное рассеяние, в подколпачном простран- стве нужно обеспечивать достаточно высокий вакуум. Критерием необходи- мого вакуума может служить условие, чтобы средняя длина свободного пробега атомов в несколько раз превышала расстояние между испарителем и подлож-кой. Однако этого условия часто недостаточно, так как любое количество остаточного газа чревато загрязнением напыляемой пленки и изменением ее свойств. Поэтому в принципе вакуум в установках термического напыления должен быть как можно более высоким. В настоящее время вакуум ниже 10-6 мм рт. ст. считается неприемлемым, а в ряде первоклассных напылительных установок он доведен до 10-11 мм рт. ст.

Главными достоинствами рассмотренного метода являются его простота и возможность получения исключительно чистых пленок (при высоком вакууме). Однако у него есть и серьезные недостатки: трудность напыления тугоплавких материалов и труд­ность (а иногда невозможность) воспроизведения на подложке хи­мического состава испаряемого вещества. Последнее объясняется тем, что при высокой температуре химические соединения диссо­циируют, а их составляющие конденсируются на подложке раз­дельно. Естественно, имеется вероятность того, что новая ком­бинация атомов на подложке не будет соответствовать структуре исходной молекулы.

 







Date: 2015-05-09; view: 740; Нарушение авторских прав



mydocx.ru - 2015-2026 year. (0.621 sec.) Все материалы представленные на сайте исключительно с целью ознакомления читателями и не преследуют коммерческих целей или нарушение авторских прав - Пожаловаться на публикацию