Главная Случайная страница


Полезное:

Как сделать разговор полезным и приятным Как сделать объемную звезду своими руками Как сделать то, что делать не хочется? Как сделать погремушку Как сделать так чтобы женщины сами знакомились с вами Как сделать идею коммерческой Как сделать хорошую растяжку ног? Как сделать наш разум здоровым? Как сделать, чтобы люди обманывали меньше Вопрос 4. Как сделать так, чтобы вас уважали и ценили? Как сделать лучше себе и другим людям Как сделать свидание интересным?


Категории:

АрхитектураАстрономияБиологияГеографияГеологияИнформатикаИскусствоИсторияКулинарияКультураМаркетингМатематикаМедицинаМенеджментОхрана трудаПравоПроизводствоПсихологияРелигияСоциологияСпортТехникаФизикаФилософияХимияЭкологияЭкономикаЭлектроника






Торможения





Вопрос 80. Типовые схемы включения, реверсирования, регулирования, торможения и остановки электропривода.

Управление асинхронными двигателями (АД)

Схема управления с реверсивным магнитным пускателем (МП)

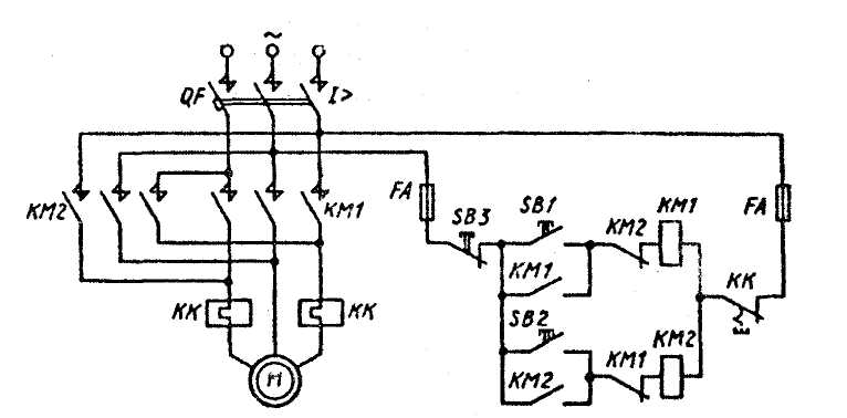
Схема (рис. 17.10) включает реверсивный МП и кнопки управления SB1 (Вперед), SB2 (Назад), SB3 (Стоп).

 

Схема обеспечивает: дистанционный пуск, реверсирование и останов, защиту двигателя от перегрузки, защиту от само­запуска.

МП состоит из двух контакторов переменного тока КМ1 и КМ2 с главными и вспомогательными контактами (блок-кон­тактами) и тепловыми реле КК с размыкающим контактом. Сведения о МП приведены в главе 9.

Для пуска двигателя оператор нажимает на кнопку SB1,nu6o SB2. Катушка КМ1 (либо КМ2) получает питание, контактор срабатывает, включая контакты в цепи статора и блокирует пусковую кнопку. Двигатель разгоняется. При перегрузке (если ток статора длительно превышает 1,1 — 1,2 номинального значения) срабатывают тепловые реле КК, отключая своим контактом цепь питания катушки. В МП предусмотрена электрическая блокировка от одновременного включения кон­такторов.

Для остановки оператор нажимает на кнопку SB3 (Стоп).

Для защиты от коротких замыканий используется авто­матический выключатель OF с электродинамическим расцепителем.

Рис. 17.10. Схема управления АД с реверсивным МП

Схема управления АД с узлом электродинамического

торможения

Схема (рис. 17.11) включает магнитный пускатель КМ, кноп­ки управления SB1 (Пуск), SB2 (Стоп), контактор электроди­намического торможения КМ1, выпрямитель V, питающий реле времени КТ, и реостат R, ограничивающий тормозной ток статора. Предохранители FA защищают цепи управления с коротких замыканий.

Пуск АД осуществляется нажатием на кнопку SB1 (Пуск). Контактор КМ включает главные контакты в цепи статора АД, блокирует пусковую кнопку, отключает цепь контактора КМ1 и включает катушку реле КТ. АД запускается в режиме прямого пуска.

Для остановки АД нажимают на кнопку SB2 (Стоп). КМ отключается, отключив статор от сети переменного тока. Од­новременно включается КМ1, и постоянное напряжение выпрямителя подается в статор АД. Сопротивление R позволяет регулировать величину тока динамического торможения и, тем самым, интенсивность торможения. Время торможения опреде­ляется уставкой реле времени КТ. По его истечении контакт КТ с выдержкой времени на отключение размыкает цепь КМ1, который отключается и отключает обмотку статора от выпрями­теля. Схема возвращается в исходное состояние.







Date: 2015-05-09; view: 788; Нарушение авторских прав



mydocx.ru - 2015-2026 year. (1.471 sec.) Все материалы представленные на сайте исключительно с целью ознакомления читателями и не преследуют коммерческих целей или нарушение авторских прав - Пожаловаться на публикацию