Главная Случайная страница


Полезное:

Как сделать разговор полезным и приятным Как сделать объемную звезду своими руками Как сделать то, что делать не хочется? Как сделать погремушку Как сделать так чтобы женщины сами знакомились с вами Как сделать идею коммерческой Как сделать хорошую растяжку ног? Как сделать наш разум здоровым? Как сделать, чтобы люди обманывали меньше Вопрос 4. Как сделать так, чтобы вас уважали и ценили? Как сделать лучше себе и другим людям Как сделать свидание интересным?


Категории:

АрхитектураАстрономияБиологияГеографияГеологияИнформатикаИскусствоИсторияКулинарияКультураМаркетингМатематикаМедицинаМенеджментОхрана трудаПравоПроизводствоПсихологияРелигияСоциологияСпортТехникаФизикаФилософияХимияЭкологияЭкономикаЭлектроника






Проведение опытов





1. Включить установку (рис. 2).

2. Установить заданные значения силы тока и расхода воздуха при помощи трансформаторов 5 и 8.

3. После включения установки, в которой исследуются тепловые процессы, требуется некоторое время, в течение которого происходит стабилизация измеряемых величин. Нестационарный период прогревания элементов установки постепенно сменяется стационарным и измеряемые величины становятся достоверными.

На графике стационарности (рис. 3) через каждые 2 мин наносить показания милливольтметра е, мВ до наступления стационарного режима, при котором вся подводимая теплота идет на нагрев воздуха.

t2

t1
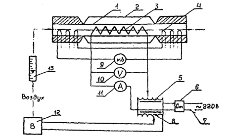
Рис.2. Схема экспериментальной установки:

1 – проточный калориметр, изготовленный из стекла; 2 – вакууммированная оболочка, предназначенная для уменьшения потерь тепла в окружающую среду; 3 – электронагреватель; 4 – дифференциальная термопара, 5,8 – лабораторные автотрансформаторы; 6 – стабилизатор напряжения; 7 – переключатель; 9 – милливольтметр; 10 – вольтметр; 11 – амперметр; 12 – вентилятор; 13 – ротаметр.

 

 

4.
е, мВ        
После наступления стационарного режима, о чем свидетельствует неизменность е = f (t2 - t1) в течение 3-х измерений, занести показания приборов в таблицу опытных данных (таблица 2).

 

      Нестаци. режим стац.режим    
 
 
4 12 20 t, мин Рис.3. График стационарности.

 


 

 

Таблица 2

Прот . делений , м3 I, A Uэл, В е, мВ , °С t1, °С t2, °С B, мм рт. ст. р=В, Па
                   

 

где Прот. – показания ротаметра; - объемный расход – определяется по градуировочному графику; I – сила тока в электронагревателе – показания амперметра; Uэл –падение напряжения на электронагревателе – измеряется с помощью вольтметра; е – термо-э.д.с. – показания милливольтметра; = t2 - t1 - изменение температуры газа в калориметре – определяется по градуировочному графику в зависимости от термо-э.д.с.; В – барометрическое давление, р – давление газа, равное атмосферному, т.е. барометрическому давлению, р=В.

 







Date: 2015-05-09; view: 781; Нарушение авторских прав



mydocx.ru - 2015-2026 year. (0.757 sec.) Все материалы представленные на сайте исключительно с целью ознакомления читателями и не преследуют коммерческих целей или нарушение авторских прав - Пожаловаться на публикацию