Главная Случайная страница


Полезное:

Как сделать разговор полезным и приятным Как сделать объемную звезду своими руками Как сделать то, что делать не хочется? Как сделать погремушку Как сделать так чтобы женщины сами знакомились с вами Как сделать идею коммерческой Как сделать хорошую растяжку ног? Как сделать наш разум здоровым? Как сделать, чтобы люди обманывали меньше Вопрос 4. Как сделать так, чтобы вас уважали и ценили? Как сделать лучше себе и другим людям Как сделать свидание интересным?


Категории:

АрхитектураАстрономияБиологияГеографияГеологияИнформатикаИскусствоИсторияКулинарияКультураМаркетингМатематикаМедицинаМенеджментОхрана трудаПравоПроизводствоПсихологияРелигияСоциологияСпортТехникаФизикаФилософияХимияЭкологияЭкономикаЭлектроника






Бескомпрессорные ВРД





ЦИКЛЫ РЕАКТИВНЫХ ДВИГАТЕЛЕЙ

Законы истечения газов, описывающие превращение энергии давления в количество движения, находят в настоящее время важное применение в реактивных двигателях. В таких двигателях теплота, полученная от сгорания топлива, преобразуется в кинетическую энергию продуктов сгорания и используется для получения тяги. Сила тяги газов, вытекающих из сопла равна

, (12.1)

где: Gрасход газов, кг/с;

wскорость истечения газов из сопла, м /с;

vскорость летательного аппарата, м /с.

Реактивные двигатели могут быть подразделены на две основные группы:

- воздушно-реактивные двигателиВРД (бескомпрессорные –прямоточные воздушно-реактивные двигатели ПВРД, пульсирующие воздушно-реактивные двигатели ПуВРД и компрессорные – турбореактивные двигатели ТРД, турбореактивные двухконтурные двигатели ТРДД и др.);

- ракетные двигателиРД (жидкостные ракетные двигатели ЖРД и двигатели, работающие на твердом топливе ТТРД).

Все типы реактивных двигателей применяют в современной авиации и в летательных аппаратах, осваивающих космос.

 

Бескомпрессорные ВРД

Бескомпрессорные ВРД делятся на прямоточные ПВРД, в которых процесс сгорания топлива производится при р = const, и пульсирующие ПуВРД; в них сгорание топлива осуществляется при v = const.

В ПВРД процессы в отдельных частях двигателя протекают непрерывно. Сжатие воздуха осуществляется за счет скоростного напора. Постоянство давления в камере сгорания достигается подбором поперечных сечений камеры.

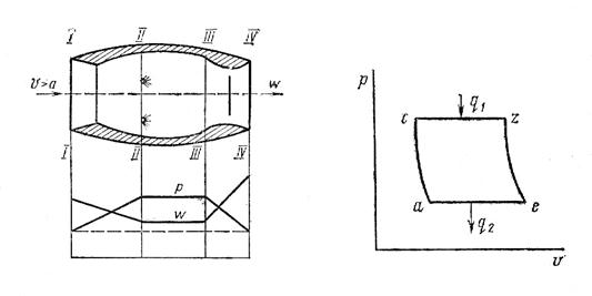
На рисунке 12.1 дана простейшая схема ПВРД для сверхзвуковых скоростей полета.

 

 

 


На схеме (рисунок 12.1) указаны между сечениями I-I – II-II – входной диффузор, II-II – III-III – камера сгорания, III-III – IV-IV – сопло. В нижней части рисунка 12.1 даны диаграммы изменения давления и скорости газа по тракту двигателя.

Теоретический цикл ПВРД представлен на рисунке 12.2,

где: линия а-с соответствует процессу адиабатного сжатия воздуха в диффузоре;

линия с-z – процессу изобарного подвода теплоты;

линия z-еадиабатному расширению продуктов сгорания в сопле;

линия е-аохлаждению продуктов сгорания (отвода теплоты в окружающую среду).

Как видно, цикл ПВРД – цикл со сгоранием при р = const. Поэтому термический КПД цикла может быть определен по формуле

, (12.2)

где степень повышения давление воздуха в диффузоре.

Как , так и возрастают с увеличением скорости полета, но с уменьшением скорости экономичность двигателя и тяга резко падают, а при нулевой скорости тяга будет равняться нулю. Поэтому для запуска аппаратов с такими двигателями требуется дополнительные стартовые двигатели.

Области скоростей полета, целесообразных для применения прямоточного двигателя, лежат в диапазоне скоростей, в 2 и более раза превышающих скорость звука.

В ПуВРД для осуществления процесса горения топлива при постоянном объеме необходимо в сечениях II-II и III-III (рисунок12.1) поставить клапаны, которые при горении топлива разобщат камеру сгорания от входного диффузора и реактивного сопла. Впрыск топлива должен осуществляться периодически, когда эти клапаны будут закрыты.

На рисунке 12.3 изображен в р-v диаграмме цикл пульсирующего ПуВРД,

 

 

 
 
Рисунок 12.3 – цикл ПуВРД

 


где: процесс а-с соответствует сжатию воздуха во входном диффузоре;

процесс с-zподводу теплоты при сгорании топлива;

процесс z-ерасширению газа в сопле;

процесс е-аусловному процессу выброса в атмосферу и охлаждению в ней при р = const продуктов сгорания.

Термический КПД пульсирующего двигателя можно определить по формуле

, (12.3)

где – степень повышения давления воздуха в диффузоре;

λ – степень повышения давления в процессе подвода теплоты в камере сгорания при р = const.

ПуВРД можно применять при меньших скоростях полета, чем ПВРД, но ненадежная работа клапанов в условиях высоких температур ограничивает возможности его применения.







Date: 2015-05-08; view: 914; Нарушение авторских прав



mydocx.ru - 2015-2026 year. (2.144 sec.) Все материалы представленные на сайте исключительно с целью ознакомления читателями и не преследуют коммерческих целей или нарушение авторских прав - Пожаловаться на публикацию