Главная Случайная страница


Полезное:

Как сделать разговор полезным и приятным Как сделать объемную звезду своими руками Как сделать то, что делать не хочется? Как сделать погремушку Как сделать так чтобы женщины сами знакомились с вами Как сделать идею коммерческой Как сделать хорошую растяжку ног? Как сделать наш разум здоровым? Как сделать, чтобы люди обманывали меньше Вопрос 4. Как сделать так, чтобы вас уважали и ценили? Как сделать лучше себе и другим людям Как сделать свидание интересным?


Категории:

АрхитектураАстрономияБиологияГеографияГеологияИнформатикаИскусствоИсторияКулинарияКультураМаркетингМатематикаМедицинаМенеджментОхрана трудаПравоПроизводствоПсихологияРелигияСоциологияСпортТехникаФизикаФилософияХимияЭкологияЭкономикаЭлектроника






Теоретический раздел





ЛАБОРАТОРНАЯ РАБОТА №1

ИЗУЧЕНИЕ КОНСТРУКЦИИ И

НАСТРОЙКА ОПТИЧЕСКИХ ПРИБОРОВ

 

Цель работы

В ходе выполнения работы следует:

1.1. Ознакомиться с устройством оптических средств, используемых в судостроении для выполнения проверочных работ;

1.2. Приобрести навыки настройки оптических приборов различных типов.

Теоретический раздел

2.1. В ходе проведения судостроительных работ нередко возникает необходимость в простейшем приспособлении, с помощью которого можно было бы достаточно просто и точно произвести горизонтальную разметку той или иной конструкции. Получить довольно ровную разметку (с минимумом отклонения от горизонтали) можно с помощью самого простейшего инструмента – водяного уровня, называемого иногда еще ватерпасом или гидроуровнем (рисунок 1.1).

 

Рисунок 1.1 – Схема ватерпаса (гидроуровня.)

 

Внешне этот несложный инструмент представляет собой полый прозрачный шланг определённой длины и диаметром около 1-1,5 см, на обоих концах которого иногда наносятся контрольные деления.

В основу работы прибора заложен известный принцип взаимодействия двух сообщающихся сосудов. В соответствии с ним, при совпадении уровней воды в двух связанных между собой частях сосуда отсчитанные по шкалам отметки имеют одинаковое удаление по высоте от точки, принимаемой за исходный уровень (уровень мирового океана). За счёт такого совпадения можно получать на размечаемой поверхности точки, одинаково отстоящие по высоте от условной географической отметки, принимаемой за нулевую.

К числу несомненных преимуществ водяного уровня можно отнести следующие его достоинства:

· низкая стоимость;

· лёгкость изготовления;

· простота обращения с прибором;

· хорошая различимость показаний прибора при любой освещённости.

 

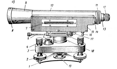
2.2. Нивелир представляет собой переносной геодезический прибор, укрепляемый на штативе, и предназначенный для определения относительных высот различных точек (пробивка прямых линий в пространстве). Визирная труба нивелира вращается на цилиндрической оси, неподвижно закреплённой на треножнике с тремя регулировочными винтами. Регулировочные винты имеют специальную проточку для опоры пружинящей пластины, в которой укреплена втулка для крепления стыкового винта. В работе мы будем использовать нивелир НГ, который относится к типу глухих нивелиров. Схема нивелира приведена на рисунке 2.

 

Рисунок 1.2 – Нивелир НГ

 

1 – пружинящая пластина; 2 – подъёмный винт; 3 – трегер; 4 – гайка подъёмного винта; 5 – круглый уровень; 6 – винт зеркала; 7 – цилиндрический уровень; 8 – оправа объекта; 9 – объективная часть трубы; 10 – корпус зрительной трубы; 11 – навинчивающаяся крышка; 12 – кольцо окуляра; 13 – окулярная часть трубы; 14 – лупа; 15 – коробка уровня; 16 – исправительный винт уровня; 17 – наводящий винт; 18 втулка трегера; 19 – отверстие для станового винта

 

 

2.2.1. Настойка нивелира

Перед началом работы с оптическим нивелиром необходимо произвести его настройку и юстировку в следующем порядке:

1) установить и зафиксировать прибор на штативе или неподвижной опоре выполнить грубую настройку с использованием круглого уровня (5);

2) установить визирную ось перпендикулярно главной оси прибора и зафиксировать зрительную трубу (10), параллельно двум регулировочным винтам(4);

3) выставить пузырёк цилиндрического уровня (7) на трубе в среднее положение, согласно рисунка 3(в);

4) развернуть трубу на 90о и выставить снова цилиндрический уровень на середину средним винтом, если при повороте зритель ной трубы на 360о пузырёк не сдвинется более чем на 1 деление то прибор готов к работе;

5) произвести установку призмы оптической системы цилиндрического уровня исправительным винтом (16), если в лупу (14) на корпусе цилиндрического уровня (7) видны концы пузырьков и расположены они согласно рисунку 1 (г), то призмы прибора настроены правильно при этом горизонтальная нить сетки должна быть перпендикулярна оси вращения инструмента, то есть согласно рисунков 1.3 и 1.4.

 

  а) б) в) Рисунок 1.3 – Видимое изображение концов пузырька контактного уровня (а, б, в) Рисунок 1.4 – Поле зрения нивелира НГ

 

2.3. Теодолит – переносной геодезический прибор, укреплённый на штативе, и предназначенный для измерения горизонтальных и вертикальных углов. Конструкция теодолита представлена на рисунке 3. Данное устройство используется для работы в судостроении, при этом могут быть использованы теодолиты ТБ1, ТБ3, ОТ10, ТТ50, ТТ5, Т2, Т5.


 

 

 

 

Рисунок 1.5 – Теодолит ТТ-5

1 – пружинящая пластина с втулкой для станового винта; 2 – подъёмный винта; 3 – подставка; 4 – наводящий винт лимба горизонтального круга; 5 –подставка трубы; 6 – наводящий винт трубы; 7 – наводящий винт алидады вертикального круга; 8 – труба; 9 – вертикальный круг; 10 – закрепительный винт трубы; 11 - окуляр; 12, 13 – закрепительный и наводящие винты алидады горизонтального круга; 14 – неподвижная лупа; 15 – закрепительный винт горизонтального круга; 16 – исправительный винт уровня; 17 – закрепительный винт подставки

 

2.3.1. Настройка теодолита. Перед началом работы с оптическим теодолитом необходимо произвести его настройку.

2.3.2. Необходимо ось каждого уровня алидады 3 (рисунок 1.6), горизонтального уровня, установить перпендикулярно оси вращения зрительной трубы 16 (рисунок 1.6):

1) установить один из горизонтальных уровней вдоль двух подъёмных винтов 4 (см. рисунок 1.6) и с их помощью выставить пузырёк на середину ампулы;

2) повернуть прибор на 90о и используя третий винт выставить уровень на середину ампулы;

3) для проверки снова повернуть на 90о прибор и микрометрическим винтом лимба горизонтального уровня 4 (рисунок 1.5) подстроить уровень;

4) закрепить винтом 15 горизонтальный круг и отпустить винт алидады 13 (рисунок 1.5);

5) повернуть алидаду на 180о при этом её уровень должен остаться на середине.

 

2.3.3. Настройка визирной оси зрительной трубы перпендикулярно горизонтальной оси вращения:

1) закрепить винтом 12 (рисунок 1.5) лимб алидады горизонтального круга и навести центр сетки на отдалённую точку местности расположенную на одном уровне с осью вращения зрительной трубы;

2) произвести отсчёт по двум верньерам горизонтального круга и вычислить средний отсчёт – по первому верньеру 7о 17` 00", по второму верньеру 16` 00" (см рисунок 1.7);

3) перевернуть зрительную трубу через зенит и вновь навести визирную ось на туже точку (лимб при этом должен быть неподвижен) и снова снять среднее значение по верньерам на горизонтальном круге - по первому верньеру 197о 20` 00", по второму верньеру 21`00", если разница между показаниями имеет разницу в 180о 2t (где t – точность верньера), то визирная ось прибора настроена верно.

 

2.3.4. Настройка прибора на объект для выполнения измерений:

1) установить теодолит на расстоянии 10-20 м от объекта и произвести настройку согласно п.п. 2.3.1;

2) навести центр сетки на точку – максимально высокую и хорошо видимую;

3) опустить трубу в горизонтальное положение и отметить точку ;

4) перевести трубу через зенит и освободить алидаду и вновь визировать на точку и после закрепить;

5) опустить в горизонтальной плоскости зрительную трубу и найти точку , если всё совпало то можно работать с прибором.

 

 

 

Рисунок 1.6. Схема повторительного теодолита с металлическими Лимбами:

1 - зажимной винт лимба; 2 - ось лимба; 3 - ось алидады; 4- подъемный винт; 5 - подставка теодолита; 6 - зажимной винт алидады; 7 - лимб; 8 - алидада;9 - исправительный винт уровня; 10 - уровень; 11 – подставка зрительной трубы; 12 - объектив зрительной трубы; 13 - вертикальныйкруг; 14 - исправительный винт сетки нитей; 15 - окулярнаятрубочка; 16 - ось вращения зрительной трубы; 17 - исправительный винт подставки зрительной трубы


 
 

 


Рисунок 1.7 – Отсчётное приспособление теодолита

1 – лимб; 2 – вереньер. Отсчёт 170о44`30" – обозначен крестом.

 







Date: 2015-05-08; view: 954; Нарушение авторских прав



mydocx.ru - 2015-2026 year. (1.415 sec.) Все материалы представленные на сайте исключительно с целью ознакомления читателями и не преследуют коммерческих целей или нарушение авторских прав - Пожаловаться на публикацию