Главная Случайная страница


Полезное:

Как сделать разговор полезным и приятным Как сделать объемную звезду своими руками Как сделать то, что делать не хочется? Как сделать погремушку Как сделать так чтобы женщины сами знакомились с вами Как сделать идею коммерческой Как сделать хорошую растяжку ног? Как сделать наш разум здоровым? Как сделать, чтобы люди обманывали меньше Вопрос 4. Как сделать так, чтобы вас уважали и ценили? Как сделать лучше себе и другим людям Как сделать свидание интересным?


Категории:

АрхитектураАстрономияБиологияГеографияГеологияИнформатикаИскусствоИсторияКулинарияКультураМаркетингМатематикаМедицинаМенеджментОхрана трудаПравоПроизводствоПсихологияРелигияСоциологияСпортТехникаФизикаФилософияХимияЭкологияЭкономикаЭлектроника






Методика эксперимента





Метод определения концентрации растворов основан на свойстве ряда веществ, называемых оптически активными, поворачивать на некоторый угол плоскости колебаний векторов напряженности электрического поля и магнитного поля . Это явление называется вращением плоскости поляризации. К числу веществ, способных поворачивать плоскость поляризации, относится сахар, оптическая активность которого обусловлена асимметричным строением его молекул. В растворах оптически активных веществ угол поворота плоскости поляризации пропорционален концентрации раствора C и длине пути света l в этом растворе.

, (1)

где - постоянная вращения, величина которой зависит от строения молекул оптически активного вещества.

Зависимость (1) позволяет определить концентрацию раствора, если измерены угол φ и длина l. Для этого необходимо иметь поляризованный свет. Для его получения используется призма Николя. Она состоит из двух кристаллов исландского шпата, склеенных канадским бальзамом.

 
 

 

 


Луч естественного света разделяется в кристалле на два луча, поляризованные во взаимно перпендикулярных плоскостях. Один из них обыкновенный “o”, другой необыкновенный “e”. Необыкновенный луч не подчиняется законам преломления, его скорость и показатель преломления различны в разных направлениях:

Для обыкновенного луча , показатель преломления n не зависит от направления.

Клей подобран таким образом, что его показатель преломления n имеет промежуточное значение между показателями преломления обыкновенного луча – и необыкновенного -

< < (2)

При падении на границу с клеем под углом, большим предельного, обыкновенный луч испытывает полное внутреннее отражение от оптически менее плотной среды (клея), а необыкновенный луч проходит через призму.

Таким образом, призма Николя является поляризатором: из неё выходит плоскополяризованный свет.

Прибор для определения концентрации растворов сахара называется сахариметром. Он позволяет измерить углы поворота плоскости поляризации . По графику зависимости от Сl, построенному с помощью эталонных растворов, можно определить постоянную вращения и концентрацию исследуемого раствора.

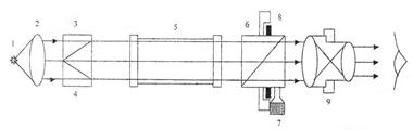
Принципиальная схема устройства полутеневого сахариметра представлена на рис. 35.2

 

 

Рис. 35.2

 

Свет от источника 1, находящегося в фокусе линзы 2, параллельным пучком попадает на поляризатор 3-4, после которого поляризованный свет проходит через трубку с раствором сахара 5, затем через анализатор 6 и, проходя систему линз в окуляре 9, попадает в глаз наблюдателя. Винт 7 служит для поворота анализатора 6. Отсчет угла поворота проводится по шкале нониуса 8;

Отсчет по шкале показан на рис. 35.3

 

Рис. 35.3

Основными узлами прибора являются поляризатор (3,4) и анализатор (6). Поляризатор состоит из двух призм Николя (3 и 4), позволяющих получить два пучка поляризованного света, в которых плоскости колебаний векторов и образуют между собой небольшой угол β. (рис 35.4б).

 

 

Рис. 35.4

 

Анализатор – одна призма Николя, через которую проходят оба пучка света, выходящие из призм 3-4. Интенсивности обоих пучков после анализатора зависят от положения главной плоскости анализатора А относительно направления колебаний световых векторов и (рис 35.4в). Если плоскость А перпендикулярна , то левая половина поля зрения будет темной, правая – светлой.

Если А перпендикулярна , то правая половина поля зрения будет темной, левая – светлой.

Если плоскость А расположена по биссектрисе угла β, то обе половины поля зрения будут освещены одинаково и ярко. Если А расположить перпендикулярно биссектрисе угла β, то обе половины поля зрения будут освещены одинаково и слабо (рис. 35.4г). В работе следует ориентироваться на слабую освещенность, так как к её изменению глаз более чувствителен.

Если вставить между поляризатором и анализатором трубку с раствором сахара, то плоскости колебаний и повернутся на угол и яркости полей изменятся. Чтобы восстановить одинаковую освещенность поля зрения, плоскость анализатора нужно повернуть на такой же угол (рис.35.4д,е,ж).

 







Date: 2015-05-08; view: 661; Нарушение авторских прав



mydocx.ru - 2015-2026 year. (0.726 sec.) Все материалы представленные на сайте исключительно с целью ознакомления читателями и не преследуют коммерческих целей или нарушение авторских прав - Пожаловаться на публикацию