Главная Случайная страница


Полезное:

Как сделать разговор полезным и приятным Как сделать объемную звезду своими руками Как сделать то, что делать не хочется? Как сделать погремушку Как сделать так чтобы женщины сами знакомились с вами Как сделать идею коммерческой Как сделать хорошую растяжку ног? Как сделать наш разум здоровым? Как сделать, чтобы люди обманывали меньше Вопрос 4. Как сделать так, чтобы вас уважали и ценили? Как сделать лучше себе и другим людям Как сделать свидание интересным?


Категории:

АрхитектураАстрономияБиологияГеографияГеологияИнформатикаИскусствоИсторияКулинарияКультураМаркетингМатематикаМедицинаМенеджментОхрана трудаПравоПроизводствоПсихологияРелигияСоциологияСпортТехникаФизикаФилософияХимияЭкологияЭкономикаЭлектроника






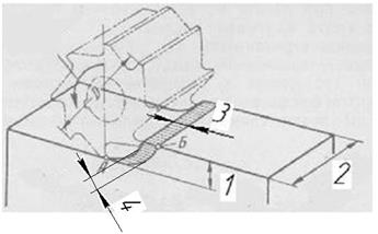
ПРИЛОЖЕНИЕ А. Тесты Покажите стрелками движения инструмента и заготовки, обозначьте их и выберите (отметьте) соответствующий вид обработки резанием. а)





Тесты

Покажите стрелками движения инструмента и заготовки, обозначьте их и выберите (отметьте) соответствующий вид обработки резанием.
а) обтачивание б) строгание в) долбление  
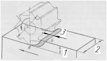
Покажите стрелками движения инструмента и заготовки, обозначьте их и выберите (отметьте) соответствующий вид обработки резанием
а) строгание по копиру б) подрезание в) долбление  
Покажите стрелками движения инструмента и заготовки, обозначьте их и выберите (отметьте) соответствующий вид обработки резанием
а) подрезание б) обтачивание в) долбление  
Покажите стрелками движения инструмента и заготовки, обозначьте их и выберите (отметьте) соответствующий вид обработки резанием
а) строгание б) подрезание в) обтачивание  
Покажите стрелками движения инструмента и заготовки, обозначьте их и выберите (отметьте) соответствующий вид обработки резанием
а) строгание б) растачивание в) обтачивание  

 

Покажите стрелками движения инструмента и заготовки, обозначьте их и выберите (отметьте) соответствующий вид обработки резанием
а) строгание по копиру б) растачивание в) долбление  
Покажите стрелками движения инструмента и заготовки, обозначьте их и выберите (отметьте) соответствующий вид обработки резанием
а) зенкерование б) внутреннее протягивание в) сверление  
Покажите стрелками движения инструмента и заготовки, обозначьте их и выберите (отметьте) соответствующий вид обработки резанием
а) зубонарезание модульной червячной фрезой б) зубонарезание модульной дисковой фрезой в) ротационное точение
Покажите стрелками движения инструмента и заготовки, обозначьте их и выберите (отметьте) соответствующий вид обработки резанием
а) наружное протягивание б) зенкование в) зубонарезание модульной пальцевой фрезой  
Покажите стрелками движения инструмента и заготовки, обозначьте их и выберите (отметьте) соответствующий вид обработки резанием
а) внутреннее шлифование б) круговое фрезерование в) зуботочение долбяком

 

Покажите стрелками движения инструмента и заготовки, обозначьте их и выберите (отметьте) соответствующий вид обработки резанием
а) внутреннее шлифование б) круговое фрезерование в) плоское шлифование периферией круга  
Покажите стрелками движения инструмента и заготовки, обозначьте их и выберите (отметьте) соответствующий вид обработки резанием
а) бесцентровое шлифование б) круговое фрезерование в) круглое наружное шлифование  
Покажите стрелками движения инструмента и заготовки, обозначьте их и выберите (отметьте) соответствующий вид обработки резанием
а) заточка лезвия фрезы б) зуботочение долбяком в) бесцентровое шлифование  
Покажите стрелками движения инструмента и заготовки, обозначьте их и выберите (отметьте) соответствующий вид обработки резанием
а) цекование б) зубонарезание модульной пальцевой фрезой в) центрование
Покажите стрелками движения инструмента и заготовки, обозначьте их и выберите (отметьте) соответствующий вид обработки резанием
а) зенкерование б) зенкование в) сверление

 

Покажите стрелками движения инструмента и заготовки, обозначьте их и выберите (отметьте) соответствующий вид обработки резанием
а) развертывание б) цекование в) внутреннее протягивание
  Покажите стрелками движения инструмента и заготовки, обозначьте их и выберите (отметьте) соответствующий вид обработки резанием
а) круговое фрезерование б) центрование в) зенкование  
Покажите стрелками движения инструмента и заготовки, обозначьте их и выберите (отметьте) соответствующий вид обработки резанием
а) торцовое фрезерование б) цекование в) развертывание  
Покажите стрелками движения инструмента и заготовки, обозначьте их и выберите (отметьте) соответствующий вид обработки резанием
а) периферийное фрезерование б) круговое фрезерование в) ротационное точение  
Покажите стрелками движения инструмента и заготовки, обозначьте их и выберите (отметьте) соответствующий вид обработки резанием
а) зубострогание б) плоское шлифование торцом круга в) торцовое фрезерование  

 

Покажите стрелками движения инструмента и заготовки, обозначьте их и выберите (отметьте) соответствующий вид обработки резанием
а) ротационное точение б) круговое фрезерование в) зубнарезание модульной червячной фрезой
Покажите стрелками движения инструмента и заготовки, обозначьте их и выберите (отметьте) соответствующий вид обработки резанием
а) зуботочение долбяком б) развертывание в) внутреннее протягивание  
Покажите стрелками движения инструмента и заготовки, обозначьте их и выберите (отметьте) соответствующий вид обработки резанием
а) зуботочение долбяком б) зубострогание в) зубодолбление  
Покажите стрелками движения инструмента и заготовки, обозначьте их и выберите (отметьте) соответствующий вид обработки резанием
а) зубострогание б) зубодолбление в) зуботочение долбяком
Покажите стрелками движения инструмента и заготовки, обозначьте их и выберите (отметьте) соответствующий вид обработки резанием
а) плоское шлифование торцом круга б) круглое наружное шлифование в) торцовое фрезерование  

 


Покажите стрелками движения инструмента и заготовки, обозначьте их и выберите (отметьте) соответствующий вид обработки резанием
а) бесцентровое шлифование б) заточка лезвия фрезы в) круглое наружное шлифование  
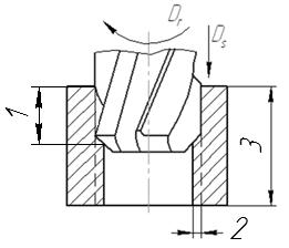
Выберите (отметьте) соответствующей кинематической схеме вид обработки резанием
а) строгание б) строгание по копиру в) сверление
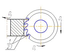
Выберите (отметьте) соответствующей кинематической схеме вид обработки резанием
а)круговое протягивание б) долбление в) шлифование
Выберите (отметьте) соответствующей кинематической схеме вид обработки резанием
а)обтачивание конуса б) круговое фрезерование в) копировальное фрезерование
Выберите (отметьте) соответствующей кинематической схеме вид обработки резанием
а) круглое шлифование б) копировальное фрезерование в) зубонарезание червячной фрезой
Выберите (отметьте) соответствующей кинематической схеме вид обработки резанием
а)круговое фрезерование б) ротационное точение в) протягивание
Выберите (отметьте) соответствующей кинематической схеме вид обработки резанием
а) обтачивание б) плоское шлифование в) шлифование торцом круга
Выберите (отметьте) соответствующей кинематической схеме вид обработки резанием
а) отрезание б) осевая обработка в) плоское шлифование
Выберите (отметьте) соответствующей кинематической схеме вид обработки резанием
а) затылование червячных фрез б) отрезание в) долбление

 

Выберите (отметьте) соответствующей кинематической схеме вид обработки резанием
а) обтачивание конической поверхности б) ротационное точение в) затылование червячных фрез
Выберите (отметьте) соответствующей кинематической схеме вид обработки резанием
а) затылование круговых протяжек б) затылование червячных фрез в) копировальное фрезерование
Выберите (отметьте) соответствующей кинематической схеме вид обработки резанием
а) круговое фрезерование б) шлифование торцом круга в) копировальное фрезерование
Выберите (отметьте) соответствующей кинематической схеме вид обработки резанием
а) вихревое резьбонарезание б) ротационное точение в) зубонарезание модульной фрезой

 


Выберите (отметьте) соответствующей кинематической схеме вид обработки резанием
а) круговое фрезерование б) зубонарезание червячной фрезой в) копировальное фрезерование
Выберите (отметьте) соответствующей кинематической схеме вид обработки резанием
а) круговое шлифование б) шлифование торцом круга в) плоское шлифование
Выберите (отметьте) кинематическую схему резания, соответствующую виду обработки резанием
а) б) в)
Выберите (отметьте) кинематическую схему резания, соответствующую виду обработки резанием
а) б) в)
Выберите (отметьте) кинематическую схему резания, соответствующую виду обработки резанием
а) б) в)
Выберите (отметьте) кинематическую схему резания, соответствующую виду обработки резанием
а) б) в)
       

 

Выберите (отметьте) кинематическую схему резания, соответствующую виду обработки резанием
а) б) в)
Выберите (отметьте) кинематическую схему резания, соответствующую виду обработки резанием
а) б) в)
Выберите (отметьте) кинематическую схему резания, соответствующую виду обработки резанием

 

а) б) в)
Выберите (отметьте) кинематическую схему резания, соответствующую виду обработки резанием
а) б) в)
Выберите (отметьте) кинематическую схему резания, соответствующую виду обработки резанием
а) б) в)

 

Выберите (отметьте) кинематическую схему резания, соответствующую виду обработки резанием
а) б) в)
Выберите (отметьте) кинематическую схему резания, соответствующую виду обработки резанием
а) б) в)
Выберите (отметьте) кинематическую схему резания, соответствующую виду обработки резанием

 

а) б) в)
Выберите (отметьте) кинематическую схему резания, соответствующую виду обработки резанием
а) б) в)
Выберите (отметьте) правильный вариант указанной поверхности заготовки
а) обрабатываемая б) обработанная в) поверхность резания
Выберите (отметьте) правильный вариант указанной поверхности заготовки
а) обрабатываемая б) обработанная в) поверхность резания
       

 

Выберите (отметьте) правильный вариант указанной поверхности заготовки
а) обрабатываемая б) обработанная в) поверхность резания
Выберите (отметьте) правильный вариант указанной поверхности заготовки
а) обрабатываемая б) обработанная в) поверхность резания
Выберите (отметьте) правильный вариант указанной поверхности заготовки
а) обрабатываемая б) обработанная в) поверхность резания
Выберите (отметьте) правильный вариант указанной поверхности заготовки
а) обрабатываемая б) обработанная в) поверхность резания  
Выберите (отметьте) правильный вариант указанной поверхности заготовки
а) обрабатываемая б) обработанная в) поверхность резания

 


Выберите (отметьте) правильный вариант указанной поверхности заготовки
а) обрабатываемая б) обработанная в) поверхность резания
Выберите (отметьте) правильный вариант указанной поверхности заготовки
а) обрабатываемая б) обработанная в) поверхность резания
Выберите (отметьте) правильный вариант указанной поверхности заготовки
а) обрабатываемая б) обработанная в) поверхность резания
Выберите (отметьте) правильный вариант указанной поверхности заготовки
а) обрабатываемая б) обработанная в) поверхность резания
Выберите (отметьте) правильный вариант указанной поверхности заготовки
а) обрабатываемая б) обработанная в) поверхность резания

 

Выберите (отметьте) правильный вариант указанной поверхности заготовки
а) обрабатываемая б) обработанная в) поверхность резания
Выберите (отметьте) правильный вариант указанной поверхности заготовки
а) обрабатываемая б) обработанная в) поверхность резания
Выберите (отметьте) правильный вариант указанной поверхности заготовки
а) обрабатываемая б) обработанная в) поверхность резания
Выберите (отметьте) правильный вариант указанной поверхности заготовки
а) обрабатываемая б) обработанная в) поверхность резания
Выберите (отметьте) правильный вариант указанной поверхности заготовки
а) обрабатываемая б) обработанная в) поверхность резания  

 

Выберите (отметьте) правильный вариант указанной поверхности заготовки
а) обрабатываемая б) обработанная в) поверхность резания
Выберите (отметьте) правильный вариант указанной поверхности заготовки
а) обрабатываемая б) обработанная в) поверхность резания
Выберите (отметьте) правильный вариант указанной поверхности заготовки
а) обрабатываемая б) обработанная в) поверхность резания
Выберите (отметьте) правильный вариант указанной поверхности заготовки
а) обрабатываемая б) обработанная в) поверхность резания

 

Выберите (отметьте) правильный вариант указанной поверхности заготовки
а) обрабатываемая б) обработанная в) поверхность резания
Выберите (отметьте) правильный вариант указанной поверхности заготовки
а) обрабатываемая б) обработанная в) поверхность резания
Выберите (отметьте) правильный вариант указанной поверхности заготовки
а) обрабатываемая б) обработанная в) поверхность резания
Укажите к какому виду фрезерования относится данная схема обработки
а) встречное б) попутное в) равномерное
Укажите к какому виду фрезерования относится данная схема обработки
а) встречное б) попутное в) равномерное

 

Покажите на схеме вида обработки резанием правильный вариант геометрических и технологических параметров срезаемого и снимаемого слоев
А – толщина срезаемого слоя, a Б – ширина срезаемого слоя, b В – подача, So Г – глубина резания, t  
       
А Б В Г

 

       
В Г А Б

 

       
Г Б В А

 

Покажите на схеме вида обработки резанием правильный вариант геометрических и технологических параметров срезаемого и снимаемого слоев

А – толщина срезаемого слоя, a

Б – ширина срезаемого слоя, b

В – подача, So

Г – глубина резания, t

 

А Б В Г
       

 

Г Б В А
       

 

А Б В Г
       

 

Покажите на схеме вида обработки резанием правильный вариант геометрических и технологических параметров срезаемого и снимаемого слоев
А – толщина срезаемого слоя, a Б – ширина срезаемого слоя, b В – подача, So Г – глубина резания, t  
       
А Б В Г

 

       
А Г Б В

 

       
Г Б В А

 


 

Покажите на схеме вида обработки резанием правильный вариант геометрических и технологических параметров срезаемого и снимаемого слоев
А – толщина срезаемого слоя, a Б – ширина срезаемого слоя, b В – подача, So Г – глубина резания, t  
       
Г Б В А

 

       
А Б В Г

 

       
Б А Г В

 

Покажите на схеме вида обработки резанием правильный вариант геометрических и технологических параметров срезаемого и снимаемого слоев
  А – толщина срезаемого слоя, a Б – ширина срезаемого слоя, b В – глубина врезания фрезы Г – подача, So Д – глубина резания, t  
       
А Б В Г, Д

 

       
В Б, Д Г А

 

       
А Б, В Г Д

 

Покажите на схеме вида обработки резанием правильный вариант геометрических и технологических параметров срезаемого и снимаемого слоев
А – толщина срезаемого слоя, a Б – ширина срезаемого слоя, b В – подача, So Г – глубина резания, t  
       
А В Б Г

 

       
В А Г Б

 

       
Г А Б В

 


 

Покажите на схеме обработки резанием припуск, снимаемый и срезаемый слой
А – срезаемый слой Б – снимаемый слой В – припуск
     
А Б В

 

     
Б А В

 

     
В А Б

 

Выберите (отметьте) соответствующее схеме вида обработки резанием сечение срезаемого слоя
А) Б) В)
Выберите (отметьте) соответствующее схеме вида обработки резанием сечение срезаемого слоя
А) Б) В)
Выберите (отметьте) соответствующее схеме вида обработки резанием сечение срезаемого слоя
А) Б) В)
Выберите (отметьте) соответствующее схеме вида обработки резанием сечение срезаемого слоя
А) Б) В)
Выберите (отметьте) соответствующее схеме вида обработки резанием сечение срезаемого слоя
А) Б) В)
Выберите (отметьте) соответствующее схеме вида обработки резанием сечение срезаемого слоя
       

 

А) Б) В)
Выберите (отметьте) соответствующее схеме вида обработки резанием сечение срезаемого слоя
А) Б) В)
Выберите (отметьте) соответствующее схеме вида обработки резанием сечение срезаемого слоя
А) Б) В)
Выберите (отметьте) соответствующее схеме вида обработки резанием сечение срезаемого слоя

 

А) Б) В)
Выберите (отметьте) соответствующее схеме вида обработки резанием сечение срезаемого слоя
А) Б) В)
Выберите (отметьте) соответствующее схеме вида обработки резанием сечение срезаемого слоя
А) Б) В)
Выберите (отметьте) соответствующее схеме вида обработки резанием сечение срезаемого слоя
А) Б) В)

 

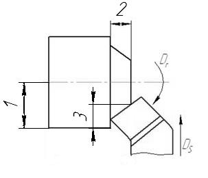
Отметьте правильный вариант глубины резания t
а) 1 б) 2 в) 3
Отметьте правильный вариант глубины резания t
а) 1 б) 2 в) 3
Отметьте правильный вариант глубины резания t
а) 1 б) 2 в) 3

 

Отметьте правильный вариант глубины резания t
а) 1 б) 2 в) 3
Отметьте правильный вариант глубины резания t
а) 1 б) 2 в) 3
Отметьте правильный вариант глубины резания t
а) 1 б) 2 в) 3

 

Отметьте правильный вариант глубины резания t
а) 1 б) 2 в) 3
Отметьте правильный вариант глубины резания t
а) 1 б) 2 в) 3
Отметьте правильный вариант глубины резания t
а) 1 б) 2 в) 3

 

Укажите правильный вариант обозначения элементов лезвия токарного резца

 

А. Передняя поверхность Б. Вершина В. Главная задняя поверхность Г. Вспомогательная задняя поверхность Д. Главная режущая кромка Е. Вспомогательная режущая кромка  
           
А Б В Д Г Е

 

           
Б Г В Д А Е

 

           
В Г Д А Б Е

 

 

Укажите элементы лезвия сверла
А. Главная режущая кромка Б. Задняя поверхность В. Передняя поверхность Г. Перемычка  
       
Г А В Б

 

       
А Б В Г

 

 

       
А Г В Б

 

Укажите элементы лезвия фрезы
А. Передняя поверхность Б. Задняя поверхность В. Главная режущая кромка Г. Вспомогательная режущая кромка  
       
Б В Г А

 

       
А Б В Г

 

       
Г В Б А

 

 


 

Отметьте правильное наименование и расположение плоскостей статической системы координат
А. Главная секущая плоскость Б. Основная плоскость В. Плоскость резания Г. Рабочая плоскость  
       
Б В Г А

 

       
А Б В Г

 

       
В А Б Г

 

Отметьте правильное определение статической системы координат
а) Прямоугольная система координат с началом в рассматриваемой точке режущей кромки, ориентированная осносительно направления скорости главного движения резания б) Прямоугольная система координат с началом в рассматриваемой точке режущей кромки, ориентированная осносительно направления скорости результирующего движения резания в) Прямоугольная система координат с началом в вершине лезвия, ориентированная относительно геометрических элементов режущего инструмента, принятых за базу
Отметьте правильное определение кинематической системы координат
а) Прямоугольная система координат с началом в рассматриваемой точке режущей кромки, ориентированная осносительно направления скорости главного движения резания б) Прямоугольная система координат с началом в рассматриваемой точке режущей кромки, ориентированная осносительно направления скорости результирующего движения резания в) Прямоугольная система координат с началом в вершине лезвия, ориентированная относительно геометрических элементов режущего инструмента, принятых за базу
Отметьте правильное определение инструментальной системы координат
а) Прямоугольная система координат с началом в рассматриваемой точке режущей кромки, ориентированная осносительно направления скорости главного движения резания б) Прямоугольная система координат с началом в рассматриваемой точке режущей кромки, ориентированная осносительно направления скорости результирующего движения резания в) Прямоугольная система координат с началом в вершине лезвия, ориентированная относительно геометрических элементов режущего инструмента, принятых за базу
Выберите (отметьте) наименование угла лезвия инструмента
а) угол заострения б) передний угол в) задний угол
     

 

Выберите (отметьте) наименование угла лезвия инструмента
а) передний угол б) угол наклона кромки в) угол в плане
Выберите (отметьте) наименование угла лезвия инструмента
а) угол в плане б) угол резания в) угол заострения
Выберите (отметьте) наименование угла лезвия инструмента
а) угол заострения б) задний угол в) угол при вершине
Выберите (отметьте) наименование угла лезвия инструмента
а) главный угол в плане б) вспомогательный угол в плане в) передний угол  
Выберите (отметьте) наименование угла лезвия инструмента
а) задний угол б) главный угол в плане в) вспомогательный угол в плане  
Выберите (отметьте) наименование угла лезвия инструмента
а) угол заострения б) угол резания в) угол в плане

 

Определите правильное сочетание значений углов резца в главной секущей плоскости
Передний угол=50 Задний угол=? Угол заострения=770 Угол резания=?  
       

 

       

 

       

 

Определите правильное сочетание значений углов резца в основной плоскости
Главный угол в плане = 45о Вспомогательный угол в плане = 45 о Угол при вершине =?  
     

 

     

 

     

 

Выберите правильный вариант значений элементов режима резания при обтачивании заготовки
D=20 мм D=16 мм n=1200 мин-1 l2мин=480 мм  
t, мм v, м/мин s, мм/об
  75,3 0,4

 

t, мм v, м/мин s, мм/об
    0,8

 

t, мм v, м/мин s, мм/об
  75,3 0,4

 

 

Выберите правильный вариант глубины резания и частоты вращения шпинделя станка
Подрезание торца за 1 проход v=40 м/мин  
t мм n об/мин
   

 

t мм n об/мин
   

 

t мм n об/мин
   

 

 


 

Выберите правильный вариант глубины резания и частоты вращения шпинделя станка

Протачивание канавки

v=20 м/мин

 

t мм n об/мин
   

 

t мм n об/мин
3,5  

 

t мм n об/мин
   

 

Укажите углы лезвия насадного зенкера
А. Главный угол в плане Б. Передний угол В. Задний угол Г. Угол заострения Д. Вспомогательный угол в плане Е. Угол резания  
           
А Е Б В Г Д

 

           
А Д Б В Г Е

 

           
Б Д Е А Г В

 

Укажите углы лезвия цековки
А. Главный угол в плане Б. Передний угол В. Задний угол Г. Угол наклона винтовых канавок . Д. Угол заострения Е. Угол резания Ж. Вспомогательный угол в плане З. Угол при вершине  
               
Ж Е Г З Б В Д А

 

               
А Ж Г З Б В Д Е

 

               
Г А Ж З Б В Д Е

 

 


 

Укажите углы лезвия зенковки
А. Угол при вершине . Б. Передний угол В. Задний угол Г. Угол наклона винтовых канавок . Д. Угол заострения Е. Угол резания  
           
А Г В Б Д Е

 

           
А Б В Г Д Е

 

           
Е В А Б Д Г

 

Укажите углы лезвия метчика
А. Передний угол Б. Задний угол В. Угол заострения Г. Угол резания  
       
А Б В Г

 

       
Б А В Г

 

       
Б Г В А

 

Укажите углы лезвия развертки
А. Угол резания Б. Передний угол В. Задний угол Г. Угол наклона винтовых канавок . Д. Угол заострения  
         
Г В Б Д А

 

         
А Б В Г Д

 

         
А Д Б В Г

 


 

Укажите углы лезвия концевой фрезы
А. Угол резания Б. Передний угол В. Задний угол Г. Угол наклона винтовых канавок . Д. Угол заострения  
         
А Б В Г Д

 

         
Г В Б Д А

 

         
А В Б Д Г

 

Укажите углы лезвия концевой резьбовой гребенчатой фрезы
А. Угол резания Б. Передний угол В. Задний угол Г. Угол наклона винтовых канавок . Д. Угол заострения  
         
Г Б В Д А

 

         
А Б В Г Д

 

         
А Б Д В Г

 

 

Укажите углы лезвия цилиндрической развертки
А. Главный угол в плане Б. Передний угол В. Задний угол Г. Вспомогательный угол в плане Д. Угол заострения





Date: 2015-06-06; view: 677; Нарушение авторских прав



mydocx.ru - 2015-2026 year. (1.014 sec.) Все материалы представленные на сайте исключительно с целью ознакомления читателями и не преследуют коммерческих целей или нарушение авторских прав - Пожаловаться на публикацию