Главная Случайная страница


Полезное:

Как сделать разговор полезным и приятным Как сделать объемную звезду своими руками Как сделать то, что делать не хочется? Как сделать погремушку Как сделать так чтобы женщины сами знакомились с вами Как сделать идею коммерческой Как сделать хорошую растяжку ног? Как сделать наш разум здоровым? Как сделать, чтобы люди обманывали меньше Вопрос 4. Как сделать так, чтобы вас уважали и ценили? Как сделать лучше себе и другим людям Как сделать свидание интересным?


Категории:

АрхитектураАстрономияБиологияГеографияГеологияИнформатикаИскусствоИсторияКулинарияКультураМаркетингМатематикаМедицинаМенеджментОхрана трудаПравоПроизводствоПсихологияРелигияСоциологияСпортТехникаФизикаФилософияХимияЭкологияЭкономикаЭлектроника






Принятые обозначения





1. Точки, расположенные в пространстве, обозначают прописными буквами латинского алфавита А, В, С, D, … или римскими цифрами I, II, III,....

2. Ортогональные проекции точек – строчными буквами латинского алфавита или арабскими цифрами: а, b, с, в, … или 1, 2, 3, 4,... – на горизонтальной плоскости проекций; а', b', с', в',..., 1', 2', 3', 4', … – на фронтальной плоскости проекций; а", b", с", в",... – на профильной плоскости проекций.

3. Прямые линии в пространстве задаются отрезками: АВ, CD, EF,...; проекции отрезков прямых линий: ab, а'b', а′′b′′, сd, с'd′, с′′d'′; 1–2, 1'–2',...; 1– а, 1'– а ',....

4. Плоскости, расположенные в пространстве, – прописными буквами латинского алфавита: Р, Q, R, S, Т, … или АВС; проекции отсеков плоскостей: abc, а'b' с' …; плоскости проекций: горизонтальная – Н, фронтальная – V, профильная – W; плоскости, заданные следами: РH, РV, QH, QV, ….

5. Поверхности – прописными буквами греческого алфавита: Г, П, S, Ф,....

6. Углы – строчными буквами греческого алфавита: α, b, g, …; символическими записями: × АВС; прямой угол – графическим обозначением (дуга с точкой внутри).

7. Основные операции: совпадение (тождественность) двух геометрических элементов – АВ; а' ≡ b',...; пересечение прямых, плоскостей - значком x; параллельность прямых, плоскостей - значком ||: АВ || CD; ^ – знак перпендикулярности; v – знак принадлежности; ∩ - знак пересечения; _ - логическое следствие.

8. Главные линии в плоскости: а) горизонталь: ГПГ - горизонтальная проекция горизонтали; ФПГ – фронтальная проекция горизонтали; б) фронталь: ФПФ - фронтальная проекция фронтали; ГПФ - горизонтальная проекция фронтали; в) ЛНС - линия наибольшего ската. В пространстве: h – горизонталь, f – фронталь.

9. Фронтальный след прямой линии – буквой V, горизонтальный – буквой Н.

11. НВ – натуральная величина.

 


Рисунок 1 – Пример оформления формата А3 вертикальной ориентации

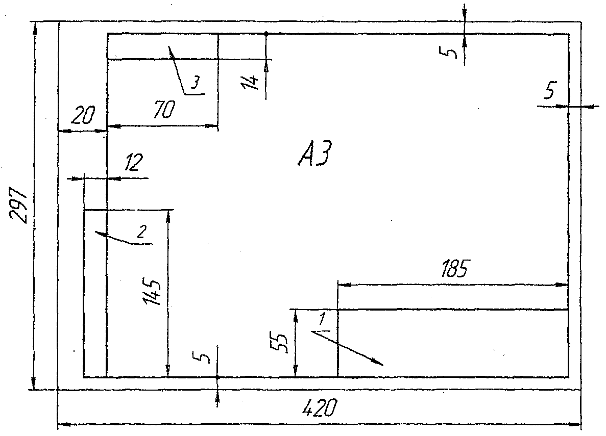
Рисунок 2 – Пример оформления формата А3 горизонтальной ориентации


Рисунок 3 – Формат чертежного листа А 3, А 2, А 1 при их горизонтальном расположении.

 

 








Date: 2015-09-24; view: 633; Нарушение авторских прав



mydocx.ru - 2015-2026 year. (1.653 sec.) Все материалы представленные на сайте исключительно с целью ознакомления читателями и не преследуют коммерческих целей или нарушение авторских прав - Пожаловаться на публикацию