Главная Случайная страница


Полезное:

Как сделать разговор полезным и приятным Как сделать объемную звезду своими руками Как сделать то, что делать не хочется? Как сделать погремушку Как сделать так чтобы женщины сами знакомились с вами Как сделать идею коммерческой Как сделать хорошую растяжку ног? Как сделать наш разум здоровым? Как сделать, чтобы люди обманывали меньше Вопрос 4. Как сделать так, чтобы вас уважали и ценили? Как сделать лучше себе и другим людям Как сделать свидание интересным?


Категории:

АрхитектураАстрономияБиологияГеографияГеологияИнформатикаИскусствоИсторияКулинарияКультураМаркетингМатематикаМедицинаМенеджментОхрана трудаПравоПроизводствоПсихологияРелигияСоциологияСпортТехникаФизикаФилософияХимияЭкологияЭкономикаЭлектроника






Регулирование частоты вращения синхронных двигателей. Вентильный двигатель





Принципы регулирования. Частота вращения синхронного двигателя п 2 равна частоте вращающегося магнитного поля n 1 = 60 f 1/ p. Следовательно, ее можно регулировать путем изменения частоты питающего напряжения или числа полюсов 2 р. Регулировать частоту вращения путем изменения числа полюсов в синхронном двигателе нецелесообразно, так как в отличие от асинхронного здесь требуется изменять число полюсов как на статоре, так и на роторе, что приводит к значительному усложнению конструкции ротора. Поэтому практически используют лишь изменение частоты питающего напряжения.

К синхронному двигателю применимы все основные положения теории частотного регулирования асинхронного двигателя, в том числе необходимость одновременного изменения как частоты, так и питающего напряжения. Однако в чистом виде частотное регулирование частоты вращения синхронных двигателей применяется только при очень малых мощностях, когда нагрузочные моменты невелики, а инерция приводного механизма мала. При больших мощностях такие условия имеются только в некоторых типах электроприводов, например в электроприводах вентиляторов.

Для синхронных двигателей, применяемых в электроприводах с большим моментом инерции приводного механизма, необходимо очень плавно изменять частоту питающего напряжения, чтобы двигатель не выпал из синхронизма. Особенно сложным является пуск в ход двигателя, когда начальная частота должна составлять доли герца, а затем постепенно повышаться до максимального значения. Для таких электроприводов наиболее пригодным является метод частотного регулирования с самосинхронизацией, при котором двигатель в принципе не может выпасть из синхронизма.

Частотное регулирование без самосинхронизации. Электромагнитный момент синхронного двигателя

(6.48)

М = с м I а Ф в cos ψ = с м I а Ф в cos (φ + θ).

При частотном регулировании обычно стремятся получить режим работы двигателя с cos φ = 1, когда в обмотке якоря имеются минимальные потери энергии. Для этого ток якоря I а должен поддерживаться постоянным и минимальным:

(6.49)

I аmin = М /(с м Ф в cos θ).

Из (6.49) следует, что при неизменных нагрузочном моменте н = М = const) и потоке возбуждения в = const), т. е. токе возбуждения (I в = const), угол θ в процессе регулирования частоты не должен изменяться. Однако при изменении частоты f 1 изменяются ЭДС Е 0, угловая скорость ротора ω 1 и индуктивное сопротивление Х сн (или сопротивления Х d и X q при явно-полюсном роторе), т. е.

(6.50)

Е 0 0ном = Х сн сн.ном = ω 1 1ном =f 1 /f 1ном.

Поэтому при частотах питающего напряжения f 1, отличных от номинальной частоты f 1ном, формула электромагнитного момента [см. (6.35)] принимает вид

(6.51)

M = mUE 0 sin θ = mE 0ном U * f 1ном sin θ = C U sin θ = const,
ω1Xсн ω 1ном X сн ном f 1 f 1

где С = mЕ 0ном f 1ном /(ω 1ном Х сн.ном ) - постоянная.

Из (6.51) следует, что при неизменных значениях нагрузочного момента М н = М и тока якоря
I а = I амин необходимо выдерживать условие

(6.52)

U/f 1 = const,

Рис. 6.50. Векторные диаграммы синхронного двигателя, питаемого от преобразователя частоты при постоянном нагрузочном моменте: а — при постоянном угле θ и cos φ = 1; б — при изменении угла θ

т. е. изменять напряжение U, подаваемое к электродвигателю от преобразователя частоты, пропорционально изменению частоты f 1. При соблюдении условия (6.52) все стороны треугольника ОАВ (рис. 6.50, а) изменяются пропорционально частоте, а угол 0 остается неизменным. При изменении нагрузки необходимо в соответствии с (6.48) изменять поток возбуждения Ф в, т. е. ток возбуждения I в.

Вентильный двигатель. Принцип частотного регулирования с самосинхронизацией заключается в том, что управление преобразователем частоты осуществляется от системы датчиков положения ротора, вследствие чего напряжение подается на каждую фазу двигателя при углах нагрузки θ < 90°. При таком регулировании автоматически обеспечиваются условия устойчивой работы двигателя и его перегрузочная способность определяется только перегрузочной способностью преобразователя частоты.

Синхронные двигатели, регулируемые путем изменения частоты с самосинхронизацией, называют вентильными двигателями; иногда их называют бесколлекторными двигателями постоянного тока. Однако первое название является более правильным, так как эти двигатели могут получать питание от сети как постоянного, так и переменного тока.


При питании вентильного двигателя от сети постоянного тока в преобразователе частоты должны применяться тиристоры с узлами принудительной коммутации. В двигателях малой мощности допустимо применение транзисторов. При питании вентильного двигателя от тиристорного преобразователя частоты, основанного на использовании автономного инвертора напряжения (рис. 6.51, а),преобразователь подключен к источнику постоянного тока и формирует трехфазное напряжение изменяющейся частоты, которое подается на фазы А, В и С обмотки якоря двигателя. К каждой фазе можно подвести положительное (тиристорами Т1, Т2 и Т3) и отрицательное (тиристорами Т4, Т5 и Т6) напряжения.

Если сначала пропускать ток через фазы А и В (открыты тиристоры Т1 и Т5), затем — через В и С (открыты тиристоры Т2 и Т6), потом — через фазы С и А (открыты тиристоры Т3 и Т4) и другие в указанной последовательности, то в машине создается вращающееся магнитное поле. При изменении частоты переключения тиристоров изменяется частота переменного напряжения, подаваемого на фазы обмотки якоря, а следовательно, и частота вращения ротора. Для замыкания реактивной составляющей тока якоря в преобразователе имеются диоды Д1Д6, включенные параллельно тиристорам, но в обратном направлении.

Коммутация тока в тиристорном преобразователе (переключение тока с одной фазы на другую) требует применения в нем специальных коммутирующих узлов, так как тиристор является не полностью управляемым прибором. Для закрытия тиристора, включенного в цепь постоянного тока, необходимо кратковременно подать на него обратное напряжение определенного значения. В рассматриваемом преобразователе применены два узла принудительной (искусственной) коммутации — по одному для всех тиристоров, присоединяемых соответственно к положительному и отрицательному полюсам источника постоянного тока. Каждый узел состоит из контура L—С и вспомогательных тиристоров.

Закрытие тиристоров T1, T2 и Т3,присоединенных к положительному полюсу, производится контуром L1— С1. При открытии вспомогательного тиристора T11 конденсатор С1 заряжается через индуктивность L1 до двойного напряжения сети и запирает тиристор Т11. Затем открываются вспомогательные тиристоры Т12, Т22 или Т23 и подают на тиристоры T1, T2 или Т3 обратное (положительное) напряжение. При этом соответствующий тиристор запирается, а конденсатор С1 разряжается через нагрузку. Аналогично запираются тиристоры Т4, Т5 и Т6. Сначала открывается вспомогательный тиристор Т12 и через индуктивность L2 заряжает конденсатор С2. Затем открываются вспомогательные тиристоры Т24, Т25 или Т26 и присоединяются аноды тиристоров Т4, Т5 или Т6 к отри­цательной обкладке конденсатора С2.

Напряжение, подаваемое к якорю вентильного двигателя от преобразователя частоты, является, так же как и при частотном регулировании асинхронного двигателя, несинусоидальным. Поэтому, чтобы уменьшить вредные воздействия высших гармонических напряжения, тока и потока, двигатель необходимо снабдить мощной демпферной обмоткой с малыми активными и индуктивными сопротивлениями. В этом случае высшие гармонические оказывают на синхронный двигатель сравнительно небольшое воздействие. При наличии такой обмотки режимы работы вентильного двигателя можно рассматривать с учетом только первых гармонических тока и напряжения.


Режим работы вентильного двигателя зависит не только от силы тока возбуждения и соотношения между напряжением и частотой. Большое значение имеют также моменты подачи напряжения на фазы двигателя и параметры преобразователя частоты.

В преобразователе частоты, основанном на использовании инвертора напряжения (рис. 6.51, а),значение выходного напряжения почти не зависит от режима работы двигателя, поэтому регулирование необходимо вести при постоянстве угла в. Это можно осуществить, определяя с помощью какого-либо датчика положение оси полюсов ротора (а следовательно, и направление вектора É 0) и регулируя подачу управляющих импульсов на тиристоры преобразователя так, чтобы выходное напряжение преобразователя подавалось на соответствующие фазы двигателя с некоторым углом опережения β0 ≈ θ (угол регулирования) относительно положения вектора É 0для данной фазы. Можно также определять ось результирующего магнитного потока и подавать питание на соответствующую фазу с требуемым углом β0. Оба эти метода имеют свои преимущества и недостатки, обусловленные в основном особенностями применяемых датчиков и управляющих устройств.

В рассматриваемой схеме питания вентильного двигателя угол регулирования β 0 практически полностью определяет угол θ. Если положить β 0 ≈ θ, то при постоянных значениях частоты питающего напряжения и тока возбуждения (т. е. ω1 и ЭДС E 0) формула (6.35) принимает вид

М = [mUE 0 /(ω 1 X сн )] sin θ = cU sin θ = const.

Рис. 6.51. Схемы питания вентильного двигателя от тиристорного преобразователя частоты с инвертором напряжения (а) и тока (б)

Следовательно, при изменении угла регулирования β0 ≈ θ для поддержания неизменным момента М нужно регулировать напряжение U, подводимое к двигателю от преобразователя. На рис. 6.50, б показано несколько положений векторов Ú, Í а и - a X сн при Е 0 = const и различных значениях угла опережения β0 = θ1 векторы Ú 1, Í al и - a1 X сн направлены так, что ток Í a1 совпадает по фазе с напряжением Ú 1 и является минимальным; при уменьшении угла β0 до β02 = θ2напряжение, подводимое к двигателю, необходимо увеличить до U 2; при этом ток Í a2 будет отставать от Ú 2 на угол φ2; при увеличении угла β0 до β03 = θ3 необходимо уменьшать напряжение, подводимое к двигателю до U 3, при этом ток Í a3 будет опережать Ú п3 на угол φ3. Так как величина U sinθ на векторной диаграмме (рис. 6.50, б) выражается отрезком АВ, то при изменении угла опережения конец вектора напряжения — Ú перемещается по прямой ВАС, проходящей через точку А и параллельной вектору É 0. Ток якоря I а при таком регулировании может существенно увеличиться, а максимальный момент двигателя в режиме, когда ток Í a отстает от напряжения Ú преобразователя (например, в положениях Í a2 и Ú 2), уменьшится. В преобразователе частоты, основанном на использовании инвертора тока, большая индуктивность L в цепи постоянного тока (рис. 6.51, б) позволяет считать ток якоря Iа практически неизменным (ток Iа имеет прямоугольную форму). Вследствие этого угол опережения β0 определяет положение вектора тока Í a на диаграмме двигателя относительно положения вектора ЭДС É 0.


Рис. 6.52. Схема питания вентильного двигателя от преобразователя частоты с непосредственной связью (а) и форма кривой выходного напряжения преобразователя (б)

Для того чтобы двигатель работал при cos φ = 1, вектор тока Í a должен опережать вектор ЭДС É 0 на угол β0, который в зависимости от нагрузки составляет 30—60°. Пусковой момент вентильного двигателя максимален при β0 = 0, поэтому в электроприводах с тяжелыми условиями пуска сначала регулирование ведут при β0 = 0, а с возрастанием частоты вращения начинают задавать некоторый угол опережения. При необходимости питания вентильного двигателя от сети трехфазного тока можно применять преобразователи частоты с непосредственной связью, т. е. без промежуточного выпрямителя (рис. 6.52, а). Преимуществом таких преобразователей является отсутствие узлов принудительной коммутации, так как тиристоры перестают проводить ток после изменения направления напряжения в соответствующей фазе А с, В с, С с источника трехфазного тока. Однако достаточно хорошее приближение формы выходного напряжения к синусоидеи четкое прекращение тока (в необходимый момент) можно получить только в том случае, если источник трехфазного тока имеет частоту в 2 — 3 раза большую, чем выходная частота преобразователя (рис. 6.52, б).

Рис. 6.53. Схема электротрансмиссии автомобиля с вентильными двигателями

 

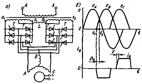
Рис. 6.54. Принципиальная схема питания вентильного двигателя от однофазной сети (а)и графики изменения ЭДС и тока в фазе двигателя (б)

Для примера рассмотренного способа питания вентильного двигателя на рис. 6.53 приведена принципиальная схема электротрансмиссии мощного автомобиля. Дизель Д вращает вал трехфазного синхронного генератора СГ повышенной частоты (800 Гц), примерно с постоянной частотой. Напряжение генератора СГ, значение которого регулируется изменением тока возбуждения, подается на тиристорный преобразователь частоты ПЧ, от которого пониженная частота подается к вентильным тяговым двигателям ВД, каждый из которых вращает ось соответствующего колеса. При этом частота тока на выходе преобразователя регулируется в пределах от 0 до 400 Гц.

На рис. 6.54, а приведена схема питания вентильного двигателя от однофазной сети, разработанная для мощных электровозов переменного тока. Однофазный трансформатор электровоза имеет две вторичные обмотки: а 1х 1 и а 2х 2, средние точки которых соединены между собой дросселем L. К каждой вторичной обмотке подключены шесть тиристоров Т, которые позволяют питать обмотку якоря двигателя трехфазным током, создавая вращающееся магнитное поле. При малой частоте вращения, когда частота выходного напряжения (машинная частота) не превышает 10 Гц, коммутация тиристоров (их запирание) происходит под действием напряжения сети. При повышенных частотах коммутация осуществляется за счет ЭДС, индуцируемых в фазах якоря двигателя, так как включение тиристора, питающего очередную фазу, производится с опережением — в момент времени t 1 (рис. 6.54, б).Иными словами, включение тиристора происходит раньше, чем ЭДС в этой фазе приближается к значению, при котором происходит естественная коммутация вентилей, включенных в соседние фазы (момент времени t 2). Разность ЭДС по контуру двух фаз, замкнутых накоротко включенными тиристорами одной полярности, обеспечивает закрытие тиристора, питающего ту фазу, в которой индуцируется большая ЭДС. Для нормального закрытия тиристоров практически приходится делать угол опережения β0 равным 30—60°, так как индуктивность фаз довольно велика и ток в тиристорах нарастает и спадает плавно.

Использование рассмотренного способа коммутации тиристоров вентильного двигателя дает возможность обеспечить работу при частоте, равной частоте питающей сети или даже большей ее (при так называемых «сверхсинхронных частотах вращения»). Для того чтобы при повышенных частотах вращения форма кривой тока в фазах двигателя была близка к прямоугольной, между вторичными обмотками трансформатора включают мощный дроссель L, обтекаемый током одного направления. Недостатками рассмотренной схемы питания вентильного двигателя являются сложность системы управления и пониженный КПД (из-за наличия большого дросселя).

Вентильные двигатели, как и асинхронные двигатели с частотным регулированием, являются весьма перспективными. В настоящее время происходит быстрое совершенствование мощных тиристоров, интегральных схем и других полупроводвиковых приборов, которое позволит обеспечить надежную работу преобразователей частоты.







Date: 2015-09-05; view: 833; Нарушение авторских прав



mydocx.ru - 2015-2026 year. (1.313 sec.) Все материалы представленные на сайте исключительно с целью ознакомления читателями и не преследуют коммерческих целей или нарушение авторских прав - Пожаловаться на публикацию