Главная Случайная страница


Полезное:

Как сделать разговор полезным и приятным Как сделать объемную звезду своими руками Как сделать то, что делать не хочется? Как сделать погремушку Как сделать так чтобы женщины сами знакомились с вами Как сделать идею коммерческой Как сделать хорошую растяжку ног? Как сделать наш разум здоровым? Как сделать, чтобы люди обманывали меньше Вопрос 4. Как сделать так, чтобы вас уважали и ценили? Как сделать лучше себе и другим людям Как сделать свидание интересным?


Категории:

АрхитектураАстрономияБиологияГеографияГеологияИнформатикаИскусствоИсторияКулинарияКультураМаркетингМатематикаМедицинаМенеджментОхрана трудаПравоПроизводствоПсихологияРелигияСоциологияСпортТехникаФизикаФилософияХимияЭкологияЭкономикаЭлектроника






Схемы и элементы монтажа взрывной сети





Инициирование устройств СИНВ-Ш производится поверхностными устройствами СИНВ-П и детонирующими шнурами. Для их надежного инициирования применяются монтажные соединители СИНВ-П и соединители с ДШ, которые обеспечивают надежный контакт инициируемых волноводов с КД в месте расположения бризантного ВВ и с ДШ.

Монтажный соединитель СИНВ-П служит для присоединения инициируемых волноводов других устройств и для локализации осколочного действия КД.

Монтажный соединитель СИНВ-П в разрезе и размещенные в нем волноводы СИНВ-Ш приведен на рисунке 3. В этом соединителе размещается до 6 волноводов СИНВ-Ш.

При монтаже взрывных сетей концы волноводов, инициируемых устройств, продергиваются через пазы соединителя, которые затем завязываются узлами для исключения разъединения.

 

1 – капсюль-детонатор устройства СИНВ-П; 2 – монтажный соединитель; 3 – волноводы инициируемых устройств СИНВ-Ш

Рисунок 3 – Схема размещения инициируемых волноводов в монтажном соединителе поверхностного устройства СИНВ-П

Три типа соединителей для крепления волноводов устройств СИНВ-Ш с детонирующими шнурами ДШЭ-12, ДШ-В, ДШН-6 и ДШН-10 с навесками 12, 14, 6 и 10 г/м приведены на рисунке 4.

В первом соединителе размещается до 18 волноводов, во втором – два, в третьем – один волновод.

Соединители являются зажимами, изготовленные из пластмассы с пазами или посадочными местами под волноводы идетонирующий шнур. При монтаже взрывной сети конец волновода пропускается через паз или устанавливается в посадочном месте соединителя, а затем зажимается детонирующим шнуром. Для исключения разъединения концы волноводов завязываются в узел.

 

1 – соединитель; 2 – волновод;3 – детонирующий шнур

Рисунок 4 – Соединители волноводов устройств СИНВ с детонирующим шнуром

При большом количестве зарядов, находящихся на небольшом расстоянии, волноводы могут объединяться в связки (пучки) и инициироваться детонирующим шнуром (рисунок 5). Длина волноводов, соединяемых в связки, должна на 2...2,5 м превышать глубину шпура. Связка волноводов формируется обвязыванием изоляционной лентой или проволокой в двух местах таким образом, чтобы длина выровненного участка пучка была не менее 30 см. Количество волноводов в одном пучке допускается не более 20 штук. На выровненном участке связка обвязывается двойной петлей детонирующего шнура. Петля детонирующего шнура должна находиться от обвязки ближней к забою на расстоянии 20 см. Инициирование детонирующего шнура осуществляется электродетонатором. Для исключения повреждения инициируемых волноводов осколками электродетонатора, скорость разлета которых превышает скорость распространения инициирующего импульса в волноводе, соединение должно находится на расстоянии не менее 1 м и может быть присыпано грунтом, укрыто мешком. Волноводы от места соединения должны быть натянуты для исключения спиральных колец.

 

 

1 − волноводы устройств СИНВ-Ш; 2 − детонирующий шнур; 3 − изоляционная лента; 4 − электродетонатор

Рисунок 5 − Схема инициирования связки волноводов от детонирующего шнура.

Передача инициирующего импульса с замедлением от детонирующего шнура к другому детонирующему шнуру через устройство СИНВ-Ш показано на рисунке 6. Соединение ДШ с волноводом и КД устройства СИНВ-Ш осуществляется внакладку с помощью шпагата или изоляционной ленты. Направление процесса инициирования при этой схеме расположения устройств должно осуществляться слева на право. Первоначальный инициирующий импульс может быть от ЭД или от КД устройства СИНВ, который может быть соединен внакладку к волноводу СИНВ-Ш. Длина отрезка волновода инициируемого устройства от места до места его соединения с КД с замедлением должна быть не менее 60 см, а от места инициирования до свободного конца − не менее 8 см.

 

1 – инициирующий детонирующий шнур; 2 – волновод устройства; 3 – капсюль-детонатор с замедлением; 4 –детонирующий шнур

Рисунок 6 – Схема инициирования детонирующих шнуров через устройство СИНВ

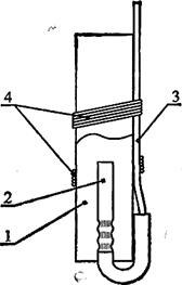
Устройство СИНВ-Ш инициирует патронированные ВВ и шашки-детонаторы. КД пробивает свинцовую пластину толщиной 6 мм с диаметром отверстия, превышающем диаметр КД. Схема изготовления боевика из патрона ВВ с устройствами СИНВ приведена на рисунке 7.

1 – патрон ВВ; 2 – капсюль-детонатор с замедлением; 3 – волновод устройства; 4 – изоляционная лента

Рисунок 7 – Схема изготовления боевиков с СИНВ

3. Эмульсионные ВВ. Состав, характеристики, область применения.. Водосодержащие ВВ типа “сларри” и эмульсионные ВВ


В практике взрывного дела иногда путают понятия “водонаполненное ВВ”, “водосодержащее ВВ”, “эмуль­сионное ВВ”, а потому, чтобы исключить неточности, ниже приведены технические понятия (термины), кото­рыми в дальнейшем будем пользоваться.

Водонаполненное ВВ - это состояние заряда, при ко­тором водоустойчивое гранулированное или кусковое ВВ (гранулотол, алюмотол, тротил, гранипор, дибазит и др.) заряжено в обводненную скважину и высота стол­ба воды в ней, равна или выше высоты заряда. В данном случае в промежутках между кусочками ВВ находится вода.

Водосодержащие ВВ - это группа ВВ, содержащая в своем составе раствор селитр, в их различных физиче­ских состояниях.

Водосодержащим принято также считать скважинный заряд граммонита 79/21, который нижней частью или полностью заряжен в воду. Селитра частично рас­творяется в воде и такой растворонасыщенный граммонит устойчиво детонирует от стандартного промежу­точного детонатора. Для сохранения концентрации рас­твора селитры заряд помешают в полиэтиленовый ру­кав. Остальные водосодержащие ВВ этой группы в Рос­сии называют акватолами, а в зарубежной литературе - сларри.

Ифзаниты - водосодержащие ВВ, представляющие собой смесь гранулированных аммиачной селитры и тротила с заполненным межгранульным пространством, насыщенным загущенным водным раствором селитры с температурой 20°, 60° и 80° С, с добавками структурирующих компонентов.

Карбатолы - водосодержащие горячельющиеся ВВ, изготовляемые из низкотемпературного эвтектического расплава аммиачной селитры и карбамида с добавками гранулотола, алюминия и 3-5 % воды. Плотности рас­плава и гранулотола примерно равны, что исключает расслаиваемость заряда и необходимость применения загустителя, так как смесь при охлаждении быстро твер­деет.

Акватолы -горячельющиеся ВВ типа ГЛТ-20, изго­товляемые из горячего загущенного полиакриламидом, КМЦ или другим загустителем раствора аммиачной се­литры путем добавления в него 20 % тротила. После остывания ГЛТ-20 затвердевает. Температура раствора в процессе приготовления ВВ меняется от 80 до 110° С в летнее и зимнее время соответственно.

ИГДУРО АН разработана рецептура акватолов с изменяемым содержанием тротила от 10 до 20 % более низкой температурой раствора аммиачной селитры 32-40° С. В раствор селитры добавляется тротил, а в про­цессе подачи насосом в скважину добавляются загусти­тель и структурообразователь (сшивка), которые при­дают суспензии гелеобразную консистенцию и опреде­ленную водоустойчивость.

Зарубежные сларри имеют более стабильные физи­ко-химические характеристики и весьма широко приме­няются на карьерах и в подземных условиях в не патро­нированном и патронированном виде.

Эмульсионные ВВ изготавливают путем обработки горячего раствора селитры (смеси аммиачной, кальцие­вой или натриевой селитр) при температуре 80° С с до­бавкой эмульгатора в аппарате эмульгирования, за счет чего образуется обратная эмульсия. При этом раствор которые обволакиваются пленкой масла, за счет чего обратная эмульсия становится абсолютно водоустойчи­вой сметанообразной консистенции. Это зарубежные эмулиты и отечественные порэмиты.


При использовании мазута вместо масла эмульсия по консистенции подобна солидолу и затвердевает при остывании. Для активации эмульсии в нее добавляют газогенерирующую добавку (ГГД) или пористые мате­риалы (стеклянные или полимерные полые микросферы, перлит и т.п.).

Все эмульсии по энергетике одинаковы, так как это 85 %-ый горячий раствор селитры, т.е. жидкое AN-FO или игданит плотностью 1,25-1,33 г/см3.

Для повышения энергетики ЭВВ отечественные раз­работчики по образцу зарубежных вводят в их состав дисперсный алюминий от 4 до 8% (рекомендуется 6 %), а зарубежные фирмы от 4 до 12 %.0бычные ЭВВ имеют теплоту взрыва 700 ккал/кг (3000 кДж/кг), скорость де­тонации 4,5-5,0 км/с плотностью 1,2-1,3 г/см3. Перспек­тивным является введение в состав ЭВВ утилизируемых порохов и ракетных топлив.

Металлизированные - 1040 ккал/кг (4350 кДж/кг) и скорость детонации 4,6-5,2 км/с.

Эмуланы, (гранэмиты) - смесевые суспензионные ВВ, изготовляемые путем добавки в эмулиты (порэмиты) 30-70 % AN-FO (игданита). Это последние зарубежные и отечественные разработки рецептур ВВ на основе эмуль­сий.

Необходимо подчеркнуть, что эмуланы сохраняют энергетику селитры, а увеличение объемной энергии взрыва достигается только за счет увеличения плотности с 1,25 до 1,3-1,35 г/см3. Для сохранения водоустойчивости и заряжания насосом под столб воды количество гранул не должно превышать 25-40 %, а потому увеличе­ние энергетики эмулана будет еще меньше.

 







Date: 2015-09-05; view: 4505; Нарушение авторских прав



mydocx.ru - 2015-2026 year. (0.166 sec.) Все материалы представленные на сайте исключительно с целью ознакомления читателями и не преследуют коммерческих целей или нарушение авторских прав - Пожаловаться на публикацию