Главная Случайная страница


Полезное:

Как сделать разговор полезным и приятным Как сделать объемную звезду своими руками Как сделать то, что делать не хочется? Как сделать погремушку Как сделать так чтобы женщины сами знакомились с вами Как сделать идею коммерческой Как сделать хорошую растяжку ног? Как сделать наш разум здоровым? Как сделать, чтобы люди обманывали меньше Вопрос 4. Как сделать так, чтобы вас уважали и ценили? Как сделать лучше себе и другим людям Как сделать свидание интересным?


Категории:

АрхитектураАстрономияБиологияГеографияГеологияИнформатикаИскусствоИсторияКулинарияКультураМаркетингМатематикаМедицинаМенеджментОхрана трудаПравоПроизводствоПсихологияРелигияСоциологияСпортТехникаФизикаФилософияХимияЭкологияЭкономикаЭлектроника






к выполнению лабораторной работы №4

Методические указания

«Атомные электрические станции»

по дисциплине «Общая энергетика»

 

Тула 2010 г.

 
 

 


Разработали: к.т.н. доцент кафедры Э Карницкий В.Ю.

ассистент кафедры Э Резник А.Я.


Цель работы: Ознакомиться с принципом работы атомных электрических станций.

 

Теоретические сведения:

Атомные электростанции (АЭС.) Общие сведения

АЭС — это по существу тепловые электростанции, которые используют тепловую энергию ядерных реакций.

В настоящее время строятся АЭС, работающие по различным схемам, но все же наибольшее распространение получили двухконтурные АЭС с водяным теплоносителем и одноконтурные с реактором кипящего типа.

Первая отечественная АЭС была построена и пущена в эксплуатацию в июне 1954 г. Эта станция положила начало использованию атомной энергии для производства электроэнергии. На станции необходимо было проверить работу основных элементов и показать возможность в промышленных установках преобразовывать энергию деления ядер в электрическую. Параметры установки были низкими, тепловая схема сильно упрощена, а электрическая мощность составляла всего 5000 кВт. Электростанция была спроектирована для работы по двухконтурной схеме. Опыт ее эксплуатации показал, что двухконтурные АЭС вполне надежны и не оказывают вредного влияния на окружающую среду и здоровье обслуживающего персонала. Работы, проведенные в последующие годы на установках электрической мощностью 210, 365 и 440 МВт (на Нововоронежской АЭС), позволили создать серии крупных энергетических блоков, эксплуатируемых сейчас на ряде отечественных электростанций. Одновременно были разработаны и построены блоки конденсационных АЭС большой мощности, работающие по одноконтурной схеме.

Атомные электростанции могут быть конденсационными (АКЭС) и теплоэлектроцентралями (АТЭЦ). В последние годы в некоторых странах большое внимание уделяется использованию теплоты комбинированных атомных установок для опреснения морских и солончаковых вод. Очевидно, что станции такого типа будут строиться в местах, где ощущается недостаток пресной воды.

Один из основных элементов АЭС - реактор. В России, как и во многих странах мира, используют в основном ядерные реакции расщепления урана U-235 под действием тепловых нейтронов. Для их осуществления в реакторе, кроме топлива (U-235), должен быть замедлитель нейтронов и, естественно, теплоноситель, отводящий тепло из реактора. В реакторах типа ВВЭР (водо-водяной энергетический) в качестве замедлителя и теплоносителя используется обычная вода под давлением. В реакторах типа РБМК (реактор большой мощности канальный) в качестве теплоносителя используется вода, а в качестве замедлителя — графит. Оба эти реактора нашли широкое применение на АЭС.

На АЭС широко применяется насыщенный пар. Это объясняется тем, что в ряде случаев перегрев пара непосредственно в ядерном реакторе весьма усложняет конструкцию реактора и схему установки, требует существенных дополнительных капитальных затрат. В то же время на АЭС стоимость топлива (ядерного горючего), отнесенная к единице выработанной энергии, значительно ниже, чем на электростанциях обычного типа. Поэтому здесь производство электроэнергии на установках меньшей стоимости даже при более низких значениях КПД экономически оправдано.

Схема АЭС может быть одноконтурной, двухконтурной и трехконтурной.

На АЭС, работающей по одноконтурной схеме (рисунок 1а), пар образуется в активной зоне реактора и оттуда направляется в турбину. В некоторых случаях до поступления в турбину пар подвергается перегреву в перегревательных каналах реактора. Одноконтурная схема наиболее проста. Однако образующийся в реакторе пар радиоактивен, поэтому большая часть оборудования АЭС должна иметь защиту от излучений. В процессе работы электростанции в паропроводах, турбине и других элементах оборудования могут скапливаться выносимые из реактора с паром твердые вещества (содержащиеся в воде примеси, продукты коррозии), обладающие наведенной активностью, что затрудняет контроль за оборудованием и его ремонт.

По двухконтурной и трехконтурной схемам (рисунок 1 б и в) отвод теплоты из реактора осуществляется теплоносителем, который затем передает теплоту рабочей среде непосредственно или через теплоноситель промежуточного контура. На АЭС, работающих по двухконтурной или трехконтурной схеме, рабочая среда и теплоноситель второго контура в нормальных условиях нерадиоактивны, поэтому эксплуатация электростанций существенно облегчается. Кроме того, продукты коррозии паропроводов, конденсаторов и турбинного тракта не попадают в реактор. Однако капитальные затраты в этом случае значительно выше, особенно при трехконтурной схеме. Такие схемы следует применять, когда вероятность контакта активного теплоносителя с водой должна быть полностью исключена, например при использовании в качестве теплоносителя жидкого натрия, так как его контакт с водой может привести к крупной аварии. В трактах АЭС, работающих по двухконтурной схеме, даже при небольших нарушениях плотности возможен контакт активного натрия с водой и аварию ликвидировать было бы довольно трудно. При трехконтурной схеме контакт активного натрия с водой исключен.


Во всех приведенных на рисунке 1 схемах конденсат после конденсатора турбины проходит систему регенеративного подогрева, которая, по существу, не отличается от применяемой на обычных электростанциях.

Рисунок 1. Одноконтурная (а), двухконтурная (б) и трехконтурная (в) схемы АЭС:

 

1 — реактор, 2 — промежуточный теплообменник, 3 — парогенератор, 4 — турбогенератор; 5 — конденсатор; 6 — конденсатный насос; 7— пар от отбора, 8 — пар на регенеративный подогреватель; 9, 13 — регенеративные подогреватели низкого и высокого давления; 10 — деаэратор; 11 — пар на деаэратор; 12 — питательный насос

Рисунок 2 Технологическая схема первого контура АЭС:

 

1 — контейнер, 2 — бассейн; 3 — перегрузочный кран, 4 — реактор, 5 — мостовой кран реакторного зала, 6 — главная задвижка, 7 — главный циркуляционный насос, 8 — парогенератор, 9 — трубопроводы питательной воды, 10 — трубопроводы вторичного пара

 

Технологическая схема первого контура двухконтурной АЭС показана на рисунке2.

Ядерное топливо, находящееся в тепловыделяющих элементах (твэлах) определенной формы, доставляется в контейнерах 1 на электростанцию и с помощью перегрузочного крана 3 загружается в активную зону реактора 4. Кассеты с отработавшими твэлами помещаются в бассейн 2, где выдерживаются в течение определенного времени. Когда радиоактивность горючего и материала кассет уменьшается до нормативных значений, кассеты в контейнерах вывозят на перерабатывающие заводы.

Теплота, выделяющаяся в реакторе и воспринятая теплоносителем, передается рабочей среде в парогенераторе (ПГ) 8. При трехконтурной схеме между теплоносителем первого контура и рабочей средой имеется еще промежуточный контур (см. рисунок 1 в).

Пар, образовавшийся в ПГ (при двухконтурных и трехконтурных схемах) или в реакторе (при одноконтурной схеме), направляется по паропроводу к турбине. На схеме первого контура двухконтурной АЭС (рисунок 2) пар направляется к турбине по трубопроводу 10, питательная вода подается в ПГ по линии 9.

При работе на насыщенном паре (см. рисунок. 1, а и б) в проточной части турбины пар быстро увлажняется. Возрастание влажности приводит к увеличению интенсивности эрозийного износа элементов проточной части. Чтобы избежать этого, поток пара перед поступлением в цилиндр низкого давления (ЦНД) турбины пропускается через сепаратор, в котором его влажность понижается до значений, не превышающих 0,5%. На крупных современных блоках после сепаратора пар перегревается до температуры t пп, близкой к начальной температуре t 0 (при некоторых схемах организации промежуточного перегрева t пп» t 0).


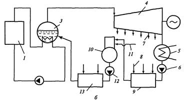
Схемы АЭС в тепловой части могут выполняться в различных вариантах. На рисунке 3 в качестве примера представлена двухконтурная схема АЭС для электростанций с реакторами ВВЭР. Видно, что эта схема близка к схеме КЭС, однако вместо парогенератора на органическом топливе здесь используется ядерная установка.

АЭС, так же как и КЭС, строятся по блочному принципу как в тепломеханической, так и в электрической части.

Ядерное топливо, запасы которого достаточно велики, обладает очень высокой теплотворной способностью (1 кг U-235 заменяет 2900 т угля), поэтому АЭС особенно эффективны в районах, бедных топливными ресурсами, например в европейской части России.

АЭС выгодно оснащать энергоблоками большой мощности. Тогда по своим технико-экономическим показателям они не уступают КЭС, а в ряде случаев и превосходят их. В настоящее время разработаны реакторы электрической мощностью 440 и 1000 МВт типа ВВЭР, а также 1000 и 1500 МВт типа РБМК. При этом энергоблоки формируются следующим образом: реактор сочетается с двумя турбоагрегатами (реактор ВВЭР-440 и два турбоагрегата по 220 МВт, реактор 1000 МВт и два турбоагрегата по 500 МВт, реактор РБМК-1500 и два турбоагрегата по 750 МВт), или реактор сочетается с турбоагрегатом одинаковой мощности (реактор 1000 МВт и турбоагрегат 1000 МВт единичной мощности).

Перспективными являются АЭС с реакторами на быстрых нейтронах (БН), которые могут использоваться для получения тепла и электроэнергии, а также и для воспроизводства ядерного горючего. Технологическая схема энергоблока такой АЭС представлена на рисунке 4. Реактор типа БН имеет активную зону, где происходит ядерная реакция с выделением потока быстрых нейтронов. Эти нейтроны воздействуют на элементы из U-238, который обычно в ядерных реакциях не используется, и превращают его в плутоний Рu-239, который может быть впоследствии использован на АЭС в качестве ядерного горючего. Тепло ядерной реакции отводится жидким натрием и используется для выработки электроэнергии.

Рисунок 3. Принципиальная технологическая схема АЭС с реактором типа ВВЭР: 1 — реактор; 2 — парогенератор; 3 — турбина; 4 — генератор; 5 — трансформатор; 6 — конденсатор турбины; 7 — конденсатный (питательный) насос; 8 — главный циркуляционный насос.

 

Схема АЭС с реактором БН трехконтурная, в двух из них используется жидкий натрий (в контуре реактора и промежуточном). Жидкий натрий бурно реагирует с водой и водяным паром. Поэтому, чтобы избежать при авариях контакта радиоактивного натрия первого контура с водой или водяным паром, выполняют второй (промежуточный) контур, теплоносителем в котором является нерадиоактивный натрий. Рабочим телом третьего контура является вода и водяной пар.


В настоящее время в эксплуатации находится ряд энергоблоков типа БН, из них наиболее крупный БН-600.

АЭС не имеют выбросов дымовых газов и не имеют отходов в виде золы и шлаков. Однако удельные тепловыделения в охлаждающую воду у АЭС больше, чем у ТЭС, вследствие большего удельного расхода пара, а следовательно, и больших удельных расходов охлаждающей воды. Поэтому на большинстве новых АЭС предусматривается установка градирен, в которых теплота от охлаждающей воды отводится в атмосферу.

Важной особенностью возможного воздействия АЭС на окружающую среду является необходимость захоронения радиоактивных отходов. Это делается в специальных могильниках, которые исключают возможность воздействия радиации на людей. Чтобы избежать влияния возможных радиоактивных выбросов АЭС на людей при авариях, применены специальные меры по повышению надежности оборудования (дублирование систем безопасности и др.), а вокруг станции создается санитарно-защитная зона.

Рисунок 4. Принципиальная технологическая схема АЭС с реактором типа БН: а - принцип выполнения активной зоны реактора; б — технологическая схема: 1-7 — аналогичны указанным на рисунке 1; 8 — теплообменник натриевых контуров; 9 - насос нерадиоактивного натрия, 10 — насос радиоактивного натрия

 

Возможное размещение основных сооружений АЭС на примере станции с блоками ВВЭР-1000 показано на рисунке 5.

 

Рисунок 5. Вариант размещения основных узлов АЭС с реакторами типа ВВЭР-1000: 1— помещение реактора; 2 — машинный зал; 3 — площадка трансформаторов; 4 — сбросной канал (закрытый); 5 — насосные станции; 6 — водоподводящий канал (открытый); 7 —ОРУ; 8 — щит ОРУ; 9 — объединенный вспомогательный корпус; 10 — дизель-электрическая станция; 11 -здание специальной водоподготовки; 12 - административно-бытовой комплекс.


Список литературы

 

1. Стерман Л.С., Лавыгин В.М., Тишин С.Г. Тепловые и атомные электрические станции: Учебник для вузов.-3-е изд., перераб.-М.: Издательство МЭИ, 2004.-424 с., ил.

 

2. Рожкова Л.Д., Козулин В.С. Электрооборудование станций и подстанций: Учебник для техникумов.-3-е изд., перераб. и доп.-М.: Энергоатомиздат, 1987. 648 с.: ил.



<== предыдущая | следующая ==>
Методические указания. 4.1. ЛПЗ проводится на панели № 2 | К выполнению лабораторной работы №5





Date: 2015-09-05; view: 843; Нарушение авторских прав



mydocx.ru - 2015-2026 year. (0.428 sec.) Все материалы представленные на сайте исключительно с целью ознакомления читателями и не преследуют коммерческих целей или нарушение авторских прав - Пожаловаться на публикацию