Главная Случайная страница


Полезное:

Как сделать разговор полезным и приятным Как сделать объемную звезду своими руками Как сделать то, что делать не хочется? Как сделать погремушку Как сделать так чтобы женщины сами знакомились с вами Как сделать идею коммерческой Как сделать хорошую растяжку ног? Как сделать наш разум здоровым? Как сделать, чтобы люди обманывали меньше Вопрос 4. Как сделать так, чтобы вас уважали и ценили? Как сделать лучше себе и другим людям Как сделать свидание интересным?


Категории:

АрхитектураАстрономияБиологияГеографияГеологияИнформатикаИскусствоИсторияКулинарияКультураМаркетингМатематикаМедицинаМенеджментОхрана трудаПравоПроизводствоПсихологияРелигияСоциологияСпортТехникаФизикаФилософияХимияЭкологияЭкономикаЭлектроника






Приклад обчислень





 

Приклад. Запроектувати гравітаційну систему вентиляції санітарно-кухонного вузла в панельному чотирьохповерховому будинку (див.рис.3,4). Висота поверху 3,0м. Висота технічного поверху 1,4м. В кухні установлено чотириконфорну газову плиту і проточний газовий водонагрівач. Витрати видаляємого повітря: з кухні – 90 м3/г, з ванного приміщення - 25 м3/г, з вбиральні -25 м3/г, приток повітря неорганізований. Для обчислення приймаємо стандартні параметри повітря в приміщеннях: температура +20ºС, густина 1,205кг/м3.

Рішення. Приймаємо шлакобетонні вентиляційні блоки типу №1-к (див.рис.2) на чотири вентиляційні канали d=152мм. Кожний канал самостійно виходить в атмосферу вище покрівлі на 1,0 м.

Попереднім обчисленням встановлено, що один канал діаметром 152 мм не пропустить витрату повітря 90 м3/г. Тому для кожної кухні приймаємо два канали діаметром 152 мм. Витрати повітря в кожному каналі становлять 45 м3/г.

 

Рис. 3.7. Розгортка вентиляційних каналів. Розрахункова схема

вентиляційних каналів (до прикладу 5.4)

 

Перетин каналу вибрано. Завдання зводяться до знаходження типу вентиляційної гратки і перевірки його пропускної здатності за співвідношенням (3.11). Креслимо розрахункову схему (див.рис.3.4). Ділянка 1а. Витрата повітря L=45 м3/г, діаметр каналу d=152 мм, живий перетин каналу F=0,0181 м2, швидкість повітря в каналі за формулою (3.6) V=0,689 м/с (розраховані величини записуємо до таб.1). Швидкісний тиск за формулою (3.5) або за номограмою [1,с.259] Ршв=0,286 Па, питомі витрати тиску за номограмою R=0,066 Па/м, поправочний коефіцієнт на жорсткість каналу [1,с.258], β+1,17, довжина каналу l=3,0 м.

Витрати тиску на тертя:

 

R · l · β = 0,066 · 3 · 1,17 = 0,232 Па

 

Місцеві опори без гратки (див.дод.2) поворот 90º - 1,3, вихід з каналу з зонтом в атмосферу – 1,3:

Σ' ζ = 1,3 + 1.3 = 2,6

 

Витрати тиску в місцевих опорах без гратки:

 

Z' = (Σ' ζ)Ршв = 2,6·0,286 = 0,743 Па

 

За формулою (3.3) опір системи без гратки:

 

Рс '= R·· l · ·β + z' = 0,232 +0,743 = 0,975 Па

 

Діючий гравітаційний тиск за формулою (3.2) з коефіцієнтом запасу 0,9

 

Ргр =0,9 hq(ρз –ρв) = 0,9·3,0·9,81(1,270 – 1,205) = 1,722 Па

 

Витрати тиску в вентиляційній гратці:

 

Zр' = Ргр - Рс´ = 1,722 – 0,975 = 0,747 Па

 

За формулою (43.) коефіцієнт місцевого опору гратки:

 

ζр´ = Zр'/Ршв. = 0,747 / 0,286 = 2,6

За дод. 3 вибираємо гратку РК-7, коефіцієнт місцевого опору якої найближчий менший знайденого: ζр = 2,0 < 2,6

Уточнюємо витрати тиску в градці:

 

Zр = ζр··Ршв = 2,0·0,286 = 0,572 Па

 

Повні витрати тиску в системі за формулою (3.9)

 

Рс = Рс´ + Zр = 0,975 +0,572 = 1,547 Па

 

Розрахована витрата повітря за формулою (3.10)

 

L = = 45 = 47,4 м3

Співвідношення (3.11) виконано: L, 47,3> 45,0 м3/г.

Приклад. Запроектувати гравітаційну систему вентиляції санітарно-кухонного вузла в панельному п’ятиповерховому будинку (див.рис.3.5). Висота поверху 3,0 м. Висота технічного поверху 2,1м. В кухні установлено чотириконфорну газову плиту і проточний газовий водонагрівач. Витрати повітря що видаляється з кухні, 90 м3/г, з ванного приміщення і вбиральні - 25 м3/г. Приток повітря неорганізований. Для обчислення приймаємо стандартні параметри повітря в приміщеннях: температура +20ºС, густина 1,205кг/м3.

Рішення. Приймаємо шлакобетонні вентиляційні блоки типу №2-п (див.рис.3.2) з прямокутним перетином каналів 115х170 мм. Кожний канал самостійно виходить в атмосферу вище будинку на 1,0 м.

Попередніми обчисленнями встановлено, що один канал перетином 115х170 мм не пропустить витрату повітря 90 м3/г. Тому для кожної кухні приймаємо два канали. Витрати повітря в кожному каналі становлять 45 м3/г.

Перетин каналу вибрано. Завдання зводяться до знаходження типу вентиляційної гратки і перевірки його пропускної здатності за співвідношенням (3.11).

Креслимо розрахункову схему (див.рис.3.5).

Ділянка 1а. Витрата повітря L=45 м3/г, перетин 115х170 мм, живий перетин каналу F =0,0195 м2, швидкість повітря в каналі за формулою (3.6) V =0,639 м/с (розраховані величини записуємо до таб.2)

Швидкісний тиск за формулою (3.5) або Ршв =0,246 Па.

Еквівалентний діаметр каналу за формулою (3.7):

 


dе = 2аb/(а+b)= 2·115·170/115·170 = 137 мм.

 

За розрахованою швидкістю повітря і еквівалентним діаметром за допомогою номограми [1, с.259] знаходимо питомі витрати тиску R = 0,07 па. Поправочний коефіцієнт на жорсткість каналу β = 1,16 [1, с.259]. довжина каналу l = 3,7 м. Далі обчислюємо за схемою приладу 5.1.

 

Приклад. Запроектувати гравітаційну систему вентиляції санітарно-кухонного вузла у цегляному чотириповерховому будинку (див.рис.3.6). Висота поверху 3,0 м. Висота технічного поверху 2,1м. В кухні установлено чотириконфорочну газову плиту і проточний газовий водонагрівач. Витрати виділяє мого повітря: з кухні- 90м3/г, з суміщеного приміщення ванни і вбиральні - 50 м3/г. Приток повітря неорганізований. Для обчислення приймаємо стандартні параметри повітря в приміщеннях: температура +20ºС, густина 1,205кг/м3(табл.3).

Рішення. Приймаємо перетин вентиляційних каналів: для вентиляції кухні 140 270 мм, спільного санітарного вузла - 140 140 мм. Кожний канал самостійно виводиться вище покрівлі на 1 м. Задача зводиться до підбору вентиляційної гратки і перевірки пропускної здатності каналу за співвідношенням (3.11).

Креслимо розрахункову схему (див. рис. 3.6).

Обчислюємо за схемою прикладу 5.2.

Обчислюємо зведені в табл. 3.

 

 

 

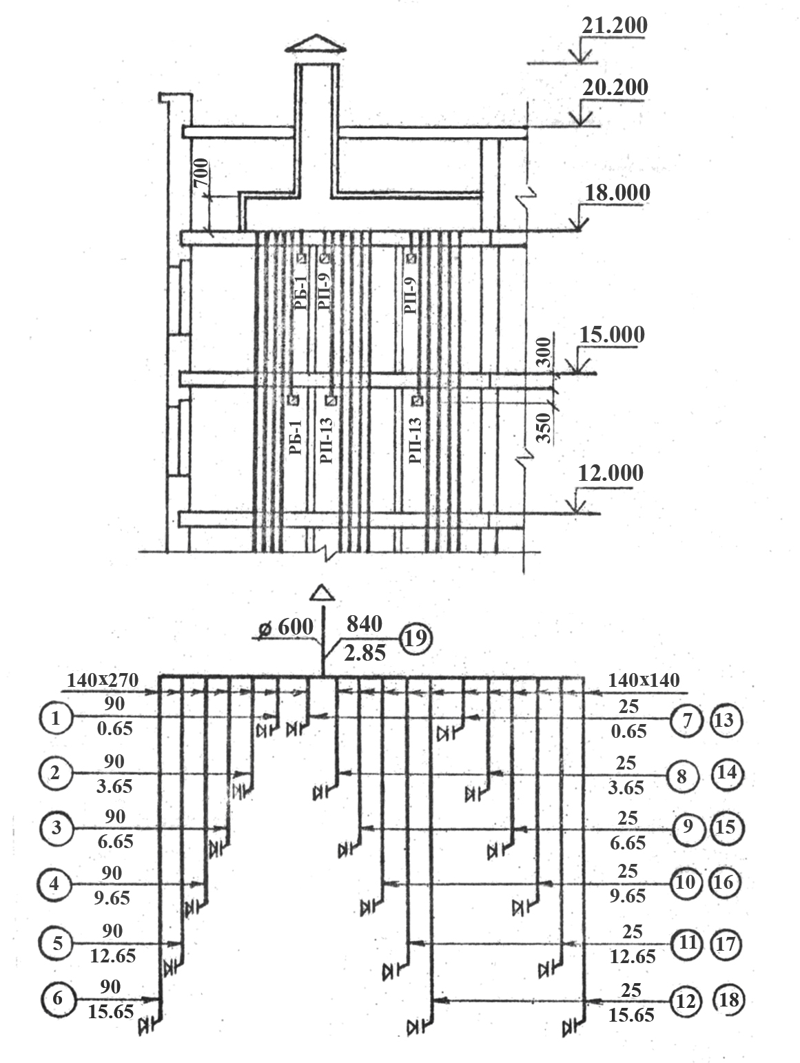
Приклад. Запроектувати гравітаційну систему вентиляції санітарно-кухоного вузла і цегляному шестиповерховому будинку (див. рис.3.7). висота поверху 3,0 м. Висота технічного поверху 2,2 м. В кухні установлено чотириконфорочну газову плиту. Гаряче водопостачання централізоване. Витрати видаленого повітря з кухні становлять 90 м3/г, з ванного приміщення і вбиральні – 25 м3/г.

Рішення. Приймаємо перетин вентиляційних каналів кухні 140 270мм, вентиляційних каналів приміщення ванни і вбиральні – 140х140 мм. Вентиляційні канали з кожного приміщення окремо виводимо на технічний поверх, де вони підключаються до горизонтального збірного колектора (короба), виконаного із гіпсошлакових плит. Зверху на колектор установлюємо витяжну шахту кільцевого перетину із шлакобетону. Гирло шахти закриваємо зонтом. Шахту виведемо вище покрівлі на 1,0 м. Креслимо розрахункову схему. Нумеруємо дільниці.

Далі наведено приблизний розрахунок системи вентиляції. Розрахункова витрата повітря на дільниці 19 (в вентиляційній шахті):

 

Lш = 90 · 6 + 25 · 6 = 25 · 6 = 840 м3

 

Знаходимо розміри колектора за ½ частиною витрати повітря в системі - 420 м3/г. Приймаємо максимальну швидкість повітря в колекторі 0,2 м/с, За такої швидкості повітря витрати тиску в колекторі незначне, тому її можна не враховувати.

Живий перетин колектора за швидкості повітря 0,2 м/с

 

Fкол = 420/3600·2 = 0,58 м2

 

Приймаємо колектор постійного перетину з внутрішніми розмірами 0,8х0,7 (h).

Дільниця 19 (витяжна шахта)

Розрахунок шахти ведемо за витрати повітря з запасом 10%:

 

1,1L19 = 1,1·840 = 924 м3

 

Результати обчислень заносимо до табл.4.

Відповідно до рекомендації додатку 1 приймаємо швидкість повітря в шахті 1,0м/с. Знаходимо живий перетин шахти в першому наближенні:

Діаметр шахти

Приймаємо діаметр шахти 0,6 м. Живий перетин шахти

 


м2

Швидкість повітря:

Швидкісний тиск за формулою (3.5)

Питомі витрати тиску на тертя за номограмою[1, рис.14.9] R= 0.018 Па/м.

Поправочний коефіцієнт на шорсткість шахти [ 1, табл.. 14.3] β=1,21.

Витрати тиску на тертя Rlβ = 0,018 · 2,85 · 1,21 = 0,062 Па.

Коефіцієнти на місцевих опорів (дод. 2): трійник симетричної форми ζ тр = 2,0; вихід в атмосферу з труби з зонтом ζ з = 1,3. Витрати тиску в місцевих опорах.

 

Z19 = (ζ тр + ζ з)·Ршв = (2,0 + 1,3)·0,496 = 1,638 Па

 

Загальні витрати тиску в шахті

 

Р19 = Rlβ + Z19 = 0,062+1,638 = 1,7 Па

 

Дільниця 1.переріз каналу 140 270 мм, живий переріз каналу F1=0,0378 м2, V1=0,661 м2, швидкісний тиск за формулою (3.5) Ршв=0,246 Па, еквівалентний діаметр за формулою (3.7) dl = 184 мм, питомі витрати тиску на тертя R= 0,049 Па/м, β = 1.35, l = 0,65 м.

Витрати тиску на тертя

Rlβ = 0,049·0,65·1,35 = 0,043 Па

 

Коефіцієнти місцевого опору (без гратки): поворот 90º - ζn = 1,2, раптове розширення в разі входу в колектор – ζвх = 0,4:

 

Σ'ζ = ζn вх+ 1,2 + 0,4 = 1,6

 

Витрати тиску в місцевих опорах (без гратки)

 

Z' = Σ'ζ·Ршв = 1,6 ·0,264 = 0.422 Па

 

Витрати тиску на дільниці 1 (без гратки):

 

Р1' = Rlβ +Z' = 0,043 + 0,422 = 0,465 Па

 

Діючий гравітаційний тиск за формулою (3.2)

 

Ргр1,19 = 0,9 · 3,8 5 ·9,81(1,27 – 1,205) = 2,209 Па

 

де 3,85 м – різниця відміток гирла шахти і осі гратки.

Витрати тиску в гратці:

 

Zр ' = Ргр 1,19 - Р'1,19 = 2,209 – 2,165 = 0,044 Па

 

Коефіцієнт місцевого опору гратки:

 

ζр' =Zр' / Ршв = 0,044/0,264 =0,17

Приймаємо гратку (додю3) РВ-1, ζр = 0,12.

Витрати тиску в прийнятій гратці:

 

Zр = ζр ·Ршв 1 = 0,12 · 0,264 = 0,032 Па

 

Опір дільниці 1:

 

Р1 = Р1' + Zр = 0,465 + 0,032 = 0,497 Па

 

Діючий гравітаційний тиск на дільниці 1:

 

Ргр.1 = Ргр.1-19 – Р1,9 = 2,209 – 1,700 = 0,509 Па

 

Обчислене витрата повітря на дільниці 1:

 

L1 = = 90 = 90,7 м3

 

Співвідношення (13.1) виконано: 90,7 90 м3/г. Аналогічно розраховується дільниці 2, …., 18.

Знаходимо уточнену витрату повітря у вентиляційній шахті (дільниця 19):

 

= = 90,7 + 91,9 + 92,2 + 90,4 + 101,4 + 91.8 + (27,3 + 29,8 + 31.8 + +29,4 + 33.3 + 36,5)·2 = 934,6 м3

L19’ > L19; 934,6 >840 м3/г, що дозволяється.

 

 







Date: 2015-09-18; view: 607; Нарушение авторских прав



mydocx.ru - 2015-2026 year. (0.871 sec.) Все материалы представленные на сайте исключительно с целью ознакомления читателями и не преследуют коммерческих целей или нарушение авторских прав - Пожаловаться на публикацию