Главная Случайная страница


Полезное:

Как сделать разговор полезным и приятным Как сделать объемную звезду своими руками Как сделать то, что делать не хочется? Как сделать погремушку Как сделать так чтобы женщины сами знакомились с вами Как сделать идею коммерческой Как сделать хорошую растяжку ног? Как сделать наш разум здоровым? Как сделать, чтобы люди обманывали меньше Вопрос 4. Как сделать так, чтобы вас уважали и ценили? Как сделать лучше себе и другим людям Как сделать свидание интересным?


Категории:

АрхитектураАстрономияБиологияГеографияГеологияИнформатикаИскусствоИсторияКулинарияКультураМаркетингМатематикаМедицинаМенеджментОхрана трудаПравоПроизводствоПсихологияРелигияСоциологияСпортТехникаФизикаФилософияХимияЭкологияЭкономикаЭлектроника






Внутрикотловая обработка воды





Внутрикотловая обработка воды осуществляется путем ввода в котел щелочных реагентов, которые в со­четании с подогревом воды в котле вызывают осаждение солей жестко­сти в виде нерастворимых соедине­ний СаСОз и Mg(OH)2.

В зависимости от состава исход­ной воды и требований к качеству котловой воды решается вопрос ис­пользования реагентов при внутри- котловой обработке: едкого натра, кальцинированной соды, тринатрий- фосфата (последний используется в основном для доумягчения воды). Если Ши.в>Жк, а Жк-Жо=Жса, то для умягчения такой воды доста­точно ее подогрева в котле (термо­умягчение). Если для обрабатывае­мой воды справедливо равенство 2Щи.в=Жса, то в котел следует дози­ровать только едкий натр. Если для обрабатываемой воды справедливо соотношение 2Щж, в < Жса, то сле­дует дозировать едкий натр и соду.

Осуществление внутрикотловой обработки обязательно должно со­провождаться периодическим или непрерывным удалением из котла шлама (продувкой). Поддержание в котловой воде солесодержания, щелочности и допустимого количе­ства шлама должно отвечать нор­мам качества котловой воды при внутрикотловой обработке.

1.2.2.6 Магнитный метод обработки воды для паровых котлов более 100ºС

Магнитный метод обработки для паровых котлов основан на извест­ном физическом явлении, заклю­чающемся в том, что вода после воздействия на нее магнитного поля определенной напряженности и по­лярности при нагреве ее в котле вы­ше 100°С не дает накипных отло­жений на поверхности нагрева, а соли жесткости выпадают в виде шлама в толще котловой воды. Шлам должен непрерывно удалять­ся из нижних точек котла (грязеви­ков, нижних коллекторов) во избе­жание образования так называемой «вторичной» накипи.

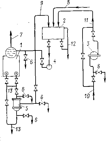
Магнитный метод является раз­новидностью внутрикотловой обра­ботки, при его применении также должна осуществляться продувка котлов в соответствии с нормами содержания шлама в котловой воде. Метод может быть рекомендован в основном для воды с карбонатной жесткостью пример­но до 10 мг-экв/л. Этот метод широ­ко используется для паровых чу­гунных секционных котлов. Завод им. Войкова (Москва) выпускал котлы с противонакипным магнит­ным устройством ПМУ-2 и шламо-отделителем. На рисунке 1 показана схема магнитной обработки.

 

 

Рисунок 1


Схема магнитной обработки для паровых чугунных секционных котлов.

1- паровой котел; 2 — питательный бак,- В — противонакипное устройство ПМУ-2; 4 — питательный насос; 5 — шламоотделитель; 6 — пробоотбор­ные краны; 7 —пар; 8 — конденсат; 9 —осветлен­ная вода; 10 — исходная вода; 7/— омагниченная вода; 12—перелив и сброс в дренаж; 13 — шламо­вые воды.

 

1.2.3 Магнитный метод обработки при подогреве воды ниже 95ºС

Первые опыты (ВТИ) примене­ния схемы для подпитки тепловых сетей на ТЭЦ: магнитная обработ­ка, термическая деаэрация (t=104°С), фильтрование через ме­ханические фильтры — оказались неудачными, так как образующий­ся при этом шлам был настолько мелкодисперсным, что не задержи­вался механическими фильтрами. Однако дальнейшие работы ВТИ (канд. техн. наук Н. П. Лапотышкина) показали, что при подогреве омагниченной воды до 95°С, не­смотря на разложение карбонатной жесткости под воздействием темпе­ратуры с образованием карбоната кальция, вода остается прозрач­ной— карбонатного шлама нет и нет отложений на поверхностях на­грева. Это объясняется тем, что образующиеся частицы в этом слу­чае настолько мелкодисперсны, что визуально их обнаружить невоз­можно. Кристаллооптическим мето­дом установлено, что более 70% ча­стиц в этом случае имеет размер менее 0,5 мкм. Однако следует от­метить, что эти свойства омагниченная вода сохраняет меньше суток, затем ведет себя так, как если бы ее не омагничивали. Это явление потери магнитных свойств назы­вается релаксацией. Поэтому при применении магнитной обработки в тепловых сетях кроме омагничивания подпиточной воды необходимо подмагничивать воду, циркулирую­щую в системе, т. е. создавать так называемый антирелаксационный контур, при помощи которого в те­чение суток подмагничивается вся вода, циркулирующая в системе.

На основании трехлетней про­мышленной эксплуатации магнит­ной обработки воды в водогрейных котельных с чугунными секционны­ми котлами при закрытой системе теплоснабжения межве­домственной комиссией рекомендо­вано заводу им. Войкова наладить серийное производство устройства ПМУ-2 для использования его в упомянутых выше котельных при соблюдении следующих условий:


- подогрев воды должен осу­ществляться до температуры не выше 95°С;

- должно быть предусмотрено не только омагничивание подпиточ­ной воды, но и восстановление маг­нитных свойств воды, циркулирую­щей в системе (антирелаксационный контур);

- карбонатная жесткость исход­ной воды должна быть не выше мг-экв/л;

- возможно применение магнит­ной обработки воды без деаэрации на артезианской воде при содержа­нии растворенного в ней кислоро­да не более 3 мг/л и сумме хлори­дов сульфатов не более 50 мг/л;

- при отсутствии или малом со­держании кислорода и свободной углекислоты хлор и сульфат-ионы не опасны в коррозионном отноше­нии; при повышенном содержании кислорода (О2 > 3 мг/л) или при сумме хлоридов и сульфатов более 50 мг/л интенсифицируется процесс, препятствующий пассивированию металла; при атом должно снижаться содержание кислорода — необхо­дима деаэрация; деаэрация подпи­точной воды при магнитной обра­ботке допускается только вакуум­ная, чтобы подогрев.воды не превы­шал 70°С;

- содержание железа Fe2+ в ар­тезианской воде допускается не бо­лее 0,3 мг/л.

Применение магнитной обработки воды возможно с соблюдением всех перечисленных условий и при осу­ществлении бытового горячего водо­снабжения (t<70°С), но омагничиваться должна вся подпиточная вода, напряженность магнитного поля при этом не должна превы­шать 2000 Э и качество подпиточной воды должно отвечать ГОСТ 2874-73 «Вода питьевая».

Для горячего водоснабжения при расходе воды 5—15 м3 для магнит­ной обработки воды могут быть ис­пользованы аппараты с постоянны­ми магнитами ПМУ-2, выпускаемые заводом им. Войкова или др. При большем расходе воды для горячего водоснабжения могут использовать­ся электромагнитные аппараты про­изводительностью 15, 25 и 50 м3/ч, серийно изготовляемые чебоксар­ским заводом «Энергозапчасть» по чертежам СКВ ВТИ. Для получе­ния необходимой производительно­сти как ПМУ-2, так и электромаг­нитные аппараты могут включаться параллельно по несколько штук в водопроводную сеть. Магнитную об­работку воды можно использовать для предотвращения накипных от­ложений в циркуляционных систе­мах охлаждения.

В водоподготовительных установ­ках в схемах с известкованием при подогреве исходной воды до 30°С для защиты пароводяных подогре­вателей от накипных отложений мо­жет быть также использована маг­нитная обработка воды, одновре­менно улучшающая процесс извест­кования.







Date: 2015-08-22; view: 1186; Нарушение авторских прав



mydocx.ru - 2015-2026 year. (0.835 sec.) Все материалы представленные на сайте исключительно с целью ознакомления читателями и не преследуют коммерческих целей или нарушение авторских прав - Пожаловаться на публикацию