Главная Случайная страница


Полезное:

Как сделать разговор полезным и приятным Как сделать объемную звезду своими руками Как сделать то, что делать не хочется? Как сделать погремушку Как сделать так чтобы женщины сами знакомились с вами Как сделать идею коммерческой Как сделать хорошую растяжку ног? Как сделать наш разум здоровым? Как сделать, чтобы люди обманывали меньше Вопрос 4. Как сделать так, чтобы вас уважали и ценили? Как сделать лучше себе и другим людям Как сделать свидание интересным?


Категории:

АрхитектураАстрономияБиологияГеографияГеологияИнформатикаИскусствоИсторияКулинарияКультураМаркетингМатематикаМедицинаМенеджментОхрана трудаПравоПроизводствоПсихологияРелигияСоциологияСпортТехникаФизикаФилософияХимияЭкологияЭкономикаЭлектроника






Перепады. Конструкции и расчет





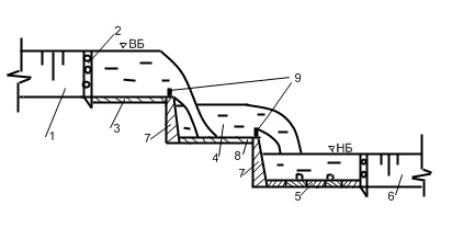
Перепады относятся к сопрягающим сооружениям. Применяются при уклонах i>0,25. Они имеют входную, транзитную(ступени) и выходную часть.

Вход перепада проектируют как незатопленный водослив с широким порогом. Сопряжение выполняют по типу раструбов или обратных стенок.

1-водоподводящий канал, 2-зуб из каменной наброски, 3- понур, 4-ступень перепада, 5-рисберма, 6- водоотводящий канал, 7- вертикальные стенки, 8-водобойная плита, 9-водобойные стенки.

Транзитная часть представляет собой ступень или ряд ступеней, каждая из которых образована вертикальной стенкой(7), боковыми стенками и водобойной плитой(8).

Размеры ступеней определяются гидравлическим расчетом: длиной отлета падающей струи и длиной гидравлического прыжка. lст=lпр+lотл.

Конструкция ступеней должна обеспечивать гашение гидравлического прыжка. Для этого на ступени предусматривают водобойные стенки(9).Водобойные стенки обеспечивают гашение кинетической энергии в пределах расчетной ступени.

Выходная часть предусматривает крепление дна и откосов водоотводящего канала(6).

 

 

20. Метод линейно контурной фильтрации (ЛКФ). Впервые этот метод был предложен русскими инженерами-гидро­техниками. Была предложена зависимость по определению длинны развёрнутого контура сооружения:

L=CH, где С- эмпирический коэфф., зависящий от рода грунта; Н- геометрический напор .

Для обеспечения устойчивости ГТС и фильтрац. прочности грунтов основания необходимо соблюдение условия:L≥Lфакт

Lфакт-длинна элементов подземного контура.

 

 

22. метод коэф. Сопротивлений. Наиболее часто в практичводохоз строительства применяют метод коэф сопротивлений, Чугаева в соотв с чем движ фильтрационных вод рассм как движение воды напорной трубе диаметром опред глубиной активной зоны фильтрации (Такт) Глубину активной зоны принимаем по специальным таблицам и зависит от отнашенияl0/S0, где L0 – проекция водонепрониц части (панура, водобоя) на горизонтальную ось, Sо – проекция водонепрониц части на вертикальную ось. Подземный панур выдел 3 типовых участка: -вход (выход); - уступ (шпунт); - горизонтальный участок. Для каждого из типовых участков по эмпирическим функциям опредклэфсопротивленƺвх, ƺвых, ƺшпунта(уступа), ƺпо длине

Потери напора на каждом типовом участке опред из условия:

ƺвх + ƺвых, + ƺшпунта) + ƺисп.

 

 

 







Date: 2015-08-24; view: 1282; Нарушение авторских прав



mydocx.ru - 2015-2026 year. (0.097 sec.) Все материалы представленные на сайте исключительно с целью ознакомления читателями и не преследуют коммерческих целей или нарушение авторских прав - Пожаловаться на публикацию