Главная Случайная страница


Полезное:

Как сделать разговор полезным и приятным Как сделать объемную звезду своими руками Как сделать то, что делать не хочется? Как сделать погремушку Как сделать так чтобы женщины сами знакомились с вами Как сделать идею коммерческой Как сделать хорошую растяжку ног? Как сделать наш разум здоровым? Как сделать, чтобы люди обманывали меньше Вопрос 4. Как сделать так, чтобы вас уважали и ценили? Как сделать лучше себе и другим людям Как сделать свидание интересным?


Категории:

АрхитектураАстрономияБиологияГеографияГеологияИнформатикаИскусствоИсторияКулинарияКультураМаркетингМатематикаМедицинаМенеджментОхрана трудаПравоПроизводствоПсихологияРелигияСоциологияСпортТехникаФизикаФилософияХимияЭкологияЭкономикаЭлектроника






Расчёт фундамента под колонну





3.1. Исходные данные

Рассчитать и законструировать столбчатый сборный фундамент под колонну среднего ряда. Бетон класса С 20/25, рабочая арматура класса S400.

Таблица 8. Исходные данные

Район строительства: г. Гродно
Сечение колонны: 300 мм x 300 мм
Основание: Мелкий песок, маловлажный, плотные, e=0,55, под фундамент предусмотрена бетонная подготовка
Отметка земли у здания: -0,150 м
Усреднённый вес единицы объема материала фундамента и грунта на его свесах: γср = 20 кН/м3
Расчётная нагрузка от фундамента: принимаем из расчета колонны – Nsd =1128,23 кН

3.2. Расчет фундамента под колонну

3.2.1. Определяем глубину заложения фундамента из условия длины колонны:

Dф1 =950+450=1400 мм = 1,4 м.

Определяем глубину заложения фундамента из условий заложения грунта:

Рис. 15. Определение глубины заложения фундамента

По схематической карте нормативной глубины промерзания грунтов для г. Гродно определяем глубину промерзания – 1,0 м.

Dф2 =150+1000+100=1250 мм < 1400 мм.

Следовательно, при глубине заложения фундамента Dф2 =1250 мм он устанавливается на талый грунт.

Окончательно принимаем глубину заложения фундамента

Dф = Dф1 =1400 мм.

3.2.2. Расчёт основания

Определяем нагрузку на фундамент без учета веса грунта на нем.

Расчетная нагрузка Nsd =1128,23 кН

Нормативная нагрузка:

Nsd,n = Nsd / γf = 1128,23/1,35 = 835,73 кН

где: γf = 1,35 - усредненный коэффициент безопасности по нагрузке.

Расчётные данные:

- Расчетное сопротивление грунта R0 = 400 кПа;

- Нормативное удельное сцепление грунта Cn = 4 кПа;

- Угол внутреннего трения = 36°;

- Расчетное сопротивление бетона класса С 16/20 при сжатии:

fcd = fck / γc = 16 / 1,5= 10,67 МПа;

- Расчетное сопротивление бетона класса С 16/20 при растяжении:

fctd = fctm / γc = 1,9 / 1,5= 1,27 МПа;

- Расчетное сопротивление арматуры класса S500 fyd = 450 МПа.

Определяем предварительные размеры подошвы фундамента:

A = Nsd,n / (R0 - γcр ⋅ Dф) = 835,73/ (400 – 20⋅1,4) = 2,25 см2

Тогда размер стороны квадратной подошвы фундамента:

b = √А = √2,25= 1,5 м.

Вносим поправку на ширину подошвы и на глубину заложения фундамента.

При Dф < 2м.

R = R0 ⋅ [ 1 – k1⋅ (b – b0)/b0 ] ⋅ (Dф + d0 ) / 2 ⋅ d0

где: b0 = 1 м; d0 = 2 м; k1 – коэффициент, принимаемый для оснований, сложенных крупнообломочными и песчаными грунтами, кроме пылеватых песков

- k1 = 0,125.

R = 400⋅ [1–0,125⋅ (1,5–1)/1] ⋅ (1,4+2)/2⋅2=318,75 МПа.

Определяем окончательные размеры подошвы фундамента с учетом поправки:

A = Nsd,n / (R0 - γcр ⋅ Dф) = 835,73 / (318,75–20⋅1,4) = 2,87 см2

Тогда размер стороны квадратной подошвы фундамента:

b = √A = √2,87 = 1,69 м.

Окончательно принимаем: b = 1,8 м (кратно 0,3 м).

Определяем среднее давление под подошвой фундамента от действующей нагрузки:

Рср = Nsd,n / A + γcр ⋅ Dф = 835,73 / 1,8⋅1,8+20⋅1,4 = 285,94 кПа.

Определяем расчётное сопротивление грунта:

R = γc1 ⋅ γc2 / k ⋅ [ Mγ ⋅ kz ⋅ b ⋅ γII + Mq ⋅ Dф ⋅ γII + Mc ⋅ Cn ]; где:

γc1 = 1,3;

γc2 = 1,2;

Mγ = 1,81;

Mq = 8,24;

Mc = 9,97;

k - коэффициент, принимаемый равным: k = 1, если прочностные характеристики грунта (φ и с) определены непосредственными испытаниями, и k = 1.1, если они приняты по таблицам; k = 1,1;

kz = 1 при b < 10 м;

γII = γII = 18 кН/м3 – удельный вес грунта соответственно ниже и выше подошвы фундамента.

R = 1,3 ⋅ 1,2/ 1,1 [1,81⋅1⋅1,8⋅18+8,24⋅1,4⋅18+9,97⋅4]= 434,75 МПа> 285,94 кПа

Следовательно, расчёт по II группе предельных состояний можно не производить.

3.2.3. Расчёт тела фундамента

Определяем реактивное давление грунта:

Ргр = Nsd / A = 1128,23/ 1,8⋅1,8 = 348,22 кПа.

Определяем размеры фундамента.

Рабочая высота фундамента из условия продавливания колонны через тело фундамента:

d0,min = - (hc + bc / 4) + 0,5⋅ √(Nsd / α ⋅ fctd + Ргр) = - (0,3+0,3 / 4) +

+ 0,5⋅ √(1128,23 / 1,0⋅1,47⋅103 + 348,22) = 267 мм

c = a + 0.5⋅∅, где: a = 45 мм – толщина защитного слоя бетона для арматуры (для сборных фундаментов).


с = 50 мм - расстояние от центра тяжести арматуры до подошвы фундамента.

Полная высота фундамента:

Hf1 = d0,min + c = 267+50 = 317 мм.

Для обеспечения жесткого защемления колонны в фундаменте и достаточной анкеровки ее рабочей арматуры высота фундамента принимается:

Hf2 = lbd + 400 =900+400 = 1300 мм.

где:

lbd = ∅⋅ fyd / 4 ⋅ fbd = 18⋅365/4⋅2,0 =1013 мм.

∅ = 18 мм – диаметр рабочей арматуры колонны;

fbd = 2,0 МПа – предельное напряженное сцепление для бетона класса С 20/25;

Принимаем окончательно высоту фундамента:

Hf = max(Hf1, Hf2) = 1013 мм. Принимаем Hf = 1050 мм – кратно 150 мм.

Рабочая высота фундамента:

d = H − c = 1050−50 =1000 мм.

Принимаем первую ступень высотой: h1 = 300 мм.

d1 = h1 − c = 300−50 = 300 мм.

Принимаем остальные размеры фундамента.

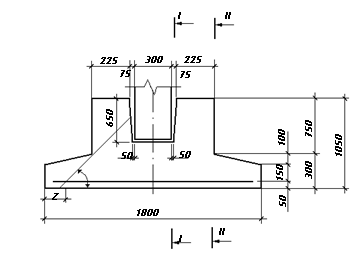
Рис.16. Определение размеров фундамента

Высота верхней ступени фундамента:

h2 = Hf − h2 = 1050−300 = 750 мм.

Глубина стакана hcf = 1,5 ⋅ hc + 50 = 1,5 ⋅ 300 + 50 = 500 мм, принимаем hcf = 650 мм. Так как h2 = 750 мм < hcf = 650 мм, принимаем толщину стенки стакана bc = 0,75 · h2 = 0,75 · 650 = 487,5 мм > bc = 225 мм.

Следовательно, требуется армирование стенки стакана.

Т. к. bc+75=225+75=300 мм < h2=600 мм

Определяем Z.

Z = b − hc − 2 · 75 − 2 · bc − 2 · bc / 2=1800−300−2·75−2·225−2·250 / 2 = =100мм.

Определяем требуемую рабочую высоту нижней ступени:

d1,треб = Ргр ⋅ Z / α ⋅ fctd = 348,22⋅0,1/1,0⋅1,27⋅103 = 27 мм.;

что не превышает принятую d1 = 250 мм.

3.2.4. Расчет армирования подошвы фундамента

Площадь сечения рабочей арматуры сетки, укладываемой по подошве фундамента, определяется из расчета на изгиб консольного выступа ступеней, заделанных в массив фундамента, в сечениях по грани колонны и по граням ступеней.

Значения изгибающих моментов в этих сечениях:

MI-I = 0,125 ⋅ Ргр ⋅ (b - hc)2 ⋅ b = 0,125⋅348,22⋅(1,8-0,3)2⋅1,8 = 176,29 мм2

MII-II = 0,125 ⋅ Ргр ⋅ (b - b1)2 ⋅ b = 0,125⋅348,22⋅(1,8-0,9)2⋅1,8 = 63,46 мм2

b1 = 225⋅2+75⋅2+300 = 900 мм

Требуемое сечение арматуры:

As1 = MI-I / 0,9⋅ d ⋅ α ⋅ fyd = 176,29⋅106 / 0,9⋅1000⋅1,0⋅365 = 435,28 мм2;

As2 = MII-II / 0,9⋅ d1 ⋅ α ⋅ fyd = 63,46⋅106 / 0,9⋅250⋅1,0⋅365 = 626,77 мм2;

Арматуру подбираем по максимальной площади:

As2 = 626,77 мм2;

Принимаем шаг стержней S = 200 мм.

Количество стержней в сетке в одном направлении:

n = b / S +1 = 1800 / 200 + 1 = 10 шт. Принимаем 10 шт.

Требуемая площадь сечения одного стержня:

As2 / 10 = 623,77 / 10 = 62,38 мм2.

Принимаем один стержень ∅8 S400, Ast = 50,3 мм2.

Такое же количество стержней укладывается в сетке в противоположном направлении.

3.2.5. Расчет монтажных петель

Вес фундамента определяем по его объему и объемному весу бетона, из которого он изготовлен.

Объем бетона на 1 стакан фундамента:

Vф = 1,8⋅1,8⋅ ((0,3+0,2)/2)+0,9⋅0,9⋅0,75-((0,4+0,45)/2)2⋅0,65 = 0,93 м3


Вес стакана с учетом коэффициента динамичности kд = 1,4:

P = Vф ⋅ γ ⋅ γf ⋅ kд = 0,93⋅25000⋅1,35⋅1,4 = 43942,75 Н.

Усилие, приходящиеся на одну монтажную петлю:

N = 43942,8 / 2 = 21971,4 Н.

Определяем площадь поперечного сечения одной петли из арматуры класса S240, fyd = 218 МПа.

As1 = N / fyd = 21971,4 / 218 = 100,7 мм2.

Принимаем петлю 1∅14 S240 As1 = 113,1 мм2.

Литература

1. СНБ 5.03.01–02. «Конструкции бетонные и железобетонные». – Мн.: Стройтехнорм, 2002 г. – 274с.

2. Нагрузки и воздействия: СНиП 2.01.07-85.–М.:1987.–36c.

3. Байков В.Н., Сигалов Э.Е. Железобетонные конструкции:

Общий курс.– М.: Стройиздат, 1991.–767с.

4. Железобетонные конструкции. Основы теории расчета и конструирования // Учебное пособие для студентов строительной специальности. Под редакцией профессора Т.М. Петцольда и профессора В.В. Тура. – Брест, БГТУ, 2003.– 380с.

5. Строительные конструкции. Методические указания по выполнению курсового проекта специальность 2-70 02 01 «Промышленные и гражданские здания». Брест 2007 г.

 







Date: 2015-07-27; view: 2733; Нарушение авторских прав



mydocx.ru - 2015-2026 year. (0.252 sec.) Все материалы представленные на сайте исключительно с целью ознакомления читателями и не преследуют коммерческих целей или нарушение авторских прав - Пожаловаться на публикацию