Главная Случайная страница


Полезное:

Как сделать разговор полезным и приятным Как сделать объемную звезду своими руками Как сделать то, что делать не хочется? Как сделать погремушку Как сделать так чтобы женщины сами знакомились с вами Как сделать идею коммерческой Как сделать хорошую растяжку ног? Как сделать наш разум здоровым? Как сделать, чтобы люди обманывали меньше Вопрос 4. Как сделать так, чтобы вас уважали и ценили? Как сделать лучше себе и другим людям Как сделать свидание интересным?


Категории:

АрхитектураАстрономияБиологияГеографияГеологияИнформатикаИскусствоИсторияКулинарияКультураМаркетингМатематикаМедицинаМенеджментОхрана трудаПравоПроизводствоПсихологияРелигияСоциологияСпортТехникаФизикаФилософияХимияЭкологияЭкономикаЭлектроника






Споруди для забирання підземних вод





Більша частина централізованих систем сільськогосподарського водопостачання використовує підземні води.

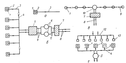
Склад споруд і схеми їх розташування при забиранні підземних вод залежать від глибини залягання водоносного пласта, його потужності, багатоводності, умов залягання, геологічної будови і гідравлічних характеристик, підземного потоку (його напору, швидкості і напряму руху). Крім того потрібно враховувати фізико–хімічні показники води, необхідність її підготовки і знезаражування, а також масштаби водоспоживання. Принципові схеми водозабірних вузлів показані на рис.7.4.

Самою загальною схемою водозабірного вузла по прийманню підземних вод є схема, що включає групу водоприймальних споруд, очисні споруди для їх обробки і знезаражування і подальшої подачі в мережу водоспоживачу (рис.7.4б).

У більшості випадків підземні води не потребують додаткового очищення і тому дуже часто використовують найпростішу схему з подачею води безпосередньо в мережу (рис.7.4а). Природно, в практиці зустрічаються і проміжні схеми, в яких виключені деякі споруди з загальної схеми, або додаються споруди до найпростішої схеми (рис. 7.4 – в,г).

Рис. 7.4. Схеми водозабірних вузлів для приймання підземних вод:

а – з насосною станцією 1-го підйому; б – з очисними спорудженнями і насосною станцією 2-го підйому; в – з водозбиральним резервуаром; г – зі штучними поповненням підземних вод; 1 – водоприймальна споруда; 2 – насосна станція (водопідйомний пристрій); 3 – напірні трубопроводи; 4 – збірний колектор; 5 – водопровідні очисні споруди; 6 – резервуари чистої води; 7 – насосна станція 2-го підйому; 8 – напірні водоводи; 9 – самопливні чи сифонні водоводи; 10 – водозбірний резервуар; 11 – всмоктуючі трубопроводи; 12 – напірний водовод сирої води; 13 – поглинаючі колодязі

 

Для забирання підземних вод використовують три основних види споруд: вертикальні і горизонтальні водозабори і каптажі.

Водозабірні споруди можуть бути досконалими і недосконалими. Водозабори, які прорізають водоносний пласт повністю і досягають водонепроникного шару, називають досконалими. Ті водозабори, що прорізають водоносний пласт частково, називають недосконалими.

До вертикальних водозаборів відносяться бурові свердловини і шахтні колодязі.

Свердловини (трубчасті колодязі) – найбільш розповсюджений тип водозабірних споруд підземних вод. Їх використовують при відносно глибокому заляганні (більше 30 метрів) водоносних пластів. Основними конструктивними частинами свердловини є кондуктор, технічна колона труб, експлуатаційна колона, захист цементний, водоприймальна частина (фільтр), відстійник, надфільтрова колона (рис.7.5).

 

Рис.7.5. Схема трубчастого колодязя: 1 – кондуктор; 2 – експлуатаційна колона; 3 – технічна захисна колона; 4 – позатрубна цементація; 5 – сальник; 6 – надфільтрова колона; 7 – робоча частина фільтра (водоприймальна частина); 8 – піщано-гравійна обсипка фільтра; 9 – відстійник; 10 – дерев’яна пробка; 11 – водоупор; 12 – експлуатаційний водоносний пласт; 13 – слабопроникні породи; 14 – міжтрубна цементація

 

Кондуктор – першу колону обсадних труб – установлюють для запобігання попаданню в свердловину забруднених поверхневих вод. В межах водоносного горизонту розташовують фільтрувальну колону, яка складається з водоприймальної – фільтруючої – частини, над фільтрової труби і відстійника. Останній звичайно виконують з глухої труби довжиною 2....5 метрів.

Експлуатаційний (внутрішній) діаметр колони труб, в якому встановлюють корпус насоса і кінцевий діаметр свердловини залежать від типу водопідйомного пристрою, конструкції водоприймальної частини свердловини, а також від необхідності її чищення.

 
 

Шахтні колодязі використовують для забирання води з перших від поверхні водоносних пластів, що залягають на глибині до 30 метрів. На відміну від свердловин шахтні колодязі являють собою вертикальну виробку з великими розмірами поперечного перерізу (1...3м). Вони призначені для водопостачання дрібних водоспоживачів – невеликих населених пунктів, промислових підприємств, польових станів, пасовищ, а також для індивідуального водопостачання.

Складається шахтний колодязь з водоприймальної частини 1, ствола 2 і надземної частини (оголовка) 3 (рис. 7.6). Часто для створення запасів води і її відстоювання він може мати водозбірну чи відстійну частину, а для вентиляції – вентиляційну трубу, яка виводиться вище поверхні землі не менше ніж на 2 метри.


Водоприймальною частиною шахтного колодязя в залежності від його конструкції, потужності водоносного пласта і властивостей водоносної породи може бути його дно, бокова поверхня або те і інше одночасно.

Будуються шахтні колодязі з цегли, каменю, дерева, бетону і залізобетону з таким розрахунком, щоб ствол і надземна частина були достатньо міцними і водонепроникними для запобігання потрапляння поверхневих вод і забруднених вод зони аерації.

Горизонтальні водозабори улаштовують в межах водоносного пласта на глибині 6...8м. при незначній його потужності. Водозабір розташовують перпендикулярно до напряму руху ґрунтового потоку з похилом у бік збірного колодязя, звідкіля вода забирається насосами. (рис. 7.7).

 

Рис. 7.7. Горизонтальний водозабір:

1 – водозабірна галерея; 2 – водоприймальні отвори; 3 – оглядовий колодязь; 4 – водозабірний колодязь; 5 – водопідйомні труби

 

Для цих водозабірних споруд використовують перфоровані бетонні труби. Навколо труб роблять гравійно–піщану обсипку, яка запобігає попаданню у воду частинок ґрунту. При значній довжині водозаборів улаштовують оглядові колодязі, призначені для огляду, очищення і вентиляції трубопроводів.

Для приймання джерельних вод, що виходять на поверхню землі, будують спеціальні водозабірні споруди – каптажі. На відміну від інших водозаборів підземних вод каптажі створюють не тільки для приймання, але і для концентрованого збирання концентрованої води у вигляді джерел, які виходять на поверхню на значній території.

Рис. 7.8. Схеми каптажних споруд: а – для приймання висхідних джерел; б – для приймання низхідних джерел; 1 – верхня водовідвідна канава; 2 – водоприймальні отвори каптажної камери; 3 – вентиляційна труба; 4 – глиняно-щебнева відмостка; 5 – залізобетонні кільця каптажної камери; 6 – дерен; 7 – переливна труба; 8 – витратна труба; 9 – залізобетонна плита днища каптажної камери; 10 – підстеляючий шар гравію; 11 – глиняний замок; 12 – гравійний зворотний фільтр; 13 – піщана засипка; 14 – водотривкий шар; 15 – водоносний шар; 16 – скеляста порода з вихідними джеорелами  
В залежності від типу джерела каптажні споруди будують по двом принципово відмінним одна від одної схемам.

 

Споруди по каптажу висхідних джерел принципово однакові. Вони являють собою водозбірну камеру, призначену для приймання джерельної води і створення її об’єму, що потрібний для нормальної роботи водопідйомного обладнання (рис. 7.8 а). Вода в таких каптажах приймається тільки через дно, яке виконано у вигляді зворотного фільтра.

Каптажні споруди низхідних джерел – це водозбірні камери з боковою водоприймальною поверхнею, яка також виконується у вигляді зворотного фільтра (рис.7.8 б).







Date: 2015-07-25; view: 451; Нарушение авторских прав



mydocx.ru - 2015-2026 year. (0.749 sec.) Все материалы представленные на сайте исключительно с целью ознакомления читателями и не преследуют коммерческих целей или нарушение авторских прав - Пожаловаться на публикацию