Главная Случайная страница


Полезное:

Как сделать разговор полезным и приятным Как сделать объемную звезду своими руками Как сделать то, что делать не хочется? Как сделать погремушку Как сделать так чтобы женщины сами знакомились с вами Как сделать идею коммерческой Как сделать хорошую растяжку ног? Как сделать наш разум здоровым? Как сделать, чтобы люди обманывали меньше Вопрос 4. Как сделать так, чтобы вас уважали и ценили? Как сделать лучше себе и другим людям Как сделать свидание интересным?


Категории:

АрхитектураАстрономияБиологияГеографияГеологияИнформатикаИскусствоИсторияКулинарияКультураМаркетингМатематикаМедицинаМенеджментОхрана трудаПравоПроизводствоПсихологияРелигияСоциологияСпортТехникаФизикаФилософияХимияЭкологияЭкономикаЭлектроника






Защита помещений от подземных вод и сырости





Практикой строительства выработаны различные способы предохранения конструкций и подземных помещений от подземных вод и влаги. Многие из этих мероприятий, выполняемые в период строительства, достаточно просты и эффективны. Но их устройство осложняется, а эффективность снижается, когда они выполняются уже в существующих зданиях и сооружениях.

Защитные мероприятия бывают направлены на предохранение подземных сооружений и подвалов от сырости, затопления грунтовыми водами, от коррозии и разрушения материалов подземных конструкций. Выбор этих мероприятий зависит от гидрогеологических условий строительной площадки, сезонного колебания и возможного изменения уровня подземных вод, их агрессивности, особенностей конструкций и назначения помещений.

Защита надземных помещений от грунтовой сырости ограничивается устройством по выровненной поверхности всех стен на высоте 15-20 см от верха отмостки или тротуара непрерывной водонепроницаемой прослойки из жирного цементного раствора или одного-двух слоев рулонного материла на битуме (рис 1.35). Этот слой составляет с бетонной подготовкой пола одно целое. В местах понижения пола устраивают дополнительную изоляцию.

Рис 1.35. Изоляция от сырости стен бесподвальных зданий с полами по лагам и по грунту: а, в – изоляция наружных стен; б – изоляция внутренних стен; 1 – рулонный материал или цементный раствор; 2 – обмазка битумом за 2 раза

 

Рис.1.36. Изоляция от сырости стен подвальных и заглубленных помещений: а – наружной стены; б - внутренней стены: 1 – рулонная гидроизоляция; 2 - обмазка битумом

Изоляция от сырости подвальных и заглубленных помещений в сухих грунтах осуществляется обмазкой за один – два раза наружной поверхности заглубленных стен горячим битумом и прокладкой рулонной изоляции в стене на уровне пола подвала. Во влажных грунтах обмазку делают по оштукатуренной цементным раствором поверхности стены. В сильновлажных грунтах к цементному раствору добавляют церезит, уплотняющий бетон и растворы.

Поверхности стен подвалов изолируются от сырости горизонтальной водонепроницаемой прослойкой в стене, доходящей до пола подземного помещения или подвала (Рис. 1.36). Изоляцией пола подвала при низком уровне грунтовых вод служит сам бетонный пол. В сильновлажных грунтах пол выполняют из плотного бетона с добавлением церезита, покрывая его слоем битума, а чистый пол – из асфальта.

Защита подвальных и подземных помещений от грунтовых вод. Основными мероприятиями по борьбе с грунтовыми водами являются перехват их дренажами и устройство гидроизоляции.

В городском и промышленном строительстве применяют горизонтальные трубчатые дренажи совершенного типа, полностью прорезающие водоносный слой и доходящего до водоупора, и несовершенного типа - прорезающие этот слой частично.

Наиболее экономично устраивать дренаж не для одного здания или сооружения, а для их комплекса в период инженерной подготовки территории, что сокращает протяженность дренажной сети.

Для отдельных зданий и сооружений применяют два типа дренажей.

Первый – пристенный (сопутствующий) дренаж – применяют при неглубоком залегании водоупора и слоистом основании (рис. 1.37). Он располагается с наружной стороны фундамента и заглубляется ниже его подошвы.

Рис. 1.37. Пристенный дренаж: 1 – щебень, втрамбованный в грунт; 2 – глинобетон; 3 – мелкий щебень или гравий; 4 – песок крупный; 5 – песок средней крупности; 6 – местный грунт; 7 – обмазка битумом за два раза

 

Второй - пластовый (рис. 1.38) - применяют в слабопроницаемых грунтах, где линейные дренажи часто не дают положительного результата и при наличии в этих грунтах маломощных хорошопроницаемых прослоек и линз.

Рис. 1.38. Пластовый дренаж под подвалом здания: 1 – песок средней крупности; 2 – пристенный дренаж; 3 – песок крупный; 4 – гравий или щебень

 

Соединение подпольного пластового дренажа с пристенным в зданиях с ленточными фундаментами осуществляется с помощью труб, а с отдельными фундаментами – через дренажные прослойки.

Пластовые дренажи не защищают подземные сооружения от сырости и увлажнения капиллярной влагой.

Устройство дренажей, особенно индивидуальных, лимитируется возможностью отвода из них воды, например, наличием ливневой канализации, станции перекачки и других устройств и условий. Следует учесть, что при устройстве дренажей требуются дополнительные расходы, связанные с их эксплуатацией и ремонтом.

Оклеечная водонепроницаемая гидроизоляция выполняется только из рулонных материалов с негниющей основой – гидроизола, металлоизола, толя и рубероида с антисептированной основой. Рулонные материалы наклеивают битумным раствором на выровненную изолирующую поверхность.


Наклеенная гидроизоляция зажимается между поверхностью изолируемой конструкции и защитной конструкцией, предохраняющей изоляцию от механических повреждений и в ряде случаев погашающей напор подземных вод. Водонепроницаемый ковер ниже расчётного уровня подземных вод должен быть непрерывен по всей заглублённой поверхности.

Подземные воды оказывают гидростатической давление на пол и стены заглубленных помещений.

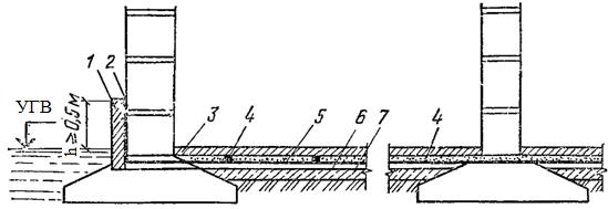
Расчётный напор hp (от отметки гидроизоляции в конструкции пола) принимают и гидроизоляцию выполняют на 0,5 м выше максимального уровня подземных вод. Схема эпюры гидростатических давлений на заглубленные помещения и величины этих давлений приведены на рис. 1.39

Рис. 1.39. Эпюра гидростатического давления подземных вод на заглубленную конструкцию

Рис. 1.40. Гидроизоляция подвала при напоре подземных вод до 0,5 м:1 – кирпичная или бетонная защитная стенка; 2 – рулонная изоляция; 3 – конструкция чистого пола; 4 – деформационные компенсаторы; 5 – цементный или асфальтовый слой; 6 – цементная стяжка; 7 – бетонная подготовка

 

Для предупреждения разрыва изоляционного ковра неравномерных осадок фундамента и пола подвала между ними устраивается компенсатор в виде петли из ковра, размещаемый в коробе с битумом. Компенсаторы устраивают и около осадочных швов.

При уровне подземных вод выше пола подвала на 0,5 м гидроизоляция должна состоять из трех или более слоев рулонной изоляции и дополнительной конструкции, защищающей ее от отрыва и воспринимающей гидростатическое давление.

На вертикальных поверхностях гидростатического давление воспринимается стенами или специальными конструкциями. В первом случае гидроизоляцию наклеивают по выровненным наружным поверхностям стен и предохраняют от механических повреждений защитной стенкой из кирпича, бетонных плит или блоков (рис.1.40). Зазор между изоляцией и стенкой заполняют жидким цементным раствором. Для лучшего зажима изоляции защитную стенку через 5-6 м по ее длине разделяют полосой рулонного материала. Во втором случае изоляцию наклеивают на внутреннюю поверхность стены и прижимают специальной конструкцией, рассчитанной на восприятие гидростатического давления (1.41)

Рисунок 1.41.Гидроизоляция подвала по наружной поверхности стен при больших напорах подземных вод: 1 - гидроизоляция; 2 - обмазка битумом; 3 - рулонная изоляция; 4 - защитная кирпичная или железобетонная стенка; 5 – железобетонное ребристое перекрытие; 6 – защитный цементный слой; 7 – цементная стяжка; 8- бетонная подготовка

Рисунок 1.42. Гидроизоляция подвала по внутренней поверхности стен при больших напорах подземных вод: 1 - гидроизоляция; 2 - обмазка битумом, защищенная цементной штукатуркой; 3 - рулонная изоляция; 4 – цементный слой; 5 – железобетонная коробчатая конструкция; 6 – чистый пол; 7 – цементная стяжка; 8- бетонная подготовка

 

Рисунок 1.43. Изоляция фундаментов от сильноагрессивных вод: 1 –перемятая глина; 2,10 - обмазка битумом на три раза; 3 защитная стенка; 4 – рулонная изоляция; 5 –чистый пол; 6 –железобетонное перекрытие; 7 – защитный слой; 8- цементная стяжка; 9 – щебеночная или гравийная подготовка на битуме


В горизонтальных конструкциях гидроизоляцию наклеивают на гладко выровненную цементной стяжкой поверхность подготовки и сверху предохраняют ее цементным или асфальтовым слоем толщиной 3-5 см. Гидростатическое давление воспринимается заделанными в стены или в опоры здания железобетонными плитами, обратно ребристыми и безбалочными перекрытиями, коробчатыми конструкциями (1.42), общими для пола и стен, и железобетонными плитами, перекрытыми металлическими балками.

Когда гидростатическое давление воспринимается железобетонными перекрытиями, они одновременно могут использоваться как сплошные фундаменты плиты.

При изоляции смежных конструкций их изолируемые поверхности должны быть притуплены фаской под углом 45 градусов или закруглены радиусом не менее10-15 см.

Защита подземных конструкций от агрессивных вод сводится в зависимости от их агрессивности к приданию материалу большей химической стойкости или к изоляции их от смачивания грунтовыми водами. При наличии определенного источника агрессивных вод хорошие результаты дает устройство вокруг сооружения нейтрализационных барьеров – канав, заполненных известковым щебнем и камнем, которые нейтрализуют кислоту в воде и снижают ее агрессивность.

Простейшей изоляцией от слабоагрессивных вод может быть глиняный замок из хорошо перемятой и плотно утрамбованной глины. В более агрессивных водах изоляция осуществляется химически стойкими оболочками.

При сильноагрессивных водах поверхности конструкции с боков и снизу предохраняют оклеечной изоляцией из битумных рулонных материалов (рис.1.43). Изоляцию по подошве сооружения наносят на подготовку из тощего бетона.

При весьма агрессивных водах конструкцию облицовывают клинкером на битуме или на специальном кислотостойком растворе.

 







Date: 2015-07-24; view: 1058; Нарушение авторских прав



mydocx.ru - 2015-2026 year. (1.566 sec.) Все материалы представленные на сайте исключительно с целью ознакомления читателями и не преследуют коммерческих целей или нарушение авторских прав - Пожаловаться на публикацию