Главная Случайная страница


Полезное:

Как сделать разговор полезным и приятным Как сделать объемную звезду своими руками Как сделать то, что делать не хочется? Как сделать погремушку Как сделать так чтобы женщины сами знакомились с вами Как сделать идею коммерческой Как сделать хорошую растяжку ног? Как сделать наш разум здоровым? Как сделать, чтобы люди обманывали меньше Вопрос 4. Как сделать так, чтобы вас уважали и ценили? Как сделать лучше себе и другим людям Как сделать свидание интересным?


Категории:

АрхитектураАстрономияБиологияГеографияГеологияИнформатикаИскусствоИсторияКулинарияКультураМаркетингМатематикаМедицинаМенеджментОхрана трудаПравоПроизводствоПсихологияРелигияСоциологияСпортТехникаФизикаФилософияХимияЭкологияЭкономикаЭлектроника






Новые эффективные виды фундаментов мелкого заложения





 

 

Рисунок 1.26. Фундамент в вытрамбованном котловане

 

Рисунок 1.27. Фундамент в вытрамбованном котловане с уширенным основанием

 

 

 

Рисунок 1.28. Буробетонный фундамент:1 – колонна; 2 – арматурный каркас; 3 - фундамент

 

Рисунок 1.29. Щелевой фундамент: 1 – стакан; 2 – подколонник; 3 – плитная часть; 4- бетонные пластины

 

 

 

Рисунок 1.30. Фундамент с анкерами: 1- фундамент; 2 – арматурный каркас; 3 - анкер

 

 

Рисунок 1.31.Фундаменты с пустотообразователями 1 – фундамент; 2 – пустообразователи

 

 

Рисунок 1.32. Фундамент с наклонной подошвой для зданий с железобетонными рамами

 

Рисунок 1.33. Узел опирания рамы и панели на фундамент с наклонной подошвой

 

 

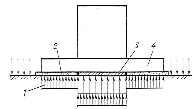
Рисунок 1.34. Фундамент на промежуточной подготовке: 1-эпюра контактных давлений; 2- рыхлый песок; 3- бетон; 4- фундамент

 

 







Date: 2015-07-24; view: 968; Нарушение авторских прав



mydocx.ru - 2015-2026 year. (0.872 sec.) Все материалы представленные на сайте исключительно с целью ознакомления читателями и не преследуют коммерческих целей или нарушение авторских прав - Пожаловаться на публикацию