Главная Случайная страница


Полезное:

Как сделать разговор полезным и приятным Как сделать объемную звезду своими руками Как сделать то, что делать не хочется? Как сделать погремушку Как сделать так чтобы женщины сами знакомились с вами Как сделать идею коммерческой Как сделать хорошую растяжку ног? Как сделать наш разум здоровым? Как сделать, чтобы люди обманывали меньше Вопрос 4. Как сделать так, чтобы вас уважали и ценили? Как сделать лучше себе и другим людям Как сделать свидание интересным?


Категории:

АрхитектураАстрономияБиологияГеографияГеологияИнформатикаИскусствоИсторияКулинарияКультураМаркетингМатематикаМедицинаМенеджментОхрана трудаПравоПроизводствоПсихологияРелигияСоциологияСпортТехникаФизикаФилософияХимияЭкологияЭкономикаЭлектроника






Г. Вытрамбовывание котлованов





 

Метод заключается в образовании в грунтовом массиве полости путем сбрасывания в одно и то же место трамбовки, имеющей форму будущего фундамента. Затем полость заполняется бетонной смесью.

Метод эффективен тем, что во время вытрамбовывания, грунт вокруг образуемой полости уплотняется, за счет чего увеличивается несущая способность основания и снижается деформируемость, а сооружение монолитной фундаментной конструкции не требует применения опалубки.

 

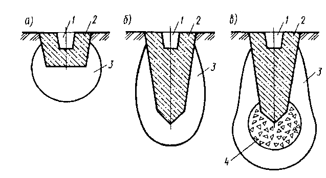
Рис. 12.8. Схемы устройства методом вытрамбовывания котлованов фундаментов с плоской подошвой (а), с заостренной подошвой обычного типа (б) и с уширенным основанием (в):

1 – стакан для установки колонны; 2 – фундамент; 3 – зона уплотнения; 4 – втрамбованный жесткий грунтовый материал

 

Вытрамбовывание выполняют путем сбрасывания трамбовки весом 1,5…10т (до 15т) по направляющей мачте с высоты 3…8(м) в одно место. (≈10…20 ударов)

Трамбовку изготавливают из листовой стали толщиной 8…10(мм) в форме будущего фундамента и заполняют ее бетоном до заданной массы.

Такой способ устройства фундаментов позволяет сократить объем земляных работ в 3…5 раз, практически полностью исключить опалубочные работы, снизить расход бетона в 2…3 раза, металла в 1,5…4 раза, а стоимость и трудоемкость уменьшить в 2…3 раза.

 







Date: 2015-07-24; view: 701; Нарушение авторских прав



mydocx.ru - 2015-2026 year. (0.999 sec.) Все материалы представленные на сайте исключительно с целью ознакомления читателями и не преследуют коммерческих целей или нарушение авторских прав - Пожаловаться на публикацию