Главная Случайная страница


Полезное:

Как сделать разговор полезным и приятным Как сделать объемную звезду своими руками Как сделать то, что делать не хочется? Как сделать погремушку Как сделать так чтобы женщины сами знакомились с вами Как сделать идею коммерческой Как сделать хорошую растяжку ног? Как сделать наш разум здоровым? Как сделать, чтобы люди обманывали меньше Вопрос 4. Как сделать так, чтобы вас уважали и ценили? Как сделать лучше себе и другим людям Как сделать свидание интересным?


Категории:

АрхитектураАстрономияБиологияГеографияГеологияИнформатикаИскусствоИсторияКулинарияКультураМаркетингМатематикаМедицинаМенеджментОхрана трудаПравоПроизводствоПсихологияРелигияСоциологияСпортТехникаФизикаФилософияХимияЭкологияЭкономикаЭлектроника






Б. Трамбовка





 

-Ручные легкие трамбовки (при ограниченном фронте работ)

-Тяжелые трамбовки

Рис. Ручные легкие трамбовки

 

Рис. Тяжелые трамбовки

 

Тяжелая трамбовка изготавливается из ж/б и имеет в плане форму круга или многоугольника (>8 сторон). Применяется для уплотнения всех видов грунтов в природном залегании (пылевато-глинистых при Sr <0,7), а также искусственных оснований и насыпей.

 

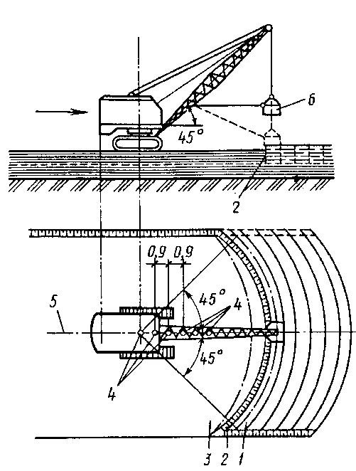
Рис. 12.7. Схема поверхностного уплотнения грунта тяжелой трамбовкой.

1-уплотняемая полоса; 2-полоса перекрытия; 3-уплотняемая полоса; 4-место стоянки экскаватора; 5-ось проходки экскаватора; 6-трамбовка.

 

- коэффициент

- диаметр трамбовки

Пески, супеси: =1,8

Суглинки, глины: =1,5

Имеется опыт применения сверхтяжелых трамбовок весом >40т, сбрасываемых с высоты до 40м.

Часто уплотнение производится до определенной степени плотности, выражаемой через коэффициент уплотнения , равный отношению заданного или фактически полученного значения плотности скелета уплотненного грунта к его максимальному значению по стандартному уплотнению , т.е. = / .

При этом принимают ≈ 0,92…0,98

Трамбование производится с перекрытием следов (рис.12.7)

 







Date: 2015-07-24; view: 684; Нарушение авторских прав



mydocx.ru - 2015-2026 year. (1.024 sec.) Все материалы представленные на сайте исключительно с целью ознакомления читателями и не преследуют коммерческих целей или нарушение авторских прав - Пожаловаться на публикацию