Главная Случайная страница


Полезное:

Как сделать разговор полезным и приятным Как сделать объемную звезду своими руками Как сделать то, что делать не хочется? Как сделать погремушку Как сделать так чтобы женщины сами знакомились с вами Как сделать идею коммерческой Как сделать хорошую растяжку ног? Как сделать наш разум здоровым? Как сделать, чтобы люди обманывали меньше Вопрос 4. Как сделать так, чтобы вас уважали и ценили? Как сделать лучше себе и другим людям Как сделать свидание интересным?


Категории:

АрхитектураАстрономияБиологияГеографияГеологияИнформатикаИскусствоИсторияКулинарияКультураМаркетингМатематикаМедицинаМенеджментОхрана трудаПравоПроизводствоПсихологияРелигияСоциологияСпортТехникаФизикаФилософияХимияЭкологияЭкономикаЭлектроника






Б. Дренаж





Это система дрен и фильтров, которая служит для перехвата, сбора и отвода подземных вод от сооружения.

Дренажи могут устраиваться как для одного здания (кольцевой дренаж), так и для комплекса зданий (систематической дренаж), что более экономично, за счет меньшей протяженности.

Виды дренажей:

- Траншейные;

- Закрытые беструбчатые;

- Закрытые трубчатые;

- Галерейного типа;

- Пластовый + пристенный.

  1. Траншейные дренажи.

(открытые дренажи и канавы).

 

Рис. Схема траншейного дренажа

Являясь эффективным средством водопонижения (отвода вод), они в тоже время занимают большие площади, осложняют устройство транспортных коммуникаций и требуют больших затрат для поддержания их в рабочем состоянии.

2. Закрытый беструбчатый дренаж – траншея, заполненная фильтрующим материалом (гравий, щебень, камень) от дна до уровня подземных вод (рис 14.12а)

Предназначен для недолговременной эксплуатации (период пространства работ нулевого цикла).

Рис.14.12. Виды тренажей:

а - закрытый беструбчатый; б – трубчатый совершенного типа; в – трубчатый несовершенного типа; г – дренажная галерея; 1 – дерн корнями вниз; 2 – уплотненная глина; 3 - дерн корнями вверх; 4 – обратная засыпка из метного песчаного грунта; 5 – щебень; 6 – каменная кладка; 7 – глинобетонная подушка; 8 – песок средней крупности; 9 – труба; 10 – водоупор; 11 – обделка из сборных железобетонных элементов; 12 – дренажная засыпка; 13 – отверстия для воды.

 

3. Трубчатый дренаж – дырчатая труба (перфорированная) с обсыпкой песчано-гравийной смесью или с фильтровым покрытием из волокнистого материала (рис 14.12.б,в).

4. Галерейный дренаж – применяют в ответственных сооружениях и там, где большой приток воды (рис 14.12. г).

5. Пластовый дренаж – слой фильтрующего материала, уложенный под всем сооружением (рис 14.13). Вода из него отводится с помощью обычных трубчатых дрен. Состоит, как правило, из двух слоев:

- Нижний (h ≥ 100 мм) – песок средней крупности;

- Верхний (h ≥ 150 мм) – щебень или гравий.

 

 

Рис. 14.13. Пластовый дренаж:

1 – уровень подземных вод; 2 – защищаемое заглубленное помещение; 3 – пристенный дренаж; 4 – песчаный слой; 5 – защитное покрытие щебеночного слоя; 6 – песчано-гравийный или щебеночный слой; 7 – труба.

  • Часто при защите отдельных зданий пластовый дренаж сочетается с пристенным (сопутствующим) дренажом – вертикальный слой из проницаемого материала, устраиваемый с наружной стороны фундамента и заглубляемый ниже его подошвы.

При неглубоком залегании водоупора и слоистом основании иногда достаточно устройства только одного пристенного дренажа.

  • Собираемые воды отводятся и сбрасываются в водоемы, дождевую канализацию или другие специальные места.

Гидроизоляция предназначена для обеспечения водонепроницаемости сооружений (антифильтрационная гидроизоляция), а также защиты от коррозии и разрушения материалов фундаментов при физической или химической агрессивности подземных вод (антикоррозионная гидроизоляция).

1). Простейший случай – защита от капиллярной влаги.

На высоте 15-20 см от верха отмостки по выровненной горизонтальной поверхности стен устраивают непрерывную водонепроницаемую прослойку из 1…2 слоев рулонного материала на битумной мастике (рис.)

Рис. 14.14. Изоляция стен от сырости и капиллярной влаги:

а – стена бесподвального здания; б – стена подвального помещения; 1- цементный раствор или рулонный материал; 2 – обмазка битумом за два раза.

2). Если уровень грунтовых вод находится ниже пола подвала (рис.14.14 б), то для защиты фундаментов применяют изоляцию от сырости.

Для этого с наружной поверхности заглубленных стен осуществляется обмазка горячим битумом за 1…2 раза и прокладываются рулонная изоляция в стене на уровне ниже пола подвала.

3). Если УГВ выше отметки пола подвала, то гидроизоляцию осуществляют в виде сплошной оболочки, защищающей заглубленное помещение снизу и по бокам.

Выполняется из рулонных материалов с не гниющей основой (гидроизол, стеклорубероид, металлоизол, толь и т.п.) – оклеичная гидроизоляция.

- Вертикальная гидроизоляция наклеивается, как правило, с наружной стороны фундамента, т.к. в этом случае под действием напора подземных вод изоляция просто прижимается к изолируемой поверхности.

Для предохранения изоляции от механических воздействий (например, при обратной засыпки) снаружи ее ограждают защитной стенкой из кирпича, бетона или блоков (рис. 14.15.) Зазор между стенкой и гидроизоляцией заполняют жидким цементным раствором.


Рис. 14.15. Гидроизоляция подвальных помещений:

а – при небольших напорах подземных вод; б, в – при больших напорах подземных вод; 1 – защитная стенка; 2 – уровень подземных вод; 3 – битумная обмазка; 4 – цементный раствор или рулонный материал; 5 – рулонная изоляция; 6 – защитный цементный слой; 7 – бетонная подготовка; 8 – цементная стяжка; 9 – железобетонное ребристое перекрытие; 10 – железобетонная коробчатая канструкция

- Горизонтальная гидроизоляция наклеивается на выровненную цементной стяжкой поверхности подготовки и защищается сверху цементным или асфальтовым слоем t=3…5см.

  • Гидростатической давление воды при УГВ до 0,5 м выше пола подвала компенсируются весом конструкции пола (рис. 14.15 а)
  • Если УГВ выше отметки пола подвала более чем на 0,5 м, то применяют специальные конструкции (заделанные в стены ж/б плиты, специальной плиты с упорами в стены здания и т.п.) – рис.14.15 б, в.
  • В любом случае гидроизоляция должна устраиваться на высоту превышающую максимальную отметку УГВ на 0,5 м.

4). Защита от коррозии.

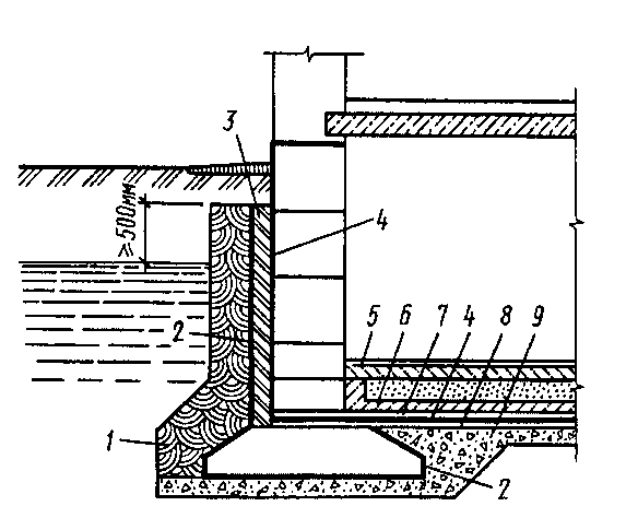
- При слабоагрессивных водах делают глиняный замок из хорошо перемятой и плотоноутрамбованной глины по всей высоте защитной стенки и с боков фундаментов (рис. 14.16)

Рис. 14.16. Изоляция фундаментов от агрессивных подземных вод:

1 – глиняный замок из перемятой глины; 2 – обмазка битумом за три раза; 3 – защитная стенка; 4 – рулонная изоляция; 5 – чистый пол; 6 – железобетонное перекрытие; 7 – защитный слой; 8 – цементная стяжка; 9 – щебеночная или гравийная подготовка на битуме.

- При более агрессивных водах до устройства глиняного замка поверхность защитной стенки и фундаментов покрывают за 2 раза битумной мастикой или оклеичной изоляции из битумных рулонных материалов.

 

Снизу фундамента и под полом подвала изоляция имеет более сложную конструкцию (см. рис.)

- На ряду с антикоррозионной изоляцией фундаменты защищают за счет применения более стойких к данному виду агрессивности цементов (сульфатостойкие и т.п.), а также плотных бетонов.

 

 







Date: 2015-07-24; view: 777; Нарушение авторских прав



mydocx.ru - 2015-2026 year. (1.188 sec.) Все материалы представленные на сайте исключительно с целью ознакомления читателями и не преследуют коммерческих целей или нарушение авторских прав - Пожаловаться на публикацию