Главная Случайная страница


Полезное:

Как сделать разговор полезным и приятным Как сделать объемную звезду своими руками Как сделать то, что делать не хочется? Как сделать погремушку Как сделать так чтобы женщины сами знакомились с вами Как сделать идею коммерческой Как сделать хорошую растяжку ног? Как сделать наш разум здоровым? Как сделать, чтобы люди обманывали меньше Вопрос 4. Как сделать так, чтобы вас уважали и ценили? Как сделать лучше себе и другим людям Как сделать свидание интересным?


Категории:

АрхитектураАстрономияБиологияГеографияГеологияИнформатикаИскусствоИсторияКулинарияКультураМаркетингМатематикаМедицинаМенеджментОхрана трудаПравоПроизводствоПсихологияРелигияСоциологияСпортТехникаФизикаФилософияХимияЭкологияЭкономикаЭлектроника






Внимание

 

После устройства заземления необходимо проверить сопротивление растеканию тока заземляющей системы. Оно должно быть для крана, питающегося от распределительного устройства с глухозаземленной нейтралью не более 10 Ом, с изолированной нейтралью - не более 4 Ом. Результаты измерения сопротивления заземляющей системы должны заноситься в акт сдачи крана в эксплуатацию. При сопротивлении заземляющей системы более указанных величин необходимо устраивать повторный очаг заземления или увеличивать число заземлителей.

 

При устройстве заземления необходимо руководствоваться требованиями Правил устройства электроустановок.

 

 

ОСНОВНЫЕ УКАЗАНИЯ ПО СКЛАДИРОВАНИЮ

1. Материалы, оборудования следует размещать на выровненных утрамбованных площадках, а в зимнее время на очищенных от снега и льда. Со складских площадок должен быть организован отвод поверхностных вод путем водоотводных канав.

2. На складе между штабелями следует оставлять проходы шириной не менее 1,0 м, а при движении автотранспорта через зону складирования проезды шириной не менее 3,5 м.

3. Складировать изделия в штабеля необходимо по одноименным маркам. Штабели должны быть снабжены табличками, обращенными в сторону прохода с указанием количества и типа изделий.

4. Подкладки и прокладки в штабелях следует располагать в одной вертикальном плоскости вблизи монтажных петель, а их толщина при складировании панелей, блоков и т.д. должна быть больше выступающих монтажных петель на 20 мм.

Применение прокладок круглого сечения при складировании строительных материалов в штабель запрещается.

 

5. При выполнении работ на штабеле высотой более 1,5 м необходимо применять переносные инвентарные лестницы.

6. Прислонять (опирать) материалы и изделия к заборам и элементам временных и капитальных сооружений запрещается.

7. Расстояние от штабелей материалов и оборудования до бровок выемок (котлованов, траншей) должно быть назначено расчетом на устойчивость откосов (крепления), как правило, за пределами призмы обрушения, но не мене 1,0 м от бровки естественного откоса или крепления выемки.

8. Прокатную сталь, срубы стальные, арматурные сетки, листы сухой штукатурки минераловатные плиты, столярные изделия следует хранить пол навесом.

9. Пылеватые материалы следует хранить в ларях, силосах и бункерах, сыпучие материалы - в штабелях с откосами: песок 1:2, щебень 1:1,5.

10.Складировать материалы и изделия следует не ближе 3,5 м от строящегося здания.

 

11. Под контролем ответственного за безопасную работу кранов нанести на внешней стороне бункера метки, соответствующие объему, по которым стропальщики должны контролировать величину объема бетона в бункере.

 

12. На стройплощадке необходимо использовать только бункер без вибратора.

 

СХЕМЫ СКЛАДИРОВАНИЯ

 

 

 

 

 

 

 

 

 

 

 

 

 

 

 

 

 

 

МЕРОПРИЯТИЯ ПРИ РАБОТЕ С БУНКЕРОМ ДЛЯ БЕТОННОЙ СМЕСИ

1. Конструкция бункера для транспортирования бетонной смеси должна отвечать требованиям ГОСТ 21807-76*.

 

 

Бункер для бетона

2. К работе с бункером допускаются только обученные рабочие.

 

3. Приемку, перемещение и выгрузку бетонной смеси с помощью бункера осуществлять в следующей последовательности:

 

- загрузить бункер бетонной смесью на приемной площадке;

 

- застропить бункер;

 

- по команде стропальщика поднять бункер краном, не отрывая от земли, для перемещения бетонной смеси в закрытую часть бункера;

 

- по команде стропальщика поднять бункер краном на высоту 0,2-0,3 м от поверхности земли, чтобы убедиться в надежности действия тормозов крана и надежности строповки;

 

- по команде стропальщика переместить краном бункер с бетонной смесью к месту укладки в конструкцию;

 

- остановить бункер над местом укладки бетонной смеси, опустить его на высоту не более 1 м от уровня приема бетонной смеси;

 

- открыть затвор бункера;

 

- выгрузить бетонную смесь под действием собственной массы;

 

- по команде сигнальщика или стропальщика возвратить бункер краном на приемную площадку и произвести его расстроповку.

 

4. При подаче бетонной смеси краном бетонщики и стропальщики (сигнальщик) должны находиться со стороны, противоположной подаче бункера.


 

5. Разгрузка бункера с бетонной смесью на весу должна производиться равномерно в течение не менее 5 секунд. Мгновенная разгрузка бункера на весу запрещается.

 

6. При подаче бункера башенным краном суммарная масса бункера с бетоном или раствором должна составлять не более 50% от грузоподъемности крана на определенном вылете.

 

7. При подаче бункера с бетоном монтажным краном суммарная масса бункера с бетоном или раствором должна составлять не более 90% грузоподъемности крана на определенном вылете.

 

8. Площадка для приема бетонной смеси должна иметь твердое покрытие.

 

ПРИМЕЧАНИЕ.

 

Мероприятия даны для бункера без вибратора.

 

ВЕДОМОСТЬ ГРУЗОЗАХВАТНЫХ ПРИСПОСОБЛЕНИЙ

         
N N п/п   Марка, ГОСТ   Характеристика     Примеч.  
        Q, т   L, м        
  Строп 4-х ветвевой 4СК1-8,0/5000 ГОСТ 25573-82   8,0   5,0      
  Строп 2-х петлевой СКШ-2,5/3000 ГОСТ 25573-82   2,5   3,0      
  Строп 2-х петлевой СКШ-1,6/1900 ГОСТ 25573-82   1,6   1,9      
  Строп для подъема бункера с бетоном 2СК-6,3 ГОСТ 25573-82   6,3   1,5      

 

ОСНОВНЫЕ УКАЗАНИЯ СТРОПАЛЬЩИКУ

1. До начала работ стропальщик должен быть обеспечен:

 

1.1. Инструкцией, определяющей его права, обязанности и порядок безопасного производства работ.

 

1.2. Списком перемещаемых краном грузов с указанием их массы.

 

1.3. Схемами графического изображения строповки, кантовки грузов (могут быть вывешены в местах производства работ).

 

1.4. Рассчитанными, испытанными и промаркированными грузозахватными приспособлениями и тарой надлежащей грузоподъемности.

 

1.5. Выделено место для укладки грузов и оборудовано необходимыми приспособлениями, подкладками и прокладками.

 

1.6. Выделено и оборудовано место хранения грузозахватных приспособлений и тары.

 

2. Перед началом работы стропальщик обязан:

 

2.1. Получить инструктаж от лица, ответственного за безопасное производство работ по перемещению грузов кранами, о месте, порядке и габаритах перемещения и складирования грузов с указанием способов взаимодействия и сигнализации с машинистом.

 

3. Во время работы стропальщик обязан:

 

3.1. Не допускать подвешивание груза на крюк грузоподъемной машины другим лицам.

 

3.2. Произвести осмотр съемных грузозахватных приспособлений и тары перед их использованием. Забракованные съемные грузозахватные приспособления и тара, а также не имеющие бирки (клейма), не должны находиться в местах производства работ.

 

3.3. Подбирать грузозахватные приспособления (тару), соответствующие массе и характеру поднимаемого груза, согласно схем строповки. Строповку монтируемых элементов производить в местах, указанных в рабочих чертежах, (схемах строповки), и обеспечивать их подъем и подачу к месту установки в положении, близком к проектному. Подъем груза, на который не разработаны схемы строповки производить в присутствии и под руководством лица, ответственного за безопасное производство работ по перемещению грузов краном.


 

3.4. Перед подъемом каждого монтируемого элемента необходимо проверить:

 

- соответствие его проектной марке;

 

- состояние закладных изделий;

 

- наличие разметочных рисок;

 

- отсутствие грязи, снега, наледи, повреждений поверхностей граней и ребер;

 

- оснащение в соответствии с ППР средствами подмащивания, лестницами, ограждениями;

 

- правильность и надежность закрепления грузозахватных устройств.

 

3.5. Перед подачей сигнала о перемещении груза стропальщик обязан:

 

- дать машинисту крана приподнять груз на 20-30 см и проверить правильность строповки (при необходимости исправления строповки груз должен быть опущен);

 

- убедиться, что на грузе нет незакрепленных предметов, и что груз не может за что-то зацепиться;

 

- убедиться, что около груза и на пути его следования отсутствуют люди;

 

- отойти от груза на безопасное расстояние в сторону противоположную подаче груза краном;

 

3.6. При перемещении груза стропальщик обязан:

 

- следить, чтобы груз не перемещался над людьми;

 

- следить, чтобы груз не перемещался над ранее смонтированными конструкциями или их выступающими частями на расстояние не менее 1,0 м по горизонтали и 0,5 м по вертикали;

 

- при возникновении опасности немедленно подать сигнал машинисту крана прекратить перемещение груза.

 

3.7. Не опускать груз на автомашину или поднимать груз, находящийся в ней, при нахождении людей в кузове или кабине.

 

3.8. При подъеме, опускании и перемещении груза краном стропальщик должен отойти на безопасное расстояние в сторону, противоположную перемещению груза. Стропальщик может находиться возле груза, если груз находятся на высоте не более 1 м от уровня площадки, на которой стоит стропальщик.

 

3.9. Подъем и перемещение мелкоштучных и сыпучих грузов должно производиться в специально для этого предназначенной таре (контейнере), при этом должна исключаться возможность выпадения отдельных грузов.

 

3.10. Подъем кирпича (мелких блоков) на поддонах без ограждений разрешается производить при погрузке и разгрузке (на землю) автомашину, а также при условии удаления людей из зоны перемещения груза (опасной зоны).

 

3.11. Перед строповой тары с сыпучим грузом поверхность груза необходимо разровнять так, чтобы расстояние от верхнего края тары до поверхности насыпанного в тару материала была не менее 10 см, а края тары очистить от налипшего материала.

 

СХЕМЫ СТРОПОВКИ

 


 

 

 

 

 

 

 

 

 

 

 

 

 

 

 

 

 

 

 

 

 

 

 

ОСНОВНЫЕ ТРЕБОВАНИЯ ПРАВИЛ ТЕХНИКИ БЕЗОПАСНОСТИ

1. При производстве погрузочно-разгрузочных работ необходимо руководствоваться требованиями СНиП 12-03-2001 "Безопасность труда в строительстве. Часть 1. Общие требования", СНиП 12-04-2002 "Безопасность труда в строительстве. Часть 2. Строительное производство", ГОСТ 12.3.009-76 "Работы погрузочно-разгрузочные", "Правил устройства и безопасной эксплуатации грузоподъемных кранов", а также "Правил по охране труда при погрузочно-разгрузочных работах" ПОТ РМ-007-98.

 

2. В зоне производства погрузочно-разгрузочных работ нахождение посторонних лиц запрещается.

 

3. К производству погрузочно-разгрузочных работ допускаются только рабочие, прошедшие курсовое обучение по типовой программе, сдавшие экзамены и получившие удостоверение на право производства данных работ. Перед началом работ рабочие должны быть проинструктированы по технике безопасности непосредственно на рабочем месте. Повторный инструктаж должен производиться не реже одного раза в три месяца.

 

4. Лицо, ответственное за безопасное перемещение грузов кранами, до начала работ обязано ознакомить стропальщиков с технологической картой, указать место, порядок и габариты складирования грузов. При работе нескольких стропальщиков один из них назначается старшим и руководит погрузочно-разгрузочными работами. К работе стропальщики допускаются только в спецодежде (каски, рукавицы, сигнальные куртки).

 

5. Площадка до начала работ должна быть очищена и спланирована, а при производстве работ в темное время достаточно освещена в соответствии с требованиями ГОСТ 12.1.046-85 (не менее 10 лк).

 

6. При производстве работ кранами необходимо соблюдать следующие требования:

 

- на месте производства работ по подъему и перемещению грузов, а также на кране не должно допускаться нахождение лиц, имеющих прямого отношения к работе;

 

- подъем, опускание и перемещение груза не должны производиться при нахождении людей под грузом; стропальщик может находиться возле груза во время его подъема или опускания, если груз находиться на высоте не более 1,0 м от уровня площадки, на которой он находится;

 

- при подъеме груза вблизи строений, штабелей и транспорта не должно допускаться нахождение людей между принимаемым грузом и сооружением или транспортом. Настоящее требование должно выполняться и при опускании груза;

 

- при перемещении груза в горизонтальном направлении он должен быть поднят на 0,5 м выше встречающихся на пути предметов;

 

- при подъеме груза он должен быть предварительно поднят на высоту не более 20-30 см для проверки правильности строповки и надежности действия тормозов.

 

7. При производстве работ запрещается:

 

- оттягивать груз во время его подъема, перемещения, опускания; для разворота длинномерных и громоздких грузов во время их подъема и перемещения необходимо применять оттяжки-багры из пенькового троса;

 

- освобождать защемленные грузом стропы;

 

- выравнивать поднимаемый или перемещаемый груз собственным весом, а также поправлять стропы на весу;

 

- поднимать груз, находящийся в неустойчивом положении;

 

- поднимать груз, заложенный другими грузами;

 

- подтаскивать груз по земле крюком крана;

 

- поднимать и перемещать груз с находящимися на нем людьми или над людьми;

 

- оставлять груз в подвешенном состоянии после окончания или при перерыве в работе;

 

- погрузка и разгрузка автомашин при нахождении в ее кабине людей;

 

- работа при выведенных из действия или неисправных приборах безопасности и тормозов.

 

8. Краны для выполнения погрузочно-разгрузочных работ должны быть обеспечены комплектом вспомогательных съемных грузозахватных приспособлений. Захватные приспособления должны обеспечить безопасность работ, сохранность поднимаемого груза и наименьшую трудоемкость при строповке и расстроповке. Все грузозахватные приспособления должны подвергаться периодическому осмотру лицом, ответственным за их исправное состояние в следующие сроки:

 

- стропы (за исключением редко используемых) - каждые 10 дней;

 

- траверсы, клещи и другие захваты - каждый месяц;

 

- редко используемые грузозахватные приспособления - перед выдачей их в работу;

 

- грузоподъемные машины - не реже одного раза в три года (частичному освидетельствованию - не реже одного раза в 12 месяцев). Браковку стропов производить согласно "Правил устройства и безопасной эксплуатации грузоподъемных кранов". Забракованные грузозахватные приспособления, не имеющие бирок (клейма), не должны находиться в местах производства работ.

 

9. При выполнении работ на штабеле высотой более 1,5 м необходимо применять переносные инвентарные лестницы. Разборку штабеля следует вести так, чтобы не нарушить его устойчивость в целом.

 

10. При выполнении погрузочно-разгрузочных работ необходимо соблюдать требования законодательства о предельных нормах переноски тяжестей и допуске работников к выполнению этих работ.

 

11. Механизированный способ погрузочно-разгрузочных работ является обязательным для грузов весом более 50 кг, а также при подъеме грузов на высоту более 2 м.

 

12. Загрузка кузова автомобиля (прицепа) должна производиться от кабины к заднему борту, разгрузка - в обратном направлении.

 

13. При загрузке автомобиля груз не должен возвышаться над проезжей частью дороги более, чем на 3,8 м и иметь ширину не более 2,5 м.

 

14. Открывать и закрывать борта кузова транспортного средства разрешается не менее, чем двумя работниками, при этом необходимо убедиться в безопасном расположении груза.

 

15. Запор борта платформы необходимо открывать в первую очередь в середине, затем у торца платформы. Работник при этом должен находиться на расстоянии не менее 1 м от борта платформы.

 

16. Использование водителя на погрузочно-разгрузочных работах допускается как исключение, в случаях, специально оговоренных в инструкциях и при наличии этих условий в договоре (контракте).

 

17. При постановке транспортного средства под погрузку или разгрузку должны быть приняты меры по предотвращению самопроизвольного его движения.

 

СХЕМА N 1

 

Действия стропальщика при разгрузке автотранспорта

1. Предварительно определяет массу поднимаемого груза, его габариты, определяет вылет стрелы, стоянку крана место и способ складирования.

 

2. Выбирает схему строповки, подбирает стропа по грузоподъемности и характеру поднимаемого груза, навешивает их на крюк крана.

 

3. Проверяет наличие и состояние монтажных петель.

 

4. Подает сигнал машинисту крана о подаче стропов на груз в автотранспорте.

 

5. Поднимается в автомашину по эстакаде (навесной площадке, лестнице) и производит строповку груза в соответствии со схемой строповки.

 

6. Подает сигнал машинисту крана на натяжение стропов.

 

7. Выходит из автомашины на эстакаду или навесную площадку (при отсутствии эстакады или навесной площадки выходит из автомашины по приставной лестнице) и подает сигнал машинисту крана на подъем груза на высоту 200-300 мм. После подъема груза убеждается в правильности строповки, равномерности натяжения стропов, исправности тормозов крана и устойчивости крана (для самоходных кранов).

 

8. Убедившись в отсутствии людей в кабине автомашины и около нее отходит на безопасное расстояние (выходит из опасной зоны) и подает сигналы машинисту крана на подъем и перемещение груза на площадку складирования или к месту производства работ.

 

СХЕМА N 2

 

Действия стропальщика при приемке груза на складе

1. Определяет место укладки груза, укладывает прокладки (подкладки), при необходимости знакомится со схемой складирования груза.

 

2. Подает сигнал машинисту крана на опускание груза. При опускании груза на высоту не более 1 м от уровня площадки, на которой находится стропальщик, подает сигнал машинисту крана на прекращение опускания груза.

 

3. Подходит к грузу, наводит его на необходимое место установки и подает сигнал машинисту крана на опускание груза.

 

4. Производит расстроповку груза, отходит на безопасное расстояние и подает сигнал машинисту крана на подъем стропов.

 

СХЕМА N 3

 

Действия стропальщика при подъеме груза со склада

1. Подбирает стропа по грузоподъемности и характеру поднимаемого груза и навешивают их на крюк крана.

 

2. Отходит на безопасное расстояние (выходит из опасной зоны) и подает сигнал машинисту крана о подаче стропов на штабель требуемого груза.

 

3. После опускания стропов поднимается на штабель (подходит к грузу), производит строповку груза в соответствии со схемой строповки.

 

4. Подает сигнал машинисту крана на натяжение стропов. Выходит из опасной зоны и подает сигнал машинисту крана на последующий подъем груза на высоту 200-300 мм. После подъема груза убеждается в правильности строповки, равномерности натяжения стропов, исправности тормозов крана.

 

5. Отходит на безопасное расстояние (выходит из опасной зоны) и подает сигналы машинисту крана на подъем и перемещение груза на автотранспорт или к месту производства работ.

 

СХЕМА N 4

 

Действия стропальщика при погрузке автотранспорта

1. Выбирает схему строповки, подбирает стропа в соответствии со схемой строповки, навешивает их на крюк крана.

 

2. Определяет стоянку крана (в зависимости от массы груза на вылете стрелы) и автомашины.

 

3. Подает сигнал машинисту крана на опускание груза. При опускании груза на высоту порядка 1 метра от уровня настила кузова автомашины (но не менее 0,5 м от наиболее выступающих частей автомашины), подает сигнал машинисту крана на прекращение опускания груза.

 

4. Поднимается на эстакаду или навесную площадку (при их отсутствии подходит к автомашине), наводит груз на необходимое место установки (с использованием оттяжек, багра и т.п.) и подает сигнал машинисту крана на опускание груза.

 

5. После опускания груза на место заходит в кузов автомашины и производит расстроповку груза. Выходит из кузова машины, отходит на безопасное расстояние и подает сигнал машинисту крана на подъем стропов.

 

Сигналы крановщику подает только старший стропальщик С1.

 

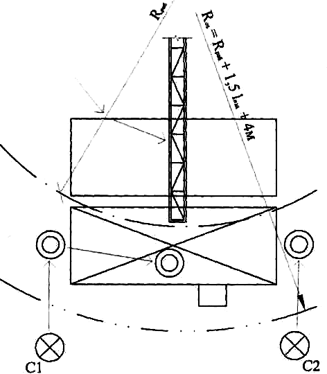
R = R +"А",

 

где:

"А" - 1,5 L + "а", где "а" - максимальное расстояние отлета груза (т. Г.1 СНиП 12-03-2001)

 

L - максимальный габарит изделия

 

УСЛОВНЫЕ ОБОЗНАЧЕНИЯ

   
  - положение водителя при разгрузке (погрузке) автомобиля  
  - положение стропальщика при строповке и расстроповке груза, натяжении стропов, при выравнивании (при опускании груза) с высоты не более 1 метра от уровня площадки на складе (месте производства работ)  
  - положение стропальщика при подъеме груза с автомашины на высоту 200-300 мм, при наведении и опускании груза в кузов автомашины с высоты не более метра (1 - при наличии эстакады, 2 - при отсутствии эстакады)  
  - положение стропальщика при подъеме, перемещении и опускании груза  
  - направление подачи груза краном  
  - эстакада (навесная площадка, лестница) для подъема в автомашину, на штабель  
  - указатель границы опасной зоны  
  - граница рабочей зоны  
  - граница опасной зоны  

 

 

ОСНОВНЫЕ УКАЗАНИЯ

1. На данном листе разработана технологическая карта на установку арматуры при устройстве монолитной плиты перекрытия.

 

2. Технология армирования монолитной плиты предусматривает установку каркасов (сеток), предварительно сваренных на стенде на строительной площадке и вязку арматуры отдельными стержнями.

 

3. Работу по армированию монолитной плиты предусмотрено вести последовательно по захваткам.

 

4. Перед началом арматурных работ, необходимо:

 

- установить опалубку, выполнить ограждение опалубки;

 

- подготовить к работе оснастку и инструмент;

 

- очистить арматуру каркасов от ржавчины на строительной площадке;

 

- предусмотреть мероприятия по безопасному производству работ;

 

- подать пакеты с арматурными изделиями к месту работ.

 

5. Плоские каркасы (сетки) подают к месту установки в пакетах по 10-15 штук, арматурные стержни в пучках, согласно схем; строповки.

 

6. Подъем и перемещение арматуры осуществляется в следующей последовательности:

 

6.1. по команде ст. стропальщика машинист крана подает стропа к месту складирования арматуры.

 

6.2. стропальщики подходят, проводят строповку арматуры и отходят на безопасное расстояние.

 

6.3. по команде ст. стропальщика машинист крана поднимает арматуру на 20-30 см для проверки надежности строповки.

 

6.4. убедившись в правильности и надежности строповки, ст. стропальщик дает команду крановщику на дальнейший подъем (на высоту не менее 0,5 м, выше встречающихся на пути предметов) и перемещение арматуры к месту установки, визуально следя за его передвижением, находясь за пределами опасной зоны.

 

6.5. после перемещения арматуры к месту установки, ст. стропальщика дает команду крановщику опустить груз на высоту не более 1 м над местом установки.

 

6.6. крановщик опускает каркасы на подстилающий слой и стропальщик производит расстроповку груза.

 

7. При ведении арматурных работ на захватке контур плиты должен быть огражден (либо ограждением опалубки, либо инвентарным ограждением).

 

7.1. при ведении арматурных работ на участках, не имеющих надежных ограждений, рабочие обязательно должны крепить страховочным поясом с удлинителем во избежание падения с высоты. Места крепления указывает мастер.

 

8. Для обеспечения проектного положения верхних рядов арматуры необходимо использовать пространственные фиксаторы, которые устанавливаются в шахматном порядке с шагом 500 мм.

 

8.1. обеспечение защитного слоя бетона нижних рядов арматуры обеспечивается использованием инвентарных пластмассовых фиксаторов, которые устанавливаются в шахматном порядке.

 

9. Ходить по заармированному перекрытию разрешается только по щитам с опорами, которые должны устанавливаться непосредственно на опалубку плиты.

 

10. Приемка смонтированной арматуры оформляется актом на скрытые работы.

 

10.1. при приемке работ, следует обращать особое внимание на правильность установки арматуры, обеспечение необходимых зазоров, в том числе и для образования защитного слоя, на правильность скрепления пересечения стержней.

 

11. При производстве работ по армированию стен необходимо руководствоваться требованиям СНиП 12.04.2002 "Безопасность труда в строительстве", СНиП 12-03-2001 "Безопасность труда в строительстве", и СНиП 3.03.01-87 "Несущие ограждающие конструкции".

 

ТАБЛИЦА ОСНАСТКИ, ИНВЕНТАРЯ И ПРИСПОСОБЛЕНИЙ

           
N п/п   НАИМЕНОВАНИЕ   ТИП   МАРКА   кол-во   ПРИМЕЧАНИЕ    
  площадка монтажника   инвент.   МП 383.00.00 ПКТИ          
  фиксаторы пространственные   металлич.   ПФ-1       по потребности  
  фиксаторы пластмассовые   пластмас.           по потребности  
  кусачки               на бригаду  
  4-х ветвевой строп       Строп 4-х ветвевой 4СК1-8,0/5000 ГОСТ 25573-82       на один кран  
  комплект электросварщика               на каждого эл. сварщика  
  сварочный трансформатор       ТС-300       ГОСТ 95-77Е  
  крючки вязальные               по потребности  

 

ТАБЛИЦА ПРЕДЕЛЬНЫХ ОТКЛОНЕНИЙ ПРИ УСТРОЙСТВЕ АРМАТУРНЫХ КОНСТРУКЦИЙ ПЛИТЫ ПЕРЕКРЫТИЯ

 

       
N п/п   параметр   предельные отклонения, мм.   контроль, метод, объем, вид регистрации    
  отклонение между отдельными установленными рабочими стержнями   ±20 мм   технический осмотр всех элементов, журнал работ  
  отклонение в расстоянии между рядами арматуры   ±10 мм      
  при армировании конструкций отдельными стержнями, установленными внахлестку без сварки, длина нахлестки должна быть не менее:          
    - для А-I   40 d      
    - для А-II   40 d      
    - для А-III   50 d      
  при армировании конструкций сварными сетками и каркасами допускается установка их без сварки путем перепуска на длину, указанную в проекте   но не менее 250 мм      
  суммарной длины сварных швов на стыке стержней внахлестку или на каждой половине стыка с накладками:          
    - для стержней класса А-I:          
    при двухсторонних швах   3 мм      
    при односторонних швах   6 мм      
    - для стержней класса А-II и А-IV:          
    при двухсторонних швах   4 мм      
    при односторонних швах   8 мм      
  при толщине защитного слоя от 16 до 20 мм и размеры поперечного сечения конструкции, мм.   +15; -5 мм      

 

 

СХЕМА ОРГАНИЗАЦИИ АРАМАТУРНЫХ РАБОТ НА ЗАХВАТКЕ

 

 

 

ЩИТ Щ1

 

 

 

Пространственный фиксатор

 

 

 

Пространственные фиксаторы необходимо установить в шахматном порядке с шагом 500 мм

 

 

Спецификация стали на один фиксатор

               
N п/п   сечение   стандарт   длина, мм   вес 1 поз., кг.   кол-во.   вес всех поз., кг.   примечание  
  Ш 8А- I   ГОСТ 5781-82     0,48          

 

Спецификация материалов на один щит

 

               
N п/п   сечение   стандарт   длина, мм   объем 1 шт., м   кол-во.   объем всех поз., м   примечание  
  доска 150x20   ГОСТ 8486-86     0,0027     0,0108   вес щита 8,56 кг   Расход материалов на 1 щит 0,016 м  
  доска 150x20   ГОСТ 8486-86     0,0018     0,0036    
  доска 150x20   ГОСТ 8486-86     0,001     0,008    

 

 

Способы обеспечения защитного слоя арматуры:

а - в балках я ребрах плит при помощи упоров; б - в балках посредством удлиненных стержней; в - бетонной подкладкой с проволочной скруткой; г - бетонной пробкой с пружинной скобой; д - упругим пластмассовым фиксатором; е - металлическими штампованными подставками

ОСНОВНЫЕ УКАЗАНИЯ

1. Технологическая схема разработана на бетонирование монолитных перекрытий.

 

2. Бетонирование перекрытий производится с использованием переставной опалубки по захваткам, после выполнения монолитных стен до нижней отметки перекрытия.

 

3. До начала бетонирования перекрытий на каждой захватке необходимо:

 

- предусмотреть мероприятия по безопасному ведению работ на высоте;

 

- установить опалубку;

 

- установить арматуру, закладные детали и пустообразователи для проводки;

 

- все конструкции и их элементы, закрываемые в процессе бетонирования (подготовленные основания конструкций, арматура, закладные изделия и другие), а также правильность установки и закрепления опалубки и поддерживающих ее элементов должны быть приняты в соответствии со СНиП 3.01.01-85.

 

4. Перед бетонированием поверхность деревянной, фанерной или металлической опалубки следует покрыть эмульсионной смазкой, а поверхность бетонной, ж/бетонной и армоцементной опалубки - увлажнить. Поверхность ранее уложенного бетона очистить от цементной пленки и увлажнить или покрыть цементным раствором.

 

5. Защитный слой арматуры выдерживается с помощью инвентарных пластмассовых фиксаторов, устанавливаемых в шахматном порядке.

 

6. Для выверки верхней отметки бетонируемого перекрытия устанавливаются пространственные фиксаторы или применяют съемные маячные рейки, верх которых должен соответствовать уровню поверхности бетона.

 

7. Транспортирование бетонной смеси на объект производится автобетоновозами с выгрузкой бетона в бункер на площадке приема бетона. Подача бетонной смеси в конструкцию перекрытия производится в бункерах объемом 1 м с помощью башенного крана.

 

8. При бетонировании ходить по заармированному перекрытию разрешается только по щитам с опорами, опирающимися непосредственно на опалубку перекрытия.

 

9. При разгрузке бетонной смеси из бункера в опалубку перекрытия расстояние между нижней кромкой бункера и поверхностью, на которой укладывается бетон, должен быть не более 1,0 м.

 

10. Бетонную смесь следует укладывать горизонтальными слоями шириной 1,5-2 м одинаковой толщины без разрывов, с последовательным направлением укладки в одну сторону во всех слоях.

 

11. Укладка следующего слоя бетонной смеси допускается до начала схватывания бетона предыдущего слоя. Продолжительность перерыва между укладкой смежных слоев бетонной смеси без образования рабочего шва устанавливается строительной лабораторией.

 

12. При бетонировании плоских плит рабочие швы по согласованию с проектной организацией устраивают в любом месте по оси стены. Поверхность рабочего шва должна быть перпендикулярна поверхности плиты, для чего в намеченных местах прерывания бетонирования ставятся рейки по толщине плиты.

 

13. Возобновление бетонирования в месте устройства рабочего шва допускается производить при достижении бетоном прочности не менее 1,5 МПа и удаления цементной пленки с поверхности шва механической щеткой с последующей поливкой водой.

 

14. Для уплотнения бетонной смеси используются глубинные вибраторы (ИВ-66, ИВ-47А) или поверхностные вибраторы (ПВ-1, ПВ-2).

 

15. Во время работы не допускается опирание вибратора на арматуру и закладные детали монолитной конструкции. В местах непосредственной установки электротехнических коробочек виброуплотнение не производить.

 

16. Шаг перестановки глубинных вибраторов не должен превышать полуторного радиуса его действия, поверхностные вибраторы переставляют так, чтобы площадка вибратора на новой позиции на 50-100 мм перекрывала соседний провибрированный участок.

 

17. Продолжительность вибрирования на каждой позиции должна обеспечивать достаточное уплотнение бетонной леей, основными признаками которого служат прекращение ее оседания, появление цементного молока на поверхности и прекращение выделения пузырьков воздуха.

 

18. В местах, где арматура, закладные изделия или опалубка препятствуют надлежащему уплотнению бетонной смеси вибраторами, ее следует дополнительно уплотнять штыкованием.

 

19. В процессе бетонирования и по окончании его необходимо применять меры к предотвращению сцепления с бетонном элементов опалубки и временных креплений.

 

20. При производстве работ необходимо соблюдать требования СНиП 3.03.01-87 "Несущие и ограждающие конструкции" и СНиП 12-03-2001 "Безопасность труда в строительстве".

 

ТАБЛИЦА ПРЕДЕЛЬНЫХ ОТКЛОНЕНИЙ ПРИ УСТРОЙСТВЕ МОНОЛИТНЫХ ПЛИТ ПЕРЕКРЫТИЯ, ПОКРЫТИЯ

 

       
N п/п   Параметр   Предельные отклонения, мм     Контроль, метод, объем, вид регистрации  
  отклонение горизонтальных плоскостей на всю длину выверяемого   20 мм   измерительный, не менее 5 измерений на каждые 50-100 м, журнал работ  
  местные неровности поверхности бетона при проверке 2-х метровой рейкой, кроме опорных поверхностей   5 мм   измерительный, каждый конструктивный элемент, журнал работ  
  длина или пролет элемента   ±20 мм   измерительный, каждый элемент, журнал работ  
  размер поперечного сечения элемента   + 6 мм -3 мм   измерительный, каждый элемент, журнал работ  
  отметки поверхностей и закладных изделии, служащих опорами для стальных или сборных железобетонных колонн и других сборных элементов   - 5 мм   измерительный, каждый опорный элемент, исполнительная схема  
  разница отметок по высоте на стыке двух смежных поверхностей   3 мм   то же, каждый стык, исполнительная схема  

 

 

ФРАГМЕНТ ПЛАНА

 

 

 

 

 

УСЛОВНЫЕ ОБОЗНАЧЕНИЯ

   
  - местоположение стропальщика (монтажника) в момент строповки и расстроповки груза  
  - местоположение стропальщика (монтажника) в момент перемещения груза  
  - направление подачи груза  
  - граница опасной зоны  
  - стрела крана  

 

ВНИМАНИЕ

 

1. Провода от распределительного щитка к вибраторам заключают в резиновые рукава, корпус вибратора на месте работы обязательно заземляют.

 

2. Рабочие должны работать с электровибраторами только в резиновых сапогах и перчатках.

 

3. Для включения вибратора применяют устройства закрытого типа, использование штепсельных розеток недопустимо.

 

4. При уплотнении бетонной смеси вибраторами перемещать вибратор за токоведущие шланги не допускается, а при перерывах в работе и переходе с одного места на другое электровибраторы необходимо выключать.

 

5. Распалубливание плит производят после достижения бетоном прочности 70% от проектной.

 

6. Контроль за качеством бетонной смеси производится строительной лабораторией в соответствии с ГОСТ 10180-90. Все данные по качеству заносятся в журнал бетонных работ.

 

Особое внимание следует уделять контролю за виброуплотнением бетонной смеси.

 

УСТРОЙСТВО РАБОЧЕГО ШВА

 

 

 

СХЕМА ПЕРЕСТАНОВКИ ГЛУБИННЫХ ВИБРАТОРОВ

 

 

 

 

ПРИМЕЧАНИЕ

 

1. Арматура условно не показана.

 

2. При ведении монолитных работ на участках, не имеющих надежных ограждений, рабочие обязательно должны крепиться страховочным поясом с удлинителем во избежание падения с высоты. Места крепления указывает мастер (прораб).

 

ОСНОВНЫЕ УКАЗАНИЯ

1. На данном листе разработана технологическая карта на установку арматуры при возведении монолитных стен здания.

 

2. Технология армирования стен предусматривает установку плоских каркасов, предварительно сваренных на стенде на строительной площадке и вязку арматуры отдельными стержнями.

 

3. Работу по армированию стен на этаже предусмотрено вести последовательно по захваткам.

 

4. Перед началом арматурных работ, необходимо:

 

- подготовить к работе оснастку и инструмент;

 

- очистить арматуру каркасов от ржавчины на строительной площадке;

 

- убедиться в наборе достаточной прочности перекрытия нижележащего этажа;

 

- закрыть все проемы в перекрытии щитами и закрепить их от смещения;

 

- предусмотреть мероприятия по безопасному производству работ;

 

- подать пакеты с арматурными изделиями к месту работ;

 

- произвести заземление сварочного аппарата.

 

5. Плоские каркасы подаются на этаж краном в пакетах по 10-15 штук, арматурные стержни в пучках, согласно схемам строповки.

 

6. Перед каждой операцией по подъему и перемещению каркасов стропальщик должен проверить, что:

 

- на подаваемой арматуре нет незакрепленных стержней, инструментов;

 

- нет людей возле поднимаемых грузов в опасной зоне перемещения груза.

 

7. Подъем и перемещение арматуры осуществляется в следующей технологической последовательности:

 

- по команде ст. стропальщика машинист крана подает стропа к месту складирования арматуры;

 

- стропальщики подходят, проводят строповку арматуры и отходят на безопасное расстояние;

 

- по команде ст. стропальщика машинист крана поднимает арматуру на 20-30 см для проверки надежности строповки;

 

- убедившись в правильности и надежности строповки, ст. стропальщик дает команду крановщику на дальнейший подъем (на высоту не менее 0,5 м, выше встречающихся на пути предметов) и перемещение арматуры к месту установки, визуально следя за его передвижением, находясь за пределами опасной зоны;

 

- после перемещения арматуры к месту установки, ст. стропальщик дает команду крановщику опустить груз на высоту не более 1 м над местом установки;

 

- крановщик опускает каркасы на подстилающий слой и стропальщик производит расстроповку груза.

 

8. Армирование стен выполняется поэтапно:

 

- на первом этапе устанавливают плоские каркасы. Каждый плоский каркас в отдельности выверяется, устанавливается и закрепляется по проекту (сваркой или вязкой) к выпускам нижележащей арматуры. При установке плоских каркасов закрепляются пластмассовые фиксаторы для защитного слоя, фиксаторы устанавливаются в шахматном порядке.

 

- на втором этапе устанавливают продольную арматуру. Продольная арматура устанавливается и закрепляется снизу вверх. Вязку арматуры отдельными стержнями до отметки 1,5 м арматурщики ведут вручную с перекрытия, а выше с площадок монтажника.

 

9. При ведении арматурных работ на захватке контур перекрытия должен быть огражден (либо ограждением столовой опалубки, либо инвентарным ограждением).

 

10. При ведении арматурных работ на участках, не имеющих надежных ограждений, рабочие обязательно должны крепиться страховочным поясом с удлинителем во избежание падения с высоты. Места крепления указывает мастер.

 

11. При выполнении арматурных работ с площадки монтажника на расстоянии 2-х м и менее от края перекрытия необходимо до подъема монтажника на площадку закрепить площадку монтажника страховочным тросом за надежные элементы конструкций (места крепления указывает мастер). Площадка должна иметь надежные ограждения, высотой 1,1 м.

 

12. Приемка смонтированной арматуры оформляется актом на скрытые работы:

 

- при приемке работ следует обращать особое внимание на правильность установки арматуры, обеспечение необходимых зазоров; в том числе и для образования защитного слоя, на правильность скрепления пересечения стержней.

 

13. При производстве работ по армированию стен необходимо руководствоваться требованиям СНиП 12-04-2002 "Безопасность труда в строительстве", СНиП 12-03-2001 "Безопасность труда в строительстве", и СНиП 3.03.01-87 "Несущие и ограждающие конструкции".

 

ТАБЛИЦА ОСНАСТКИ, ИНВЕНТАРЯ И ПРИСПОСОБЛЕНИЙ

           
N п/п   Наименование   Тип   Марка     Кол-во   Примечание  
  площадка монтажника   инвент.   МП 383.00.00 ПКТИ     н.з. 1256/3  
  фиксаторы пространственные   металлич.   ПФ-1       по потребности  
  фиксаторы пластмассовые   пластмас.           по потребности  
  кусачки             на бригаду  
  4-х ветвевой строп 2-х ветвевой строп       см. схему строповки   1 2   на один кран на один кран  
  комплект электросварщика             на каждого эл. сварщика  
  сварочный трансформатор       ТС-300     ГОСТ 95-77Е  
  крючки вязальные               по потребности  

 

ТАБЛИЦА ПРЕДЕЛЬНЫХ ОТКЛОНЕНИЙ

 

       
N п/п   Параметр   Предельные отклонения, мм   Контроль, метод, объем, вид регистрации  
  Отклонение от проектной толщины защитного слоя бетона не должно превышать:   при толщине защитного слоя 15 мм и линейных          
    размерах поперечного сечения конструкции, мм:          
    до 100   +4      
    от 101 до 200   +5      
  При толщине защитного слоя от 16 до 20 мм включ. и линейных размерах поперечного сечения, мм:       технический осмотр всех элементов, журнал работ  
    до 100   +4,-3      
    от 101 до 200   +8,-3      
    от 201 до 300   +10,-3      
    св.300   +15,-5      
  При толщине защитного слоя от 16 до 20 мм включ. и линейных размерах поперечного сечения конструкции, мм:          
    до 100   +4,-5      
    от 101 до 200   +8,-5      
    от 201 до 300   +10,-5      
    св. 300   +15,-5      

 

 

ФРАГМЕНТ ПЛАНА (подача арматуры к рабочему месту)

 

 

 

ФРАГМЕНТ ПЛАНА (схема организации рабочего места)

 

ВНИМАНИЕ!

 

При ведении монтажных работ на участках, не имеющих надежных ограждений, рабочие обязательно должны крепиться страховочным поясом с удлинителем во избежание падения с высоты. Места крепления указывает мастер (прораб).

 

 

 

СХЕМА УСТРОЙСТВА ОГРАЖДЕНИЯ ПЕРЕКРЫТИЯ

 

ПРИМЕЧАНИЕ:

 

Доски ограждения должны стыковаться по периметру без зазора. Верхняя доска (поручень) должна быть строганной.

 

 

 

УСЛОВНЫЕ ОБОЗНАЧЕНИЯ

 

   
  - местоположение стропальщика (монтажника) в момент строповки и расстроповки груза  
  - местоположение стропальщика (монтажника) в момент перемещения груза  
  - направление подачи груза  
  - граница опасной зоны  
  - стрела крана  
  - рабочее место арматурщика  
  - площадка монтажника  

 

УСТАНОВКА И КРЕПЛЕНИЕ ПЛОСКИХ ВЕРТИКАЛЬНЫХ АРМАТУРНЫХ КАРКАСОВ

Арматурщик берет арматурный каркас и устанавливает его на место, совмещая выпуски верт



<== предыдущая | следующая ==>
Последние цветы | Введение. Жилой помещение назначение





Date: 2015-07-11; view: 3452; Нарушение авторских прав



mydocx.ru - 2015-2026 year. (0.911 sec.) Все материалы представленные на сайте исключительно с целью ознакомления читателями и не преследуют коммерческих целей или нарушение авторских прав - Пожаловаться на публикацию