Главная Случайная страница


Полезное:

Как сделать разговор полезным и приятным Как сделать объемную звезду своими руками Как сделать то, что делать не хочется? Как сделать погремушку Как сделать так чтобы женщины сами знакомились с вами Как сделать идею коммерческой Как сделать хорошую растяжку ног? Как сделать наш разум здоровым? Как сделать, чтобы люди обманывали меньше Вопрос 4. Как сделать так, чтобы вас уважали и ценили? Как сделать лучше себе и другим людям Как сделать свидание интересным?


Категории:

АрхитектураАстрономияБиологияГеографияГеологияИнформатикаИскусствоИсторияКулинарияКультураМаркетингМатематикаМедицинаМенеджментОхрана трудаПравоПроизводствоПсихологияРелигияСоциологияСпортТехникаФизикаФилософияХимияЭкологияЭкономикаЭлектроника






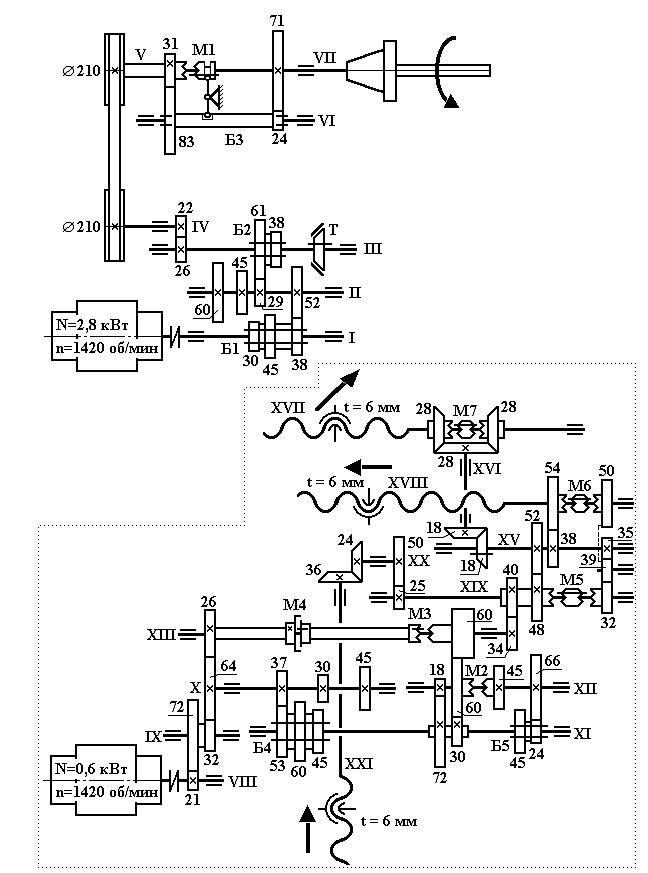
Ланцюг головного руху (обертання шпинделя)





Рівняння кінематичного балансу ланцюга в загальному вигляді:

 

, де – частота обертання шпинделя, об/хв; – частота обертання валу електродвигуна, об/хв. Рівняння кінематичного балансу ланцюга в розгорнутому вигляді: Кількість швидкостей обертання шпинделя Максимальні та мінімальні числа обертання шпинделя:

 

 

 

Рисунок 1.1 – Кінематична схема горизонтально- фрезерного верстата моделі 6М80Г (в пунктирний контур укладений ланцюг руху подач) Ланцюг руху подач. Рівняння кінематичного балансу ланцюга в загальному вигляді: де – хвилинна подача столу верстата, мм/хв;nе – частота обертання валу електродвигуна приводу подач, об/хв. Рівняння кінематичного балансу ланцюга в розгорнутому вигляді: Кількість можливих подач Максимальне і мінімальне значення подач:(швидке переміщення) мм/хв.; (вертикальна подача) мм/хв. 1.4 Порядок виконання роботи

1. Вивчити графічні умовні позначення на кінематичних схемах по таблиці1.

2. Вивчити способи з'єднання деталі з валом по таблиці1.

3. Ознайомитись із гвинтовим і рейковим механізмами, що використовуються для перетворення обертального руху в прямолінійно-поступальний рух.

4. Вивчити типові механізми для ступеневої зміни частоти обертання валів по таблиці 2.

5. Закріпити поняття про зрівняння кінематичного балансу.

6. Провести аналіз кінематичної схеми верстата за вказівкою викладача, що включає написання рівнянь кінематичного балансу в загальному і розгорнутому видах для ланцюга головного руху і ланцюга подач. Визначити кількість швидкостей обертання шпинделя і кількість подач, максимальні і мінімальні їх значення.

Контрольні питання

1. Що називається кінематичною схемою верстата?

2. Які передачі найбільш часто використовуються в металорізальних верстатах?

3. Що називається передаточним відношенням?

4. Чому дорівнює передаточне відношення кінематичного ланцюга?

5. Які механізми використовуються для регулювання частоти обертання?

6. Які механізми застосовуються для зміни напрямку обертання валів?

7. Як складається рівняння кінематичного балансу ланцюга?

8. Які параметри характеризують кінематичну схему металорізального верстата?

9. Для чого служить механізм перебору?

10. Характеристика і область застосування трьох форм запису рівняння кінематичного балансу.

11. Які механізми в приводах верстатів використовуються для перетворення обертального руху в зворотно-поступальний?








Date: 2015-06-11; view: 1554; Нарушение авторских прав



mydocx.ru - 2015-2026 year. (2.109 sec.) Все материалы представленные на сайте исключительно с целью ознакомления читателями и не преследуют коммерческих целей или нарушение авторских прав - Пожаловаться на публикацию