Главная Случайная страница


Полезное:

Как сделать разговор полезным и приятным Как сделать объемную звезду своими руками Как сделать то, что делать не хочется? Как сделать погремушку Как сделать так чтобы женщины сами знакомились с вами Как сделать идею коммерческой Как сделать хорошую растяжку ног? Как сделать наш разум здоровым? Как сделать, чтобы люди обманывали меньше Вопрос 4. Как сделать так, чтобы вас уважали и ценили? Как сделать лучше себе и другим людям Как сделать свидание интересным?


Категории:

АрхитектураАстрономияБиологияГеографияГеологияИнформатикаИскусствоИсторияКулинарияКультураМаркетингМатематикаМедицинаМенеджментОхрана трудаПравоПроизводствоПсихологияРелигияСоциологияСпортТехникаФизикаФилософияХимияЭкологияЭкономикаЭлектроника






Технические данные системы





 

Технические показатели автомобилей, работающих как на газовом, так и на дизельном топливе, почти совпадают, отличаясь не более чем на 15 %.

Масса АГТС (без баллонов) – не более 20 кг.

Объем КПГ при заправке – 300/80 (шесть баллонов по 50 л), л/м3.

Контрольный расход топлива – 20 м3/100 км.

Топливо, используемое для работы – компримированный природный газ (ГОСТ 27577‑87).

Давление газа на выходе из редуктора высокого давления – 0,55–0,6 МПа.

Давление газа в первой ступени редуктора‑подогревателя 0,052–0,055 МПа.

Интервал температур при эксплуатации – от –40 до +45 °C.

Напряжение питания – 12 В.

 

 

Устройство системы АГТС «САГА‑7Б»

 

Рассмотрим устройство и принцип работы оборудования этой системы, принципиальная схема которой представлена на рис. 27, схема системы зажигания на рис. 28, а электрическая схема – на рис. 29.

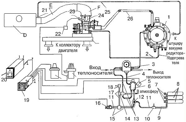
Рис. 27. Принципиальная схема работы АГТС «САГА‑7Б»: 1 – редуктор‑испаритель низкого давления; 2 – вакуумный шланг; 3 – редуктор высокого давления; 4, 11 – трубопроводы высокого давления; 5 – датчик высокого давления с манометром; 6 – газовый электромагнитный клапан высокого давления; 7 – баллонные вентили; 8 – газовые баллоны; 9, 15 – гофрированные шланги; 10, 18 – датчики утечки газа (Б – багажник, К – капот); 12 – магистральный вентиль; 13, 17 – дренажные шланги; 14 – штуцер с пятью выходами; 16 – заправочное устройство; 19 – переключатель вида топлива с указателем давления газа; 20 – сигнализатор утечки газа (клемма Б и соответствующая сигнальная лампа – утечка в багажнике, клемма К и соответствующая сигнальная лампа – утечка под капотом); 21 – штуцер вакуумного канала; 22 – электронный блок ограничителя частоты вращения; 23 – электромагнитный клапан ограничения частоты вращения; 24 – смеситель газа с дроссельной заслонкой; 25 – вакуумный шланг; 26 – шланг низкого давления; А – впускной трубопровод; D – воздушный фильтр; E – патрубок подачи воздуха; F – подводящий уголок; B – катушка зажигания; C – датчик‑распределитель зажигания.

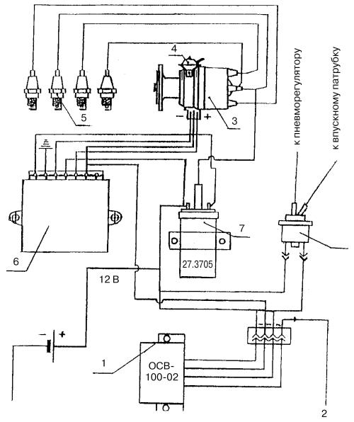
Рис. 28. Схема системы зажигания: 1 – электронный блок системы ограничения частоты вращения; 2 – клапан; 3 – датчик‑распределитель; 4 – вакуумный регулятор; 5 – свечи зажигания; 6 –одноканальный коммутатор; 7 – катушка зажигания.

Рис. 29. Электрическая схема «АГТС САГА‑7Б».

 

Система обеспечивает дозированную подачу газа в двигатель во всех режимах работы.

Компримированный природный газ хранится на автомобиле в баллонах (8) (см. рис. 27) высокого давления. Металлический корпус баллона покрыт армирующим слоем из стеклопластика, что повышает его прочность и снижает массу за счет уменьшения толщины стенок. На внутреннюю поверхность баллона нанесено покрытие для защиты от коррозии. В каждый баллон ввернут вентиль (7). Вентили баллонов соединены трубопроводом высокого давления (11). Отрезок трубопровода, проходящий под рамой автомобиля, соединяет все вентили баллонов с магистральным вентилем (12). Аналогичными трубопроводами баллоны соединены с газовым электромагнитным клапаном высокого давления (6), редуктором высокого давления (3) и редуктором‑испарителем (1) низкого давления. Газовый электромагнитный клапан, редуктор высокого давления и редуктор‑испаритель низкого давления размещены в отсеке двигателя. Вентиль подачи газа (12) и заправочное устройство (16) расположены с левой стороны автомобиля за кабиной водителя.

Трубопровод высокого давления между баллонами и магистральным клапаном заключен в гофрированный шланг (9), в котором установлен датчик (10) утечки газа из баллонов. В гофрированном шланге (15), внутри которого проходит трубопровод, соединяющий заправочное устройство с магистральным вентилем, помещен переходник для подключения датчика (18) утечки газа в подкапотном пространстве.

Газовый электромагнитный клапан (6) соединен с редуктором высокого давления (3) трубопроводом высокого давления (4). Редуктор высокого давления присоединен к редуктору‑испарителю низкого давления (1) трубопроводом высокого давления. Рукав (26) низкого давления связывает редуктор‑испаритель со смесителем газа (24).

Для установки смесителя СГ‑250 необходимо изготовить новый впускной трубопровод. Его изготавливают из стальной прямоугольной трубы. Он имеет два фланца для крепления к впускному трубопроводу головки блока цилиндров, а также фланец для монтажа смесителя газа.


Датчики утечки газа (10) и (18) подключены к блоку индикации утечки (20), установленному на панели приборов кабины. В случае утечки газа, в зависимости от места утечки, на лицевой панели индикатора загораются красные мигающие светодиоды под надписями «Баллон» или «Капот», и подается прерывистый звуковой сигнал, оповещающий водителя об утечке газа.

Манометр‑датчик (5), рассчитанный на давление газа 25 МПа, соединен с индикаторным указателем давления газа, смонтированным в переключателе вида топлива (19), который установлен в кабине на панели приборов.

В корпусе заправочного устройства (16) установлен датчик блокировки пуска двигателя, который соединен с коммутатором переключателя вида топлива. При вынутой заглушке заправочного устройства пуск двигателя невозможен.

Газовый электромагнитный клапан (6) посредством штуцера (14) с пятью выходами соединен с датчиком утечки газа (18) через дренажные шланги (17) и (13). В случае утечки из‑под основных уплотнений газового клапана газ по дренажному шлангу выводится за пределы отсека двигателя.

По шлангу (2) к редуктору‑испарителю (1) из дроссельного пространства передается управляющее разрежение.

При разработке системы «САГА‑7Б» для автомобиля ЗИЛ‑5301 и его модификаций предприняты все меры, обеспечивающие герметичность системы на весь срок эксплуатации. В газовой магистрали применены трубопроводы, изготовленные из нержавеющей стали, с заводской развальцовкой концов. Гайки и ниппели «авиационной» конструкции выдерживают многократный демонтаж и сборку.

Если повреждена диафрагма первой ступени редуктора‑испарителя, газ не попадет в отсек двигателя. Поступление газа в систему охлаждения двигателя также исключено. Если возникает утечка газа в каком‑либо соединении, газ не попадает в подкапотное пространство, а отводится наружу по дренажным шлангам (13) и (17). Когда утечка происходит в магистральном вентиле (12), электромагнитном клапане (6) или редукторе высокого давления (3), газ проходит через датчик утечки (18), и на блоке индикации утечки (20) загорается светодиод под надписью «Капот». B случае утечки в соединениях баллонных вентилей (7) и в трубопроводе высокого давления (11) газ пройдет через датчик (10) и загорится светодиод под надписью «Баллон». В обоих случаях прозвучит прерывистый предупреждающий звуковой сигнал.

В дизельной системе питания задействованы следующие штатные элементы: воздушный фильтр (D), выпускной трубопровод (Е), подводящий угловой патрубок (F). Дополнительно устанавливаются: катушка зажигания (В), датчик‑распределитель зажигания (С), а также электронный блок, ограничителя частоты вращения (22), электромагнитный клапан ограничения частоты вращения (23), штуцер вакуума (21) и вакуумный шланг (25).

При работе газобаллонной установки газ из баллонов (8) через вентиль (7) по трубопроводу (11) и магистральному вентилю (12) поступает в газовый электромагнитный клапан (6) с фильтром. Здесь газ очищается от механических примесей и поступает в редуктор высокого давления (3), прогретый теплоносителем системы охлаждения двигателя. В редукторе (3) давление газа понижается до величины, необходимой для нормальной работы редуктора‑испарителя (1). Далее установка работает по той же схеме, что и системы для сжиженного нефтяного газа.

 







Date: 2015-07-17; view: 521; Нарушение авторских прав



mydocx.ru - 2015-2026 year. (2.798 sec.) Все материалы представленные на сайте исключительно с целью ознакомления читателями и не преследуют коммерческих целей или нарушение авторских прав - Пожаловаться на публикацию