Главная Случайная страница


Полезное:

Как сделать разговор полезным и приятным Как сделать объемную звезду своими руками Как сделать то, что делать не хочется? Как сделать погремушку Как сделать так чтобы женщины сами знакомились с вами Как сделать идею коммерческой Как сделать хорошую растяжку ног? Как сделать наш разум здоровым? Как сделать, чтобы люди обманывали меньше Вопрос 4. Как сделать так, чтобы вас уважали и ценили? Как сделать лучше себе и другим людям Как сделать свидание интересным?


Категории:

АрхитектураАстрономияБиологияГеографияГеологияИнформатикаИскусствоИсторияКулинарияКультураМаркетингМатематикаМедицинаМенеджментОхрана трудаПравоПроизводствоПсихологияРелигияСоциологияСпортТехникаФизикаФилософияХимияЭкологияЭкономикаЭлектроника






Конструктивное решение





 

Фонарями называют остекленные или частично остекленные надстройки на покрытии здания, предназначенные для верхнего освещения производственных площадей, удаленных от оконных световых проемов, а также для необходимого воздухообмена в помещениях.

По назначению фонари подразделяют на световые, аэрационные и комбинированные (светоаэрационные).

По профилю сечения фонари бывают (рис.16.9) прямоугольные, трапециевидные, треугольные, М-образные, шедовые и зенитные.

 

 

Рис.16.9 – Основные профили световых и комбинированных фонарей:

а - прямоугольный; б,в - трапециевидный; г - треугольный, д – М-подобный;

е - шедовый; ж-к - зенитные

 

Потребность устройства фонарей обосновывают путем тщательного технико-экономического сравнения и с учетом технологических и санитарно-гигиенических требований, а также природно-климатических условий района строительства. Так, для защиты помещений от попадания прямых солнечных лучей следует применять шедовые фонари с остеклением, обращенным на север. Комбинированные фонари для многопролетных зданий надо устраивать преимущественно одинаковой высоты во всех пролетах. В неотапливаемых зданиях с наружным водоотведением не рекомендуется применять М-образные фонари.

Обычно фонари располагают вдоль здания, они не доходят до торцов наружных стен на 6 или 12 м.

В световых фонарях предусматривают разрывы по длине не реже чем через 84 м и шириной не менее 6 м. Если нет возможности сделать такой разрыв, фонари оборудуют переходными пожарными лестницами.

Отвод воды из фонарей проектируют наружный и внутренний. Наружный водоотвод устраивают при ширине фонаря до 12 м в случае вертикального остекления и до 6 м – при наклонном.

Если водоотвод наружный, то в соответствующих местах надо защитить покрытие от повреждения стекающей с фонаря водой гравийной засыпкой по мастике или специальными бетонными плитами.

Фонари (кроме зенитных) изготовляют из стали. Железобетон применяют редко.

Несущий каркас фонаря состоит из поперечных конструкций (ферм) и боковых панелей. Для повышения поперечной жесткости в контур фонаря вводят раскосы и устанавливают связи между рамами фонаря (рис.16.10).

Рамы применяют в основном стальные высотой 1250, 1500 и 1750 мм при шаге 6000 мм, которые по длине фонаря образуют ленточное остекление. В большинстве случаев фонарные переплеты оборудуют устройствами для механического открывания всей ленты переплетов или отдельных блоков.

Переплеты должны отворяться до 70°. При наклонных переплетах целесообразно применять армированное листовое стекло, которое устанавливают на месте. Крепят его специальными кляммерами (рис.16.11).

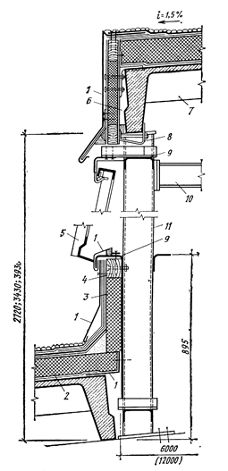
Учитывая, что рамные фонари имеют сложное строение, требуют больших эксплуатационных затрат, а здания много теряют тепла, такие фонари не всегда обеспечивают нужную освещенность вследствие загрязнения стекол или больших снеговых отложений в межферменных зонах. Разработаны эффективные конструкции зенитных фонарей (рис.16.12), представляющие собой конструкцию для светопропускания в покрытии.

 

 

Рис.16.10 – Конструкции стального фонаря:

а - фонарная панель; б - фонарные фермы; в - панели торцов; г - фонарный переплет;

1 - ось узла стропильной фермы; 2 - фонарная панель; 3 - монорельс; 4 - резиновый профиль; 5 - металлический профиль; 6 - кляммер

 

Рис.16.11 – Деталь прямоугольного фонаря:

1 - кровельная оцинкованная сталь; 2 - слой теплоизоляции; 3 - бортовой элемент;

4 - деревянные бруски; 5 - переплет; 6 - асбестоцементная карнизная панель;

7 - железобетонная плита; 8 - крепежный анкер; 9 -швеллер; 10 - фонарная ферма;

11 - фонарная панель

 

 

 

Рис.16.12 – Конструкции зенитного фонаря с куполом из стеклопластика:

а - продольный разрез; б - деталь опорного узла; 1 - купола; 2 - плита покрытия; 3 - керамзитобетонная плита; 4 - обрамляющая металлическая рама; 5 - резиновая прокладка; 6 - болты крепления; 7 - опорная рама; 8 - фартук из оцинкованной стали;

9 - утеплитель

 

Светопрозрачные конструкции, которые делают из пластмасс, индустриальные в изготовлении, имеют незначительную массу, высокую прочность, простоту монтажа и удобство эксплуатации.

Зенитные фонари бывают точечные (их устанавливают отдельно по площади покрытия) и секционного типа. Секции к несущим элементам прикрепляют шурупами. Купола зенитных фонарей имеют размеры 1400х1600 мм, а панели с органического стекла - 1600х6200 мм.


Учитывая, что поступление и удаление воздуха при аэрации происходит вследствие разности давлений по одну и вторую стороны приточных и вытяжных отверстий, проектируют аэрационные фонари (рис.16.13). Для обеспечения одновременной работы вытяжных отверстий с обеих сторон фонаря применяют так называемые незадуваемые аэрационные фонари с вертикальным остеклением. Устанавливают также специальные ветрозащитные панели (щиты) на некотором расстоянии от фонаря.

Незадуваемые аэрационные фонари работают на вытяжку при любом направлении ветра, так как с подветренной стороны создается разрежение воздуха благодаря срыву струй ветра с ветрозащитных панелей. Высота проемов фонарей 1,25; 1,75; 2,4 и 3,4 м.

Для аэрации можно использовать зенитные фонари, в которых колпаки устраивают открывающимися или в стаканной части предусматривают щели с регулируемыми жалюзи.

 

 

Рис.16.13 – Типы аэрационных фонарей:

а - световой фонарь с ветрозащитными панелями; б - фонарь КТИС; в - фонарь ПСК-2;

г - фонарь Гипромеза; д - фонарь Батурина

 

 

Контрольные вопросы

1. Ограждающая часть покрытия промышленного здания и его основные слои.

2. Особенности устройства утепленных и холодных покрытий.

3. Устройство покрытий из крупносборных элементов и по прогонам.

4. Кровли промышленных зданий.

5. Виды организации водоотвод из покрытий.

6. Основные виды фонарей промышленных зданий, особенности их устройства.

 







Date: 2015-06-11; view: 961; Нарушение авторских прав



mydocx.ru - 2015-2026 year. (1.583 sec.) Все материалы представленные на сайте исключительно с целью ознакомления читателями и не преследуют коммерческих целей или нарушение авторских прав - Пожаловаться на публикацию