Главная Случайная страница


Полезное:

Как сделать разговор полезным и приятным Как сделать объемную звезду своими руками Как сделать то, что делать не хочется? Как сделать погремушку Как сделать так чтобы женщины сами знакомились с вами Как сделать идею коммерческой Как сделать хорошую растяжку ног? Как сделать наш разум здоровым? Как сделать, чтобы люди обманывали меньше Вопрос 4. Как сделать так, чтобы вас уважали и ценили? Как сделать лучше себе и другим людям Как сделать свидание интересным?


Категории:

АрхитектураАстрономияБиологияГеографияГеологияИнформатикаИскусствоИсторияКулинарияКультураМаркетингМатематикаМедицинаМенеджментОхрана трудаПравоПроизводствоПсихологияРелигияСоциологияСпортТехникаФизикаФилософияХимияЭкологияЭкономикаЭлектроника






Оборудование для процесса электроосаждение цинка





Для электроосаждение цинка применяется полимербетонная ванна, армированная стеклопластиковыми прутками. Бетонный раствор готовится из кислотостойких инертных материалов. В качестве связующего применя­ется фурановая смола (4ФА). Внутренние размеры ванны из полимербетона: длина 2400 мм, ширина 950 мм, глу­бина 1475 мм; наружные размеры: длина 2600 мм, ширина 1130 мм, высота 1650 мм. Общая емкость ванн со­ставляет 2,7 м3, полезная емкость 2,6 м3.

Ванны распологают в цехе по схеме, в которой ванны сргуппированны по 20 шт в ряды (рисунок 9). Между ваннами имеются проходы для обслуживания.

Рисунок 9 – Схема компоновки и ошиновки ванн

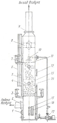
При электролизе раствора сульфата цинка с нераст­воримыми анодами в ванне выделяется значительное ко­личество тепла. Так, при катодной плотности тока 600 А/м2 и осаждении из 1 л раствора 100 г цинка в ре­зультате выделения тепла температура электролита в ванне повышается до 70° С. А так как, для получения наилучших показателей выхода цин­ка по току оптимальным является диапазон температур 36-38° С. Для охлаждения электролита применяется турбулентный контактный абсорбер изображенный на рисунке 10. Абсорбер имеет три решет­ки, на которые уложены шары. Сверху на шаровую на­садку подают охлажденный раствор, снизу вентилято­ром вдувают воздух. При прохождении воздуха через шаровую насадку она приходит в движение, напо­минающее кипящий слой. Благодаря этому обеспе­чиваются хороший контакт раствора с охлаждаю­щим воздухом и высокая удельная производитель­ность аппарата.

Рисунок 10 – Турбулентный контактный абсорбер (ТКА) электролита:

1 – люк; 2 – входное отверстие; 3 – первая площадка; 4 – шары из пластмассы; 5 – лестница; 6 – лест­ничная клетка; 7 – вторая площад­ка; 8 – каплеуловитель; 9 – выход­ное отверстие; 10 – форсунка для электролита; 11 – решетка; 12 – люк: 13 – смотровое окно; 14 – кор­пус; 15 – индикатор уровня жидко­сти; 16 – манометр; 17 – насос.

Температура нейтрального раствора на входе в охла­дитель составляет 45-55° С, отработанного электроли­та 38° С, смеси растворов, поступающих на электролиз 33° С.

Для отсоединения катодного цинка от катодов применяется ручная сдирка цинка, которая ведется в дневную смену. Про­цесс ручной сдирки состоит из операции снятия цинко­вого осадка с катодов и обслуживания ванн и электро­дов в период сдирки. Обе операции выполняют наиболее квалифицированные рабочие - катодчики. Ежедневно из каждой электролизной ванны вручную, пневматическим подъемником вынимается не­сколько катодов (от 3 до 7) с наращенным на них осад­ком цинка. Чем больше число одновременно поднятых за один прием катодов, тем более значительные по­тери электроэнергии при системе непосредственного контакта анод - катод, так как в это время на като­дах в соседних ваннах происходит обратное растворе­ние цинка.

С поднятых катодов стекает электролит и затем снимается цинковый осадок на свободной пло­щадке цеха электролиза. Сдирка цинка производит с обеих сторон катода вручную с помощью специального ножа, при этом предварительно отгибается резиновая бор­товая планка. Содранный с катодов цинк укладывается на тележки и доставляется электрокарами в плавильное отде­ление, а алюминиевые катоды устанавливают на свое место в ванне [4].

 

 







Date: 2015-07-17; view: 1279; Нарушение авторских прав



mydocx.ru - 2015-2026 year. (0.347 sec.) Все материалы представленные на сайте исключительно с целью ознакомления читателями и не преследуют коммерческих целей или нарушение авторских прав - Пожаловаться на публикацию