Главная Случайная страница


Полезное:

Как сделать разговор полезным и приятным Как сделать объемную звезду своими руками Как сделать то, что делать не хочется? Как сделать погремушку Как сделать так чтобы женщины сами знакомились с вами Как сделать идею коммерческой Как сделать хорошую растяжку ног? Как сделать наш разум здоровым? Как сделать, чтобы люди обманывали меньше Вопрос 4. Как сделать так, чтобы вас уважали и ценили? Как сделать лучше себе и другим людям Как сделать свидание интересным?


Категории:

АрхитектураАстрономияБиологияГеографияГеологияИнформатикаИскусствоИсторияКулинарияКультураМаркетингМатематикаМедицинаМенеджментОхрана трудаПравоПроизводствоПсихологияРелигияСоциологияСпортТехникаФизикаФилософияХимияЭкологияЭкономикаЭлектроника






Преобразовательные установки и подстанции





 

В отличие от цеховых подстанций, на которых трансформируется энергия переменного тока напряжением выше 1 кВ на напряжение до 1 кВ с той же частотой 50 Гц, преобразовательные установки и подстанции предприятий преобразуют электрическую энергию с одними значениями параметров и (или) показателей качества в электрическую энергию с другими значениями параметров и (или) показателей каче­ства, например трехфазный ток частотой 50 Гц - в трех- или однофаз­ный ток повышенной или пониженной частоты, а также в постоянный.

Для получения постоянного тока из переменного используются кремниевые выпрямительные агрегаты. Они применяются для питания электролизных установок цветной металлургии и химической про­мышленности, цеховых сетей постоянного тока, от которых питаются электроприводы, не требующие регулирования подводимого к ним напряжения, и др. (табл. 5.2). Агрегаты состоят из трансформатора, выпрямительных блоков и другого, как правило, комплектного обо­рудования. Трансформаторы преобразовательных агрегатов питаются от 4УР (иногда и от 5УР) системы электроснабжения на переменном токе напряжением 6, 10 или 35 кВ.

Напряжение постоянного тока для внутрицеховых электроприемни­ков общепромышленного назначения, включая краны, принимается равным 220 и реже 440 В. Для завода (цеха) целесообразно иметь одно основное напряжение постоянного тока, что облегчает рабочее проекти­рование, заказ и изготовление электрооборудования, улучшает усло-

 

вия эксплуатации и облегчает электроремонт. Обследование ряда круп­ных заводов показало, что даже на одном заводе используются напря­жения постоянного тока: 110, 150, 275, 300, 325, 400, 440, 450, 525, 600, 660, 700, 750, 775, 825 В. Часть напряжений появляется по усло­виям управления электроприводом, и обычно такие преобразовательные подстанции и управление ими проектируются специалистами электро­привода, оставляя за электроснабжением вопросы питания.

Для преобразовательных агрегатов применяются: трехфазная нуле­вая схема, шестифазная нулевая схема с уравнительным реактором и трехфазная мостовая схема преобразования. Преобразовательные агрегаты малой мощности имеют трехфазную нулевую схему.

При шестифазной нулевой схеме (рис. 5.3, а) первичная обмотка питающего преобразователь трансформатора соединяется в звезду или треугольник, а вторичная — в две обратные звезды, нулевые точки ко­торых соединены через уравнительный реактор. Средняя точка урав­нительного реактора является отрицательным полюсом выпрямлен­ного тока.

При трехфазной мостовой схеме (рис. 5.3, б) первичная и вторич­ная обмотки преобразовательного трансформатора могут соединяться в звезду и в треугольник. Каждая фаза вторичной обмотки через вен­тили соединяется с положительным и отрицательным полюсами цепи постоянного тока. Каждый вентиль проводит ток в течение одной трети периода.

При трехфазной нулевой схеме вторичная обмотка трансформатора соединяется в звезду с выведенной нулевой точкой или в зигзаг с вы­веденной нулевой точкой. В первом случае первичная обмотка должна соединяться в треугольник, во втором — в звезду.

В настоящее время для полупроводниковых агрегатов с выпрямлен­ным напряжением 330 В и выше, как правило, применяется трехфаз­ная мостовая схема, а при меньших напряжениях — нулевая схема. Для агрегатов большой мощности с целью создания двенадцатифазного режима выпрямления трансформаторы выполняют с одной первичной

 

 

двумя или четырьмя вторичными обмотками. Одну половину вторичных обмоток соединяют в звезду, а вторую - в треугольник.

Для электролизных установок цветной металлургии и химической промышленности в основном применяются кремниевые выпрямительные агрегаты с номинальными выпрямленными токами 12,5 и 25 к А (табл. 5.2). Значения КПД и коэффициента мощности не учитывают потерь в ошиновке агрегата и реактивного сопротивления питающей сети. Предполагается, что дроссели насыщения, если они применяются, находятся в насыщенном состоянии — угол регулирования равен нулю. Каждый агрегат состоит из трансформатора, одного, двух или четырех выпрямительных блоков и другого комплектующего оборудования.

При выпрямленных напряжениях 75 и 150 В применяется нулевая схема выпрямления с соединением вторичных обмоток трансформато­ра по схеме две обратные звезды с уравнительным реактором. При выпрямленных напряжениях 300, 450, 600 и 850 В применяется трех­фазная мостовая схема выпрямления.

Выпрямительные блоки при нулевой схеме выполняются на номи­нальный ток 12,5 кА, а при трехфазной мостовой схеме — 6,25 кА. Каж­дое плечо трехфазного выпрямительного моста на ток 6,25 кА и каж­дая фаза выпрямителя на 12,5 кА при нулевой схеме имеет 19 или 20 параллельно включенных кремниевых вентилей соответствующего класса на номинальный ток 200 А. По следовательно с каждым вентилем включен быстродействующий предохранитель.


Трансформаторы выпрямительных агрегатов имеют переключающее устройство для регулирования напряжения под нагрузкой. Конструк­ция устройства РПН позволяет осуществлять ручное, дистанционное и автоматическое регулирование вторичного (выпрямленного) напря­жения. Поскольку РПН осуществляет ступенчатое регулирование на­пряжения, агрегаты могут укомплектовываться дросселями насыщения. При наличии дросселей насыщения агрегаты обычно снабжаются устрой­ством для автоматической стабилизации тока.

Для электролизных установок выпускаются также мощные кремние­вые выпрямительные агрегаты на 50 кА, 450 и 300 В и 63 кА на 850 В. Особенностью этих агрегатов является их совмещенная конструкция — выпрямительные блоки в них расположены в одной камере с трансфор­матором. Такая конструкция при большой единичной мощности агрегатов позволяет значительно уменьшить габариты преобразовательных подстанций и трудоемкость их монтажа. Большие выпрямительные то­ки требуют принудительного охлаждения вентилей в процессе работы, которое может быть воздушным, водяным и масляным.

Питание дуговых вакуумных и графитизировочных электропечей также осуществляется выпрямленным током Применение для вакуум­ных печей постоянного тока вместо переменного позволяет обеспечить более устойчивое горение дуги, высокий коэффициент мощности и равномерную нагрузку на питающую сеть (при двухэлектродной кон-

 

струкции электропечи). Выпрямительные блоки в агрегатах дуговых вакуумных и графитизировочных электропечей аналогичны выпрями­тельным блокам агрегатов для электролизных установок.

В установках для электрохимической обработки металлов (обез­жиривание, травление, электрополировка, размерная обработка) и на­несения различных гальванических покрытий (меднение, хромирова­ние, никелирование, цинкование и др.) используют кремниевые выпрямительные агрегаты с низкими номинальными выпрямленными напряжениями (см. табл. 5.2). Технологический процесс таких устано­вок требует регулирования выпрямленного тока в широких пределах, что достигается путем регулирования выпрямленного напряжения. В связи с этим агрегаты выполняются на тиристорах, что позволяет получить широкий диапазон изменения выпрямленного напряжения и тока в автоматическом и ручном режимах.

Схемы и конструкции преобразовательных подстанций определя­ются распределительным устройством переменного тока, преобразова­тельными агрегатами РУ выпрямленного тока. Преобразовательные подстанции часто совмещаются с распределительными пунктами 6 — 10 кВ промышленных предприятий и по схемам не отличаются от подстанций 4УР. В этом случае от РУ переменного тока наряду с пре­образовательными агрегатами получают питание и другие цеховые по­требители электроэнергии.

Преобразовательные подстанции электролизных установок по про­изводству алюминия, магния и хлора построены обычно по схеме парал­лельного включения выпрямительных агрегатов (из-за необходимости больших значений выпрямленного тока). Для других производств с электролизерами, требующими меньшего тока, характерно примене­ние одиночных выпрямительных агрегатов на каждый электролизер.


Схемы питания преобразовательных подстанций строятся в зависи­мости от числа параллельно работающих преобразовательных агрегатов и требований надежности электроснабжения. При небольшом количе­стве преобразовательных агрегатов (два — четыре) РУ переменного то­ка преобразовательной подстанции обычно имеет одиночную секцио­нированную систему шин 6—35 кВ. При большом числе преобразова­тельных агрегатов и наличии потребителей I категории (на стороне по­стоянного тока) применяют РУ с двойной системой шин.

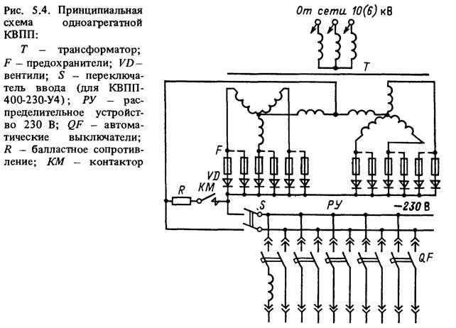
На промышленных предприятиях для питания цеховых сетей посто­янного тока напряжением 230 В широко применяются комплектные выпрямительные полупроводниковые подстанции КВПП. Это подстан­ции, состоящие из силового трансформатора с кабельным вводом, вы­прямительного шкафа, шкафа управления, защиты и сигнализации, РУ постоянного тока. Схема подстанции приведена на рис. 5.4. Это шестифазная нулевая схема, при которой первичная обмотка транс­форматора преобразователя соединена в звезду, а вторичная (вен­тильная) — в две обратные звезды, нулевые точки которых соединены

 

 

 

через уравнительный реактор. Средняя точка уравнительного реактора является отрицательным полюсом выпрямленного тока.

Для снижения выпрямленного напряжения при холостом ходе под­станции в шкафу управления установлено балластное сопротивле­ние R, которое включается при отсутствии нагрузки и автоматически выключается контактором КМ при токе нагрузки, превышающем 1% номинального.

Конструкция КВПП допускает их открытую установку (без дополни­тельных ограждений) в помещениях с нормальной средой. РУ посто­янного тока состоит из стандартных шкафов с двусторонним обслужи­ванием. Охлаждение выпрямительных шкафов — воздушное принуди­тельное с помощью вентиляторов, установленных на шкафах. Конструк­ция РУ постоянного тока позволяет осуществлять вывод из шкафов РУ кабелем и шинами (шинопроводом типа ШМАД).

В настоящее время выпускается серия КВПП на ток 1000, 2500, 4000 и 6300 А и напряжение 230 В со стабилизацией и без стабилизации выходного напряжения, коэффициент полезного действия равен 96%, коэффициент мощности 0,925.

 

 

Вопросы для самопроверки

 

1. Укажите варианты присоединения цеховых подстанций третьего
уровня системы электроснабжения с высокой стороны и возможные
схемы на низкой стороне.

2. Каковы особенности выбора трансформаторов цеховых подстан­ций?

3. Назовите факторы, на основе которых производится оптимизация
мощности трансформаторов и цеховых сетей.

4. Приведите варианты размещения ТП (КТП), щитов низкого напря­жения и ЩСУ.

5. Укажите область и величины применяемых напряжений постоян­ного тока в заводских сетях.

6. Изобразите схемы и конструктивные исполнения преобразователь­ных установок и подстанций.

 

 

ГЛАВА ШЕСТАЯ

 

КАНАЛИЗАЦИЯ ЭЛЕКТРИЧЕСКОЙ ЭНЕРГИИ

 







Date: 2015-06-11; view: 2462; Нарушение авторских прав



mydocx.ru - 2015-2026 year. (0.375 sec.) Все материалы представленные на сайте исключительно с целью ознакомления читателями и не преследуют коммерческих целей или нарушение авторских прав - Пожаловаться на публикацию