Главная Случайная страница


Полезное:

Как сделать разговор полезным и приятным Как сделать объемную звезду своими руками Как сделать то, что делать не хочется? Как сделать погремушку Как сделать так чтобы женщины сами знакомились с вами Как сделать идею коммерческой Как сделать хорошую растяжку ног? Как сделать наш разум здоровым? Как сделать, чтобы люди обманывали меньше Вопрос 4. Как сделать так, чтобы вас уважали и ценили? Как сделать лучше себе и другим людям Как сделать свидание интересным?


Категории:

АрхитектураАстрономияБиологияГеографияГеологияИнформатикаИскусствоИсторияКулинарияКультураМаркетингМатематикаМедицинаМенеджментОхрана трудаПравоПроизводствоПсихологияРелигияСоциологияСпортТехникаФизикаФилософияХимияЭкологияЭкономикаЭлектроника






Приборы и оборудование





 

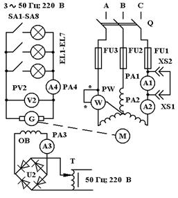
Работа выполняется на универсальном стенде, в котором смонтированы лабораторный автотрансформатор, выпрямитель, ламповая нагрузка, коммутационная аппаратура и необходимые приборы. Электрическая цепь стенда представлена на рис. 22.

Трехфазный асинхронный двигатель М расположен за стендом. В качестве нагрузки двигателя используется генератор постоянного тока независимого возбуждения G, соединенный с двигателем муфтой. Генератор нагружается ламповым реостатом EL 1 – EL 7. Регулирование тока возбуждения генератора осуществляется лабораторным автотрансформатором Т, во вторичную цепь которого включен мостовой выпрямитель .

На стенде установлены приборы переменного тока РА 1, РА 2, РW для измерения фазных величин тока , пускового тока , мощности , а также приборы постоянного тока РV 2, РА 4, РА 3 для измерения напряжения , тока и тока возбуждения генератора, причем показания амперметра РА 3 не используются.
Рис. 22

Частота вращения ротора двигателя измеряется дистанционным тахометром, не показанном на схеме. Тахометр имеет поправочный коэффициент 2/3, на которые умножаются его показания. Цена наименьшего деления тахометра составляет 20 об/мин.

 

План работы

 

1. Ознакомится с конструкцией асинхронного двигателя, записать основные технические данные двигателя и измерительных приборов.

2. Собрать электрическую цепь, установив штыревую часть разъема № 7 в гнездовую часть, расположенную на торце стенда. Установить движок автотрансформатора в нулевое положение. Замкнуть гнезда XS 1 и XS 2 амперметра РА 1 проводом.

3. Включить трехфазное напряжение на щитке.

4. Пакетным выключателем Q 1 на стенде осуществить пуск двигателя и определить величину пускового тока по амперметру РА 2.

5. Разомкнуть амперметр РА 1. Автотрансформатором плавно увеличить напряжение генератора до номинального =110 В, контролируя его по вольтметру РV 2. Снять показания приборов при отключенной ламповой нагрузке. Фазное напряжение не измеряется, так как считается постоянным =130 В.

6. Увеличивая ламповую нагрузку генератора до максимальной и поддерживая напряжение генератора постоянным, снять показания приборов (5-7 измерений). Данные измерений записать в таблицу 9.

Таблица 9

  Измеренные величины Вычисленные величины
№ п/п I, А Р, Вт n2, мин-1 UГ, В IГ, В РГ, В hГ Р2, Вт М, Нм s Р1, Вт hДВ cosj1
                           

 

7. Выключить нагрузку, уменьшить напряжение до нуля, отключить двигатель от сети.

8. по данным опыта:

а) вычислить , , , , , , ;

б) построить механическую характеристику ;

в) построить в одних осях графики рабочих характеристик , , , , , ;

г) сделать краткие выводы по результатам работы.

 

Формулы для расчета

 

Р=U*I- мощность генератора;

- мощность на валу двигателя;

- КПД генератора (определяется по кривой, приведенной на рабочем месте);

- угловая частота вращения ротора;

- вращающий момент двигателя

- КПД двигателя;

- электрическая мощность, потребляемая двигателем из сети;

- коэффициент мощности двигателя

 

Контрольные вопросы

 

1. Объясните устройство и принцип действия трехфазного асинхронного двигателя с короткозамкнутым ротором.

2. Какими достоинствами и недостатками обладает трехфазный асинхронный двигатель с короткозамкнутым ротором?

3. Дать характеристику магнитного поля асинхронного двигателя.

4. Как осуществить реверс двигателя?

5. Что такое режим идеального хода в двигателе?

6. Почему ток холостого хода асинхронного двигателя больше тока холостого хода трехфазного трансформатора такой же мощности?

7. Чему равно скольжение в номинальном, критическом, пусковом режимах и при холостом ходе?

8. Показать на механической характеристике основные режимы работы асинхронного двигателя.

9. Перечислить и объяснить основные способы регулирования частоты вращения асинхронного двигателя.

10. В чем особенности пускового режима асинхронного двигателя?

11. Перечислить и сравнить различные способы пуска асинхронного двигателя с короткозамкнутым ротором.

12. Объяснить особенности рабочих характеристик асинхронного двигателя.

13. Где используются асинхронные двигатели с короткозамкнутым ротором?

 

Библиографический список

 

1. Касаткин А.С., Немцов С.В. Электротехника. М.: Высш. шк., 2000. С. 417-460,522-524.


2. Данилов И.А., Иванов П.М. Общая электротехника с основами электроники. М.: Высш.шк., 2000. С. 199-230.

3. Иванов И.И., Равдоник В.С. Электротехника. М.: Высш.шк., 1984. С. 257-292.

4. Волынский Б.А., Зейн Е.И., Шатерников В.Е. Электротехника. М.: Энергоатомиздат, 1987. С. 382-423.

5. Общая электротехника /Под ред. А.Т.Блажкина. М.: Энергоатомиздат, 1986. С. 289-320, 330-336, 341-342.

6. Электротехника /Под ред. В.Г.Герасимова, М.: Высш.школа, 1985. С. 348-357, 387-406.

7. Борисов Ю.М., Липатов Д.Н., Зорин Ю.Н. Электротехника. М.: Энергоатомиздат, 1985. С.401-449, 455-457.

8. Рекус Г.Г., Чесноков В.Н. Лабораторные работы по электротехнике и основам электроники. М.: Высш. шк., 1989. С. 154-169.

 

Работа № 7. ИССЛЕДОВАНИЕ ДВИГАТЕЛЯ ПОСТОЯННОГО ТОКА ПАРАЛЛЕЛЬНОГО ВОЗБУЖДЕНИЯ

 

Цели работы: 1) ознакомиться с устройством и принципом действия, пуском в ход и способами регулирования частоты вращения двигателя постоянного тока параллельного возбуждения;

2) изучить основные характеристики двигателя и методику их снятия.

 

Пояснения к работе

 

Двигатель постоянного тока служит для преобразования электрической энергии постоянного тока в механическую энергию. Двигатель параллельного возбуждения, как и другие электрические машины постоянного тока, состоит из двух основных частей: неподвижной - статора и вращающейся – ротора.

Статор представляет собой стальной корпус – станину, на внутренней цилиндрической поверхности которого укреплены сердечники полюсов с полюсными наконечниками. На сердечники надеты катушки, составляющие обмотку возбуждения, подключенную к источнику постоянного тока. Обмотка возбуждения расположена на главных (основных) полюсах и создает основной магнитный поток двигателя. Кроме главных полюсов на станине могут быть дополнительные полюса, предназначенные для улучшения коммутации.

Ротор состоит из якоря и коллектора, которые крепятся на одном валу и в механическом отношении составляют одно целое. Якорь представляет собой цилиндрический сердечник, собранный из листов электротехнической стали для снижения магнитных потерь. В его пазах уложена обмотка, выполненная из отдельных секций соединенных между собой и с коллекторными пластинами.

Коллектор представляет собой цилиндр, составленный из отдельных медных пластин, изолированных друг от друга и от вала якоря. На коллектор накладываются неподвижные графитовые (медно-графитовые) щетки, посредством которых осуществляется соединение обмотки якоря с источником постоянного тока. Коллектор и щетки предназначены для изменения направления тока в проводниках обмотки якоря при их переходе из зоны магнитного полюса одной полярности (например, северного полюса) в зону полюса другой полярности – (южного полюса). Благодаря этому сохраняется неизменным направление вращения якоря.

При подключении двигателя к источнику постоянного тока в обмотках возбуждения и якоря появляются токи ( и ) В результате взаимодействия тока якоря с магнитным потоком, создаваемым обмоткой возбуждения, возникает электромагнитный момент вращения:

,

где - коэффициент, зависящий от конструктивных параметров двигателя; - ток якоря; - магнитный поток машины.


Полезный вращающий момент на валу двигателя М меньше электромагнитного момента на величину потерь холостого хода , обусловленного механическими и магнитными потерями.

.

В установившемся режиме момент вращения равен тормозному моменту

.

При вращении якоря проводники его пересекают магнитное поле и в них наводится ЭДС , где - частота вращения якоря; - величина постоянная для данной машины.

Так как ЭДС направлена против тока якоря, то ее называют противо-ЭДС.

Подведенное напряжение уравновешивает противо-ЭДС и падение напряжения в якоре

,

откуда ток якоря .

В момент включения двигателя в сеть, когда он еще не вращается, противо–ЭДС равна 0, поэтому пусковой ток может достигнуть большой величины, опасной для обмотки якоря. Для уменьшения пускового тока последовательно с якорем включается пусковой реостат , который ограничивает ток якоря при пуске двигателя .

Для изменения направления вращения двигателя необходимо изменить направление тока в обмотке якоря или в обмотке возбуждения путем переключения концов обмоток.

Частота вращения двигателя параллельного возбуждения определяется по выражению

,

из которого видно, что регулировать частоту вращения ротора можно тремя способами: изменяя подводимое напряжение, сопротивление цепи якоря или же величину магнитного потока полюсов.

Важнейшими характеристиками являются механическая и рабочие характеристики.

Рабочими характеристиками двигателя называются зависимости частоты вращения, тока якоря, момента машины и КПД от мощности на валу машины : , , , . Для полноты оценки двигателя дополнительно снимают характеристику холостого хода и регулировочную характеристику . Все эти характеристики позволяют провести анализ работы машины и дать экономическую оценку ее работе.

 

Домашнее задание

 

Изучить назначение, область применения, а также устройство и принцип действия двигателя постоянного тока параллельного возбуждения.

Изучить особенности пуска двигателя, способы регулирования частоты вращения, при этом уяснить роль противо-ЭДС и принцип саморегулирования машины.

Уяснить энергетические процессы преобразования электрической энергии в механическую энергию вращения якоря двигателя.

Провести анализ механической и рабочих характеристик двигателя.

 

 

Приборы и оборудование.

 

Работа выполняется на универсальном стенде (рис. 23). В качестве нагрузки двигателя постоянного тока М 1 используется трехфазный асинхронный двигатель М 2, работающий в режиме динамического тормоза. Чтобы асинхронный двигатель функционировал как тормоз,
Рис. 23

его статорная обмотка питается постоянным током от мостового выпрямителя, включенного во вторичную цепь автотрансформатора Т. Вращая движок автотрансформатора, устанавливают ток тормоза и, тем самым, задают необходимый тормозной момент на валу двигателя. Для измерения тока тормоза используется амперметр РА 1. Автотрансформатор включается в сеть переменного тока выключателем Q 1.


В цепь якоря исследуемого двигателя М 1 включен пусковой реостат , в цепь обмотки возбуждения - регулировочный реостат и амперметр РА 3, измеряющий ток возбуждения. Двигатель включается в сеть постоянного тока выключателем Q 2. Напряжение сети U измеряется вольтметром PV, а ток двигателя - амперметром РА 4.

Электрическая цепь стенда представлена на рис. 23. Частота вращения двигателя измеряется тахометром, не показанном на схеме. Шкала данного прибора отградуирована в об/мин (с коэффициентом 2/3).

 

План работы

 

1. Ознакомиться с конструкцией двигателя и схемой универсального стенда, записать технические данные двигателя.

2. Собрать электрическую цепь, установив штыревую часть разъема № 11 в гнездовую часть на схеме.

3. Пустить в ход двигатель, для чего:

- установить пусковой реостат в положение «стоп»;

- регулировочный реостат в цепи возбуждения полностью вывести ( min);

- включить автомат в цепи переменного тока и пакетный выключатель в цепи постоянного тока на лабораторном щите, а также пакетный выключатель Q 2 на универсальном стенде;

- постепенно выводя пусковой реостат, пустить в ход двигатель.

4. Снять характеристику холостого двигателя. Опыт производится при постоянном номинальном напряжении и отключенном выключателе переменного напряжения на универсальном стенде.

Изменяя ток возбуждения от наибольшего значения до значения, при котором частота вращения будет составлять 130% от номинальной, измерять частоту вращения электрическим тахометром (5-6 отсчетов). Полученные данные занести в табл. 10.

Таблица 10

№ п/п , А , мин-1 Примечания

5. Снять рабочие характеристики двигателя. Опыт проводится при постоянном номинальном напряжении и постоянном токе возбуждения двигателя.

Убедиться, что движок лабораторного автотрансформатора установлен на нулевом положении, включить выключатель Q 1 переменного тока на универсальном стенде.

Увеличивая с помощью автотрансформатора ток в статоре асинхронной машины от 0 до 5 А, снять показания приборов (6-7 отсчетов). Полученные результаты внести в табл. 11.

Таблица 11

№ п/п Измеренные величины Вычисленные величины
U, B IД, А Iв, А n, мин-1 IT, A IЯ, A Е, В МЭМ, Н*м М, Н*м Р1, Вт 0, Вт Я, Вт SDР, Вт РЯ, Вт h
                               

 

6. Снять регулировочную характеристику. Изменяя ток в статоре асинхронного двигателя от 0 до 5 А и поддерживая неизменной частоту вращения при U н, снять показания приборов (5-5 отсчетов). Полученные результаты внести в табл. 12.

Таблица 12

№ п/п Измеренные величины Вычисленные величины Примечание
IД, А Iв, А n, мин-1 IЯ, A
           

 

7. Вывести реостат в положение min, движок автотрансформатора установить в нулевое положение. Установить пусковой реостат в положение «стоп». Отключить пакетные выключатели на универсальном стенде и лабораторном щитке.

8. По данным таблиц 8-10 построить характеристику холостого хода , рабочие характеристики , , , , механическую и регулировочную .

9. На основании характеристик оценить свойства двигателя.

 

Формулы для расчета

 

Ток якоря двигателя , где - ток двигателя, - ток возбуждения двигателя.

Противо-ЭДС якоря двигателя , где - напряжение на двигателе, - сопротивление цепи якоря двигателя (указано на рабочем месте).

Электромагнитный момент двигателя , момент на валу , где - момент холостого хода (определяется при ).

Коэффициент полезного действия двигателя , где - электрическая мощность, потребляемая двигателем из сети; - мощность на валу (полезная мощность):

,

где - суммарная мощность потерь; сумма потерь на возбуждение, магнитных и механических потерь, которые для двигателя параллельного возбуждения принимается постоянной и определяется из опыта холостого хода

;

- мощность электрических потерь в якоре (переменные потери).

 

 

Контрольные вопросы

 

1. Объяснить устройство и принцип действия двигателя параллельного возбуждения.

2. Как классифицируются двигатели постоянного тока по способу возбуждения?

3. Как возникает электромагнитный момент двигателя?

4. Что такое реакция якоря и коммутация машины постоянного тока?

5. Объясните процесс пуска двигателя в ход.

6. Какими способами можно регулировать частоту вращения двигателя параллельного возбуждения и каковы преимущества и недостатки каждого из них?

7. Объясните процесс саморегулирования двигателя.

8. Как производится реверсирование двигателя?

9. Объясните характеристики двигателя: характеристику холостого хода , рабочие характеристики , , , , механическую и регулировочную .

10. Сделать оценку двигателя, укажите преимущества и недостатки двигателя параллельного возбуждения.

 

Библиографический список

 

1. Касаткин А.С., Немцов С.В. Электротехника. М.: Высш. шк., 2000. С. 377-395, 404-410,522-524.

2. Данилов И.А., Иванов П.М. Общая электротехника с основами электроники. М.: Высш.шк., 2000. С. 239-260, 269-277.

3. Иванов И.И., Равдоник В.С. Электротехника. М.: Высш.шк., 1984. С. 300-321.

4. Волынский Б.А., Зейн Е.И., Шатерников В.Е. Электротехника. М.: Энергоатомиздат, 1987. С. 332-351, 359-381.

5. Общая электротехника /Под ред. А.Т.Блажкина. М.: Энергоатомиздат, 1986. С. 364-384, 389-393, 395-399, 401-403.

6. Электротехника /Под ред. В.Г.Герасимова, М.: Высш.школа, 1985. С. 358-368, 373-380,384-385.

7. Борисов Ю.М., Липатов Д.Н., Зорин Ю.Н. Электротехника. М.: Энергоатомиздат, 1985. С.342-355, 367-387.

8. Рекус Г.Г., Чесноков В.Н. Лабораторные работы по электротехнике и основам электроники. М.: Высш. шк., 1989. С. 172-184.







Date: 2015-07-17; view: 447; Нарушение авторских прав



mydocx.ru - 2015-2026 year. (0.365 sec.) Все материалы представленные на сайте исключительно с целью ознакомления читателями и не преследуют коммерческих целей или нарушение авторских прав - Пожаловаться на публикацию