Главная Случайная страница


Полезное:

Как сделать разговор полезным и приятным Как сделать объемную звезду своими руками Как сделать то, что делать не хочется? Как сделать погремушку Как сделать так чтобы женщины сами знакомились с вами Как сделать идею коммерческой Как сделать хорошую растяжку ног? Как сделать наш разум здоровым? Как сделать, чтобы люди обманывали меньше Вопрос 4. Как сделать так, чтобы вас уважали и ценили? Как сделать лучше себе и другим людям Как сделать свидание интересным?


Категории:

АрхитектураАстрономияБиологияГеографияГеологияИнформатикаИскусствоИсторияКулинарияКультураМаркетингМатематикаМедицинаМенеджментОхрана трудаПравоПроизводствоПсихологияРелигияСоциологияСпортТехникаФизикаФилософияХимияЭкологияЭкономикаЭлектроника






Метроном





 

Если вы занимаетесь музыкой, то вряд ли сможете обойтись без этого прибора — он поможет выработать чувство ритма и избавит от вредной привычки

отстукивать ритм ногой. Метроном нужен не только начинающим музыкантам, его используют при настройке музыкального инструмента, поможет метроном и во время репетиций самодеятельного ансамбля.

Рис. 103. Схема метронома-приставки к абонентскому громкоговорителю

Рис. 104. Расположение деталей метронома-приставки на монтажной плате

Познакомимся с двумя конструкциями метрономов. Первая собрана как приставка к любому абонентскому громкоговорителю. Схема метронома приведена на рис. 103. Громкоговоритель подключен через разъем XI к генератору, собранному на транзисторах разной структуры. При включении питания (выключателем S1) генератор начинает вырабатывать броски тока (их называют импульсами), поступающие в громкоговоритель. Они преобразуются громкоговорителем в щелчки. Частоту щелчков можно регулировать переменным резистором R2 примерно от 30 — 40 до 200 — 250 в минуту. Причем, чем ближе движок резистора к крайнему левому по схеме выводу, тем реже следуют щелчки. Наибольшая частота щелчков будет в крайнем правом положении движка.

В качестве V1 можно применить указанный на схеме транзистор МП38А или другой маломощный транзистор структуры n -р-n (например, МП36А, МП37Б, МП38) с коэффициентом передачи тока не менее 35, а в качестве V2 — транзистор серии МП39 — МП42 с коэффициентом передачи тока не менее 45. Постоянные резисторы — МЛТ-0,5, переменный — СП-1 или другой, конденсатор — ЭМ, К50-6, К50-12. Источник питания — батарея «Крона», но значительно большая продолжительность работы будет с двумя батареями 3336Л, соединенными последовательно. Выключатель питания — тумблер ТВ2-1.

Эти детали разместите на монтажной плате, показанной на рис. 104. Батарею закрепите скобкой из жести, а монтажные шпильки укоротите снизу платы кусачками или изогните их и прижмите к плате. Саму плату, служащую лицевой панелью конструкции, прикрепите к корпусу (рис. 105), изготовленному, например, из тонкой фанеры. Чтобы прикрыть монтажные шпильки, наложите на плату сверху полоску таких же размеров, вырезанную из тонкого цветного органического стекла или декоративной бумаги (например, бархатной бумаги, используемой на уроках труда).

Рис. 105. Внешний вид метронома-приставки

 

К оси резистора прикрепите ручку, а против риски или метки на ней нанесите на лицевую панель шкалу, на которой в дальнейшем отметите значения частот ударов метронома.

В принципе метроном не нуждается в налаживании и начинает работать сразу. Но может случиться непредвиденное, и никаких щелчков из абонентского громкоговорителя не раздастся. Как быть? Сначала обязательно убедитесь, что регулятор громкоговорителя стоит в положении наибольшей громкости (крайнее по часовой стрелке положение ручки его переменного резистора). Затем подключите к выводам эмиттера и коллектора транзистора V2 щупы вольтметра и измерьте напряжение — оно должно быть немного меньше напряжения питания. Установите временно вместо постоянного резистора R3 переменный сопротивлением 10 кОм и, вращая его движок, следите за показаниями вольтметра. При уменьшении сопротивления резистора напряжение будет уменьшаться и наступит момент, когда в громкоговорителе послышатся щелчки.

Подберите такое положение движка резистора, чтобы громкость звучания метронома была максимальной, но чтобы в то же время метроном работал устойчиво при вращении движка переменного резистора R2 из одного крайнего положения в другое. Добившись этого, измерьте получившееся сопротивление дополнительного переменного резистора и впаяйте в плату постоянный резистор R3 с таким же сопротивлением.

Вероятен и такой случай, когда напряжение между эмиттером и коллектором транзистора V2 будет равно напряжению питания и не изменится при изменении сопротивления резистора R3. Наиболее вероятная причина этого — неправильное включение выводов транзистора V1 или неправильное включение самих транзисторов (перепутаны местами).

После устранения неисправности и подбора режима работы транзистора V2 проверьте частоты ударов метронома. Сначала установите движок переменного резистора R2 в правое по схеме положение и с помощью секундомера (или наручных часов с центральной секундной стрелкой) подсчитайте число щелчков, раздающихся в абонентском громкоговорителе за минуту. Если эта цифра равна 200 — 250, ничего делать не нужно. В противном случае придется подобрать сопротивление резистора R1. В другом крайнем положении движка переменного резистора частота щелчков-ударов должна быть 30 — 40 в минуту. При большем значении единственный выход — заменить переменный резистор другим, с большим сопротивлением.


Закончив все регулировки, можно проградуировать шкалу переменного резистора. Сделать это нетрудно с помощью секундомера, измеряя частоту ударов в различных положениях ручки резистора. Достаточно нанести несколько значений, например: 30, 50, 75, 100, 150, 200.

Возможно, вам покажется недостаточной громкость щелчков этого метронома, и, чтобы пользоваться им в большой аудитории, вы захотите повысить ее. Наиболее простой способ — использовать в метрономе непосредственно динамическую головку громкоговорителя. Правда, придется немного доработать громкоговоритель, но с этим вы вполне справитесь.

Откройте заднюю картонную крышку громкоговорителя и припаяйте к выводам головки отрезки монтажного провода длиной примерно по полметра (выводы вторичной обмотки трансформатора от головки не отпаивайте).

Рис. 106. Схема метронома с динамической головкой от абонентского громкоговорителя

Рис. 107. Схема метронома с малогабаритной динамической головкой

 

Пропустите отрезки через отверстие в крышке и установите крышку на место. Концы проводов подсоедините к вилке — ее вставляют в розетку новой приставки-метронома.

Схема приставки несколько изменена (рис. 106) — из нее удалены два резистора и заменен электролитический конденсатор другим, большей емкости. Уменьшено и напряжение питания — теперь достаточно одной батареи на 4,5 В. Эти изменения вызваны тем, что сопротивление динамической головки значительно меньше сопротивления первичной обмотки трансформатора абонентского громкоговорителя.

Для монтажа деталей можно воспользоваться платой, показанной на рис. 104, но размеры ее придется несколько изменить — ширина платы должна быть 65 — 70 мм при той же длине. Батарею питания (3336Л) надо установить на дне корпуса, для чего высоту корпуса увеличить до 45 — 50 мм. В принципе можно несколько уменьшить длину платы (на 20 — 25 мм), а значит, и длину корпуса, и тогда приставка станет малогабаритной.

Если громкость звука покажется чрезмерной, уменьшить ее можно включением между коллектором транзистора V1 и базой V2 постоянного резистора с небольшим сопротивлением — до 500 Ом (значение сопротивления резистора подбирают по желаемой громкости).

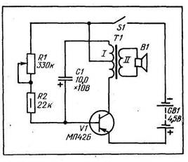
И еще одна конструкция метронома — с малогабаритной динамической головкой — может оказаться полезной. Она интересна тем, что имеет небольшие габариты — корпус ее по объему можно сравнить с карманным транзисторным приемником. Да и деталей в метрономе немного (рис. 107).

По схеме метроном представляет собой генератор на одном транзисторе. Звук здесь появляется из-за обратной связи между коллекторной и базовой цепями, возникающей благодаря специальному включению выводов первичной обмотки трансформатора П. Одна половина обмотки (нижняя по схеме) используется как коллекторная нагрузка транзистора, а вторая — как источник сигнала, подаваемого на базу.

Одновременно трансформатор является выходным, поскольку к его вторичной обмотке подключена головка В1. Звук в головке похож на щелчки, частота их зависит от емкости конденсатора С1 и общего сопротивления резисторов R1 и R2. Чем больше номиналы этих деталей, тем реже щелчки, и наоборот. Вы, конечно, догадались, что переменным резистором R1 изменяют частоту щелчков. Когда движок резистора находится в верхнем по схеме положении, общее сопротивление обоих резисторов минимально и частота щелчков наибольшая — около 300 в минуту. При установке движка в нижнее положение частота щелчков уменьшается до 30 в минуту.


Транзистор может быть МП39Б, МП40, МП40А, МП41, МП42А с коэффициентом передачи тока не менее 30. Постоянный резистор — МЛТ-0,5, переменный — СП-1, электролитический конденсатор — ЭМ, К50-6 или другого типа емкостью 10 мкФ на напряжение не ниже 6 В. В качестве трансформатора 74 используется выходной трансформатор практически от любого малогабаритного транзисторного приемника («Селга», «Сокол» и т.д.). Динамическая головка — 0.25ГД-19 или любая другая малогабаритная головка мощностью 0,1 — 0,5 Вт от карманного приемника (или из набора для радиоконструирования). Выключатель питания — тумблер ТВ2-1, источник GB1 — батарея 3336Л.

Детали метронома надо разместить на плате (рис. 108) из изоляционного материала. Для подпайки выводов деталей на ней устанавливают всего две монтажные шпильки. Снизу платы выступающие концы шпилек загибают и прижимают к плате. Чтобы укрепить динамическую головку, просверлите в плате четыре отверстия диаметром 3 мм, а напротив диффузора (как вы знаете, это бумажный «рупор» головки) прорежьте в плате отверстие диаметром 50 мм. Если динамическая головка не типа 0,25ГД-19, диаметр отверстия может быть иным. Под ось переменного резистора и металлическую часть корпуса выключателя просверлите в плате отверстия соответствующих диаметров.

Рис. 108. Монтажная плата метронома с малогабаритной динамической головкой: а — расположение деталей, б — внешний вид смонтированной платы

Последовательность монтажа особого значения не имеет, но лучше всего вначале сделать соединения между выключателем и переменным резистором, подпаять постоянный резистор, поставить на плату трансформатор и припаять к выводам его вторичной обмотки толстые (0,6 — 0,8 мм) проводники от выводов динамической головки, соединить таким же проводом средний вывод первичной обмотки с переменным резистором, припаять конденсатор и только после этого распаять выводы транзистора.

Плату установите в корпусе (рис. 109) подходящих размеров. Совсем не обязательно пользоваться при этом винтами с гайками. Плата будет надежно держаться, если прикрепить ее к лицевой стенке корпуса гайками крепления переменного резистора и выключателя. Напротив диффузора прорежьте в лицевой стенке отверстие и закройте его изнутри декоративной неплотной тканью. Снаружи можно закрыть отверстие декоративной рамкой или пластмассовой решеткой. Батарею питания прикрепите к любой из боковых стенок корпуса или к съемной задней крышке. Соединительные проводники между батареей и платой должны быть достаточной длины и обязательно многожильные (в хлорвиниловой изоляции).


Если у вас есть готовый корпус от карманного приемника, можно поступить иначе. Динамическую головку прикрепите к его лицевой панели, а на монтажной плате (она, естественно, будет меньших размеров) разместите оставшиеся детали, кроме батареи питания.

Проверив соответствие всех соединений схеме, установите движок переменного резистора в положение наибольшей частоты щелчков и включите питание метронома. Подсчитайте, сколько раздастся щелчков за минуту. Если более 300, увеличьте сопротивление резистора R2. При числе щелчков менее 200, уменьшите сопротивление этого резистора.

Рис. 109. Внешний вид метронома с малогабаритной динамической головкой

 

Затем переместите движок резистора в другое крайнее положение и вновь подсчитайте число щелчков за минуту. Если оно более 40, увеличьте емкость электрического конденсатора, например, подключением параллельно ему конденсатора емкостью 1 — 5 мкФ или замените конденсатор другим, такой же емкости, но более близкого года выпуска (со временем емкость конденсатора может уменьшиться). После замены конденсатора или подбора его емкости обязательно проверьте частоту щелчков в другом крайнем положении движка переменного резистора (в верхнем по схеме).

Убедившись в работоспособности метронома, прикрепите (если не сделано этого заранее) шкалу к лицевой стенке корпуса напротив ручки резистора и отградуируйте ее с помощью секундомера, как это рекомендовалось для предыдущей конструкции.

с

 







Date: 2015-05-22; view: 2112; Нарушение авторских прав



mydocx.ru - 2015-2026 year. (1.347 sec.) Все материалы представленные на сайте исключительно с целью ознакомления читателями и не преследуют коммерческих целей или нарушение авторских прав - Пожаловаться на публикацию