Главная Случайная страница


Полезное:

Как сделать разговор полезным и приятным Как сделать объемную звезду своими руками Как сделать то, что делать не хочется? Как сделать погремушку Как сделать так чтобы женщины сами знакомились с вами Как сделать идею коммерческой Как сделать хорошую растяжку ног? Как сделать наш разум здоровым? Как сделать, чтобы люди обманывали меньше Вопрос 4. Как сделать так, чтобы вас уважали и ценили? Как сделать лучше себе и другим людям Как сделать свидание интересным?


Категории:

АрхитектураАстрономияБиологияГеографияГеологияИнформатикаИскусствоИсторияКулинарияКультураМаркетингМатематикаМедицинаМенеджментОхрана трудаПравоПроизводствоПсихологияРелигияСоциологияСпортТехникаФизикаФилософияХимияЭкологияЭкономикаЭлектроника






Радиоприемник на одном транзисторе





 

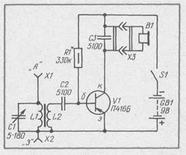
Этот приемник обладает значительно большей чувствительностью, чем предыдущий, хотя и содержит тоже один транзистор (рис. 41). Все дело в том, что головные телефоны стоят в цепи коллектора. В таком режиме транзистор обеспечивает большее усиление сигнала, чем при включении телефонов в эмиттерную цепь.

Несколько иначе выполнена и входная часть приемника. На общем фер-ритовом стержне размещены две катушки индуктивности — контурная L1 (с переменным конденсатором С1 она составляет уже известный колебательный контур) и катушка связи L2. Число витков катушки связи значительно меньше, чем у контурной, и на транзистор поступает лишь часть принятого сигнала. Сделано это для того, чтобы транзистор не влиял на колебательный контур и тем самым не изменял его настройки.

Итак, с катушки связи сигнал поступает на базу транзистора через конденсатор С2. Здесь он детектируется, то есть из него выделяется сигнал звуковой частоты, который затем усиливается транзистором и поступает на головные телефоны.

 

Рис. 41. Схема приемника на одном транзисторе

Рис.42. Расположение деталей однотранзисторного приемника на монтажной плате

 

Как и в предыдущем приемнике, смещение на базу транзистора подается через резистор R1. На схеме у буквенного обозначения резистора вы видите «звездочку». Она показывает, что этот резистор, возможно, придется подбирать (то есть уточнять его сопротивление) при налаживании приемника. Об этом будет сказано позже.

Переменный и постоянные конденсаторы, а также резистор, транзистор, выключатель и головные телефоны такие же, что и в предыдущем приемнике. Катушки намотаны на ферритовом стержне диаметром 8 мм и длиной 40 — 50 мм. Катушка L1 содержит 80 витков, a L2 — 20 витков провода ПЭЛ или ПЭВ диаметром 0,15 — 0,2 мм. Расстояние между обмотками около 5 мм, намотка — виток к витку.

Часть деталей приемника смонтируйте на плате (рис. 42) из изоляционного материала, которая напоминает плату детекторного приемника. После монтажа проверьте правильность всех соединений и только после этого подключите к стойкам платы источник питания, головные телефоны, антенну и заземление (рис. 43). Выключателем подайте питание на приемник (в головных телефонах при этом должен раздаться щелчок) и сразу же измерьте напряжение между эмиттером и коллектором транзистора — к эмит-терной цепи подключите плюсовой щуп вольтметра, а к коллекторной — минусовой.

Стрелка вольтметра должна показать напряжение около 4,5 В. Если оно значительно отличается (более чем на 20%) от указанного, подберите резистор R1 — установите вместо него другой (с меньшим или большим сопротивлением).

Рис. 43. Внешний вид смонтированной платы и ее соединение с остальными деталями приемника

Рис. 44. Цепочка для подбора сопротивления резистора R1

 

Узнать, какой именно резистор нужен, нетрудно. При меньшем измеренном напряжении нужно поставить резистор с большим по сравнению с указанным по схеме сопротивлением (например, 390 кОм, 430 кОм, 470 кОм и т.д.) Наоборот, если измеренное напряжение превышает заданное, сопротивление резистора следует уменьшить (установить резистор сопротивлением 300 кОм, 270 кОм, 240 кОм). Можно поступить иначе (рис. 44) — включить вместо резистора R1 два последовательно соединенных резистора: постоянный сопротивлением около 100 кОм и переменный (любого типа, например СП-1, СПО-0,5) сопротивлением -4 МОм. Перемещая движок переменного резистора, добейтесь нужного напряжения, измерьте получившееся общее сопротивление (цепочку при этом надо отпаять от платы) и установите на плату постоянный резистор примерно с таким же сопротивлением. На практике такую подстройку приходится делать редко, поскольку оговорен требуемый коэффициент передачи тока транзистора (60 — 100), и при использовании транзистора с таким параметром указанный на схеме резистор смещения обеспечивает нужный режим его работы. Все сказанное справедливо, конечно, лишь при использовании свежей батареи. Поэтому измерьте ее напряжение при подключенном приемнике (иначе говоря, под нагрузкой) — оно не должно быть ниже 8,5 В, иначе батарею придется заменить.

После проверки и установки напряжения на коллекторе дотроньтесь пинцетом (или просто пальцем) до вывода базы транзистора. В телефонах должен раздаться слабый гул — фон переменного тока. Если до базы не дотрагиваться, в телефонах должен прослушиваться слабый шум, свидетельствующий о нормальной работе транзистора.

Вот теперь можно проверить, сколько радиостанций и с какой громкостью принимает смонтированная вами самоделка. Если заметите, что звук в телефонах искажается, отмотайте один-два витка от катушки связи L2. Если громкость звучания будет чрезмерной, включите между наружной антенной и антенным гнездом приемника постоянный конденсатор небольшой емкости (10 — 15 пФ). Изменить рабочий диапазон приемника в любом случае можно теми же средствами, что и для предыдущей конструкции.

Плату и детали, не уместившиеся на ней (гнезда, разъем, выключатель и батарею), укрепите в корпусе, который конструктивно может быть таким же, что и для детекторного приемника. Проводники питания можно припаять непосредственно к выводам батареи или использовать для подключения батареи к приемнику разъем-колодку от пришедшей в негодность «Кроны».

 







Date: 2015-05-22; view: 1963; Нарушение авторских прав



mydocx.ru - 2015-2026 year. (0.977 sec.) Все материалы представленные на сайте исключительно с целью ознакомления читателями и не преследуют коммерческих целей или нарушение авторских прав - Пожаловаться на публикацию