Главная
Случайная страница
Полезное:
Как сделать разговор полезным и приятным
Как сделать объемную звезду своими руками
Как сделать то, что делать не хочется?
Как сделать погремушку
Как сделать так чтобы женщины сами знакомились с вами
Как сделать идею коммерческой
Как сделать хорошую растяжку ног?
Как сделать наш разум здоровым?
Как сделать, чтобы люди обманывали меньше
Вопрос 4. Как сделать так, чтобы вас уважали и ценили?
Как сделать лучше себе и другим людям
Как сделать свидание интересным?
Категории:
АрхитектураАстрономияБиологияГеографияГеологияИнформатикаИскусствоИсторияКулинарияКультураМаркетингМатематикаМедицинаМенеджментОхрана трудаПравоПроизводствоПсихологияРелигияСоциологияСпортТехникаФизикаФилософияХимияЭкологияЭкономикаЭлектроника
|
Плазмоэлектролитический реактор Канарёва. Физическая модель плазмоэлектролитического процесса
Эта статья посвящена исследованиям профессора Ф.М. Канарева, и сравнение его теории и экспериментов с ячейкой Мэйера. Работы Канарёва для понимания простым исследователем сложны, поэтому эта статья будет излагаться максимально простым языком. В одной из статей сайта указывалось, что не бывает открытий «одного человека», если один исследователь – теоретик, или практик открыл что либо новое, то всегда есть другой исследователь, или группа исследователей, не связанная с первым, но близкая к этому открытию. Это как открытие приёмника Маркони – Попов. Разница лишь в сроках открытия, или изобретения чего либо похожего. Сроках, которые определяются даже не гениальными сверхспособностями человека, а условиями, в которых он работал. У одного они есть, а у другого – либо появляются периодически, либо плохие, либо нет вовсе. Если талантливого гения – Теслу финансировал миллионер Джон Пирпонт Морган, то талантливого гения – Эдиссона поддерживали «менее денежные продюсеры». Ведь как только Морган перестал финансировать эксперименты Теслы, так и его изобретения пошли на спад. Ячейка Мэйера тоже не может быть единичным изобретением, другие исследователи так же делали определённые шаги к открытию высокопотенциального электролиза. Подобные Мэйеру наблюдения получил Ф.М. Канарев.
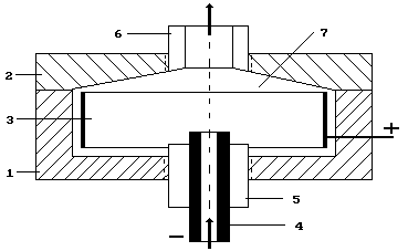
Плазмоэлектролитические процессы выявлены сравнительно недавно, поэтому пока не существует ни физической, ни химической теорий этих процессов. Полное описание плазмоэлектролитического процесса не может базироваться на чисто физических или чисто химических представлениях. Это - взаимосвязанные физико-химические процессы, поэтому разделить их на физические и химические можно лишь условно. Плазменный электролиз указывает на наличие дополнительной энергии. Плазмоэлектролитический реактор представляет собой устройство, корпус которого изготовлен из диэлектрического материала. Рабочий раствор подается в межэлектродное пространство. Рассмотрим плазмоэлектролитические реакторы, зарегистрированные заявлениями на патент доктором технических наук, профессором Ф.М. Канаревым и кандидатом химических наук Е.Д. Зыковым. Что там патентовать? Мне не понятно! Всё до предела элементарно. Одна лишь проблема - материалы, из которых они изготовлены на каждом углу не валяются – простой Кулибин не найдёт. По телевизору, в году 2005 показывали одного мужика, который патентует всё, что попало в поле его зрения. Поэтому, как знать, может мы, скоро будем платить деньги за пользование чьим-то патентом, например столовой ложкой, или туалетной бумагой. Начнём с плазмоэлектролитического реактора №2, как более простого (видимо первый реактор был неудачным). Его схема представлена на рисунке 1.

Рис. 1. Схема плазмоэлектролитического реактора № 2: 1-корпус реактора, 2-крышка реактора, 3-анод, 4-катод (впускной патрубок), 5-втулка, 6-выпускной патрубок, 7-межэлектродная камера
Корпус 1 и крышка 2 реактора (рис. 1) могут быть изготовлены из оргстекла или фторопласта. Анод 3 желательно изготовить из титана, покрытого окисью рутения (орта) или просто из титана. Полый катод 4 изготовлен из молибдена. Втулка 5 и выпускной патрубок 6 изготовлены из фторопласта. Площади рабочих поверхностей анода и катода подбираются так, чтобы плотность тока на катоде в несколько десятков раз превышала плотность тока на аноде, а расстояние между анодом и катодом было бы равно 8...10 см. Рабочими растворами могут быть слабые (одномолярные) растворы щелочей, кислот и т.д. На следующем рис. 2 показана схема базовой модели наиболее эффективного плазмоэлектролитического реактора №3. Геометрические параметры D, d и S подбираются так, чтобы эффект был максимален для конкретного режима работы. По своему внешнему виду он напоминает стеклянную учебную установку (никем не запатентованную), которая используется для демонстрации электролиза кислотного раствора с отделением кислорода и водорода в различные ёмкости. Материалы только не дешёвые. Где Вы возьмёте стержень из редкоземельного металла – вольфрама? Я не знаю, у Вас есть окись рутения или нет, а у меня на работе (в её укромных местах), если хорошо поискать, то титан найти можно.

Рис. 2. Схема модели плазмоэлектролитического реактора №3 1 - анод (орта); 2 - катод (молибден); 3 - защита диэлектрического стержня 5 от перегрева; 4 - вольфрамовый стержень; 6 - патрубок для подачи раствора; 7 - патрубок для выхода кислорода; 8 - патрубок для выхода водорода; 9 - патрубок для выхода парогазовой смеси
Эффект проявляется в узком диапазоне сочетания различных параметров реактора и плазмоэлектролитического процесса. К настоящему моменту изучена незначительная часть этих сочетаний. Испытано пока лишь несколько модификаций плазмоэлектролитического реактора №3. Реактор работает следующим образом. С помощью ротаметра устанавливается заданный расход раствора и включается электропитание с начальным напряжением, близким к нулю. Затем напряжение повышается, и при 150-200 Вольтах в прикатодном пространстве образуется устойчивая плазма. Через несколько секунд после появления плазмы начинается выход нагретого раствора и парогазовой смеси. Количество пара можно регулировать. Обратите внимание, что катод по площади не менее чем на два порядка меньше анода, соответственно и плотность тока на единицу площади катода будет выше, чем на аноде. Повышение напряжения приводит к изменению силы тока в цепи, характерная закономерность которого показана на рис. 3. Для изобретателей водородного генератора, это будет одной из самых полезных информаций из всего труда Канарёва. Рассмотрим вольтамперную характеристику.

Рис. 3. Вольтамперная характеристика
Вначале, при повышении напряжения линейно, в соответствии с законом Ома, растет сила тока. Затем, при напряжении более 40 Вольт закон Ома нарушается, а при напряжении около 100 Вольт (точки 5 - 6) сила тока уменьшается скачкообразно, и у катода появляется яркое свечение (плазма). Дальнейшее принудительное уменьшение напряжения (точки 6 - 15) незначительно изменяет силу тока. При напряжении около 60 Вольт (точки 14 - 15) свечение у катода исчезает, сила тока скачкообразно увеличивается почти до прежней величины.
Date: 2015-05-22; view: 1469; Нарушение авторских прав | Понравилась страница? Лайкни для друзей: |
|
|