Главная Случайная страница


Полезное:

Как сделать разговор полезным и приятным Как сделать объемную звезду своими руками Как сделать то, что делать не хочется? Как сделать погремушку Как сделать так чтобы женщины сами знакомились с вами Как сделать идею коммерческой Как сделать хорошую растяжку ног? Как сделать наш разум здоровым? Как сделать, чтобы люди обманывали меньше Вопрос 4. Как сделать так, чтобы вас уважали и ценили? Как сделать лучше себе и другим людям Как сделать свидание интересным?


Категории:

АрхитектураАстрономияБиологияГеографияГеологияИнформатикаИскусствоИсторияКулинарияКультураМаркетингМатематикаМедицинаМенеджментОхрана трудаПравоПроизводствоПсихологияРелигияСоциологияСпортТехникаФизикаФилософияХимияЭкологияЭкономикаЭлектроника






Дәріс. Ортадан тепкіш өрістерде сұрыптау





Ортадан тепкіш сұрыптағыштар негізінде ұсақ түйіршікті заттарда (100ден 5мкм дейінгі) бөліп алуға қолданылады.Қазіргі кезде бұл аппараттар ең жақсы сұрыптағыштар боп саналады. Болжам бойынша келешекте олар байыту фабрикаларындағы механикалық сұрыптағыштарды толығымен ауыстырады.Соңғы жылдарда гидроциклондардың қолдану аумағы кеңейе бастады.Олар ауыр суспензияларда байытуда қолданылады. Негізінде алмас өндіру фабрикаларында және сонымен қоса майда ұнтақталынған алтын құрамды заттарды сулы ортада гравитациялық байытуда қолданылады. Ортадан тепкіш сұрыптағыштар төмендегідей боп бөлінеді.

-гидроциклондар қозғалыссыз цилиндрлі-конусты аппараттар, оларға пульпа қысыммен (0.05-0.13МПа оның цилиндрдің ішкі бет аумағына ортадан тепкіш насос арқылы беріледі.

-шөктіруші центрифугалар,оларда пульпа айналымды ағысты аппараттын роторынан алады. Бұл аппараттар негізінде байыту өнімдерін сусыздандыруда қолданылады. Ортадан тепкіш күштердің әсері бөліну процесін қарқындатады, яғни процестің жылдамдығы жане оның бөліну тереңдігі өседі. Ортадан тепкіш өрістердің үдеуі ауырлық күш үдеуіне қарағанда оншақты немесе жүз шақты есе өседі. Сондықтан бұл аппараттарда заттардың бөліну ірілігін айтарлықтай төмендетуге болады.

Ортадан тепкіш күш әне бөліну факторы.

Дененің айналу кезінде пайда болатын күшті келесі формуламен анықтайды.

С=mv2/r=F υ 2/(qr), (1)

мұнда С-ортадан тепкіш күш, н;

m-айналып тұрған дене массасы, кг;

υ- шеңбер бойындағы айналу жылдамдығы, м/сек;

t- айналу радиусы, м;

F- айналып тұрған дене салмағы (ауырлық күш), н;

q- бос құлау удеуі, м/сек2.

Шеңбер бойындағы айналу жылдамдығы төменгі формуламен анықталады.

υ=π·r·n/30, (2)

мұнда n- дененің айналу жиілігі, мин-1

Бірініші формулаға екінші формуладағы дәрежелерді енгізсек, онда келесі формуланы табамыз С=F π 2 n 2·r/(900· q), егерде π 2= q деп алсақ, онда

С=F · n 2·r/(900). (3)

Бұл формуладан көретініміз ротордың айналу жиілігінің көбейуі ротор диаметрін үлкейтуге қарағанда ортадан тепкіш күштің өсуіне әлде қайда көп әсерін тигізеді. Ортадан тепкіш күш үдеуінің (υ 2/r) ауырлық (гравитациялық) күш үдеуіне (q) қатынасын бөліну факторы (Кр) деп атайды. Бөліну факторы аталған аппараттарда пайда болатын ортадан тепкіш күшінің ауырлық күштен неше рет артық болуын көрсетеді.

Кр 2/ (q r) (4)

Немесе (4) формулаға (2) формуладағы υ көрсеткішін кіргізсек және π 2= q деп алсақ, онда келесі теңдеуде аламыз:

Кр 2/ q2 =(π · n ·r/30)2 ·1/2 q=Rn2/ 900 (5)

Бұл формуладан көретініміз, бөліну факторы (ортадан тепкіш өрістің үдемеліліктігі гравитациялықпен салыстырғанда) айналу санына (n, айн/мин) және айналу радиусына (r, м) тәуелді екенің көрсетеді. Мысалы ретінде мынаны айтуға болады, бөліну факторы Кр =100- ге тең өрісіндегі ірілігі 30 мкм түйіршік сұйыққа радиалды бағытта ірілігі 300 мкм құрайтын гравитациялық өрістеге қозғалып баратқан түйіршіктің жылдамдығына сай келеді. Сұрыптаушы гидроциклон 8 суретте көрсетілген. Жалпы гидроциклондардың корпусы екі бөлектен тұрады.: жоғарғы бөлегі цилиндр пішінді, ал төменгі бөлегі конус пішінді болып келеді. цилиндрлі бөлегінің диаметрі 25-1400 мм-ге жетеді. Оларда конустық бұрыштың (L) мөлшері әртүрлі дәрежеде өзгереді.


1) сусыздандырушы және шламсыздандырушылардікі -100;

2) сұрыптаушы -200; ауыр орталы -40-600;

3) байытушы (немесе қысқа конусты) 900-тан жоғары.

8- сурет. Сұрыптаушы гидроциклон

1- ағызынды сұғындырмасы; 2-ауыстырмалы; 3- цилиндр; 4- конустар; 5- сақиналы конус; 6- құм сұғындырмасы; 7- пульпа түсетін құбыр; 8- резиналы диафрагма; 9- бөлгіш камера; 10- манометр.

Гидроциклонның ішкі беті мұжылмас үшін арнаулы футеровкалармен капталынады. Цилиндр бөлегінің беті ортасында тесігі бар қақпақпен жабылған. Осы тесікке ағызынды шығатын сұғындырма орнатылған. Конустың төменгі түбінде шөккен құм шығатын тесік бар. Оған алынып салынатын сұғындырма орнатылады. Аппараттың корпусы құйылып (шойыннан) немесе болат беттерінен пісіріліп жасалынған. Қазіргі кездерде гидроциклон конструкцияларында полимерлік материалдар қолданылады.

Гидроциклонға пульпа насостың айдау қысымымен корпустың цилиндрлі бетіне жанама орнатылған (тангенциалды) құбыр арқылы түседі. Соның нәтижесінде пульпа айналмалы қозғалысқа келеді, ал ол ортадан тепкіш күшті пайда етеді. Ағызынды шығатын сұғындырма диаметрі құм шығатын сұғындырма диаметрінен көп үлкен. Сондықтан судың негізгі массасы ағызынды сұғындырмасы арқылы көтеріледі. Соның нәтижесінде көтерілу ағымы пайда болады. сонда гидроциклон ішіндегі пульпа құрамындағы әр түйіршікке үш күш әсер етеді: салмақ күші, ортадан тепкіш күш және жоғарғы ағым күші. Түйіршіктің ағызындыға не құмға кетуі үш күшке тең әсерлі күштің бағытына байланысты. Ірі және тығыздығы үлкен түйіршіктерге ортадан тепкіш күш пен салмақ күші әсер етеді де олар құмға түседі, ал ұсақтарына ағым күші басым әсер етеді де ағызындығы шығады. Сонымен, құмға не болмаса ағызындыға шығатын түйіршіктер ірілігін бірнеше факторларды өзгерту арқылы реттеуге болады. Оларға жататындар: гидроциклонға түсетін пульпаның қысымы, пульпаның тығыздығы, ағызынды және құм сұғындырмаларының диаметрлері. Іс жүзінде көбінде тек құмды сұғындырма диаметрі өзгертіледі. Оның диаметрі кішірейтілсе көтерілу ағын жылдамдығы өседі де ағызындыға шығатын түйіршіктер диаметрі үлкейеді және керісінше. Гидроциклондар байыту фабрикаларында сұрыптау мақсатымен қолданылатын ең көп тараған аппаратқа жатады. Олардың артықшылығы – диаметрімен биіктігі үлкен емес, сондықтан аз жер алады. Көбінде олар диірменнің кен түсер жағына жоғары биіктікке орнатылады. Диірменнен шыққан зат насоспен гидроциклонға айдалынады. Одан шыққан құм өздігінен ағып диірменге түседі де, ағызынды не келесі ұнтақтау сатысына, не байыту процесіне бағытталады. Олардың кемшіліктері – пульпаны белгілі қысыммен түсіру үшін насос қолданудың қажеттілігі. Соған сәйкес гидроциклондар жоғары және төмен қысымды болып екіге бөлінеді. Біріншілерінде, түсетін пульпа қысымы мөлшері 0,25-0,35 МПа болса, екіншілерінде ол 0,05-0,13 МПа-ға тең.


Конусты гидроциклоннан басқа өндірісте батарейлі гидроциклондар және үш өнімді цилиндрлі гидроциклондар қолданылады. Біріншісі, үлкен өнімділікте сақтаумен өте майда түйіршікті ағызында алу максатымен қолданылады. Олардың бір-бірінен айырмашылығы батарейлі гидроциклонды құрастырудағы гидроциклондар санымен, размерлерімен, конструкцияларымен, компоновкасымен және жүктемелеу мен олардан заттарды шығару әдістерімен айқындалады.

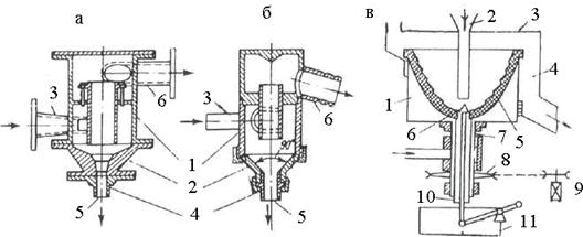
Үш өнімді цилиндрлі гидроциклондар екі цилиндрлі және конусты гидроциклондардан тұрады. Соңғы жылдарда өндірісте нақтылы қолданыс тапқан гидроциклон түрлері 9-суретте көрсетілген

 

 

9-сурет. Гидроциклондар: а – құйынды; б – компауд-циклон; в – қысқа конусты.

Құйынды циклонға ауа оның орталық бөлегіне беріледі, осыған сай аппараттың өнімділігі өседі (2,а сур.). Байытушы циклон, үш конустардан тұрады (конустың бұрыштары 1350;750;200;), оны компауд-циклон немесе «Трикон» деп атайды (2,б сур.). қысқа конусты гидроциклон түйіршікті заттарды гравитациялық әдіспен байытуда қолданылады (2,в сур.).

Өндірісті жиі қолданылатын гидроциклондардың диаметрлері 350; 500; 750; 1000 мм құрайды. Олардың бастапқы зат бойынша өнімділігі 0,5-тен 1500 м3 / сағ. дейін өзгереді.

Әдебиет: 1-нег. [110-129]

Бақылау сурақтары:

1. Ортадан тепкіш сұрыптағыштардың түрлері?

2. Гидроциклонның суретін салу.

3. Сұрыптау процесі гидроциклонда қалай атқарылады?

4. Гидроциклондағы қысым мөлшері қандай дәрежеде болады?

5. Гидроциклондардың диаметрлері қандай болады?







Date: 2015-05-18; view: 1572; Нарушение авторских прав



mydocx.ru - 2015-2026 year. (0.762 sec.) Все материалы представленные на сайте исключительно с целью ознакомления читателями и не преследуют коммерческих целей или нарушение авторских прав - Пожаловаться на публикацию