Главная Случайная страница


Полезное:

Как сделать разговор полезным и приятным Как сделать объемную звезду своими руками Как сделать то, что делать не хочется? Как сделать погремушку Как сделать так чтобы женщины сами знакомились с вами Как сделать идею коммерческой Как сделать хорошую растяжку ног? Как сделать наш разум здоровым? Как сделать, чтобы люди обманывали меньше Вопрос 4. Как сделать так, чтобы вас уважали и ценили? Как сделать лучше себе и другим людям Как сделать свидание интересным?


Категории:

АрхитектураАстрономияБиологияГеографияГеологияИнформатикаИскусствоИсторияКулинарияКультураМаркетингМатематикаМедицинаМенеджментОхрана трудаПравоПроизводствоПсихологияРелигияСоциологияСпортТехникаФизикаФилософияХимияЭкологияЭкономикаЭлектроника






Структурные схемы ИВЭП





Структура ИВЭП зависит от типа первичного источника электрической энергии. Все используемые первичные источники можно разделить на две большие группы: источники переменного напряжения и источники постоянного напряжения. Источники переменного напряжения обычно вырабатывают напряжение гармонической формы с фиксированной частотой (50, 400 или 1000 Гц) и фиксированным значением (110, 127, 220 или 380 В). Источниками постоянного напряжения могут быть аккумуляторы или солнечные батареи. Аккумуляторные батареи обычно имеют также фиксированное напряжение из ряда: 6, 12, 24 или 48 В.

Структурные схемы ИВЭП, использующих электроэнергию, получаемую от сети переменного напряжения через силовой трансформатор, приведены на рис. 2.3.1. Такие ИВЭП можно разделить на три группы: нерегулируемые, регулируемые и стабилизированные.

Рис. 2.3.1. Структурные схемы ИВЭП с трансформаторным входом: с нерегулируемым выпрямителем (а), с регулируемым выпрямителем (б) и со стабилизатором (в).

Схема нерегулируемого ИВЭП с трансформаторным входом приведена на рис. 2.3.1. а). Она состоит из силового сетевого трансформатора, нерегулируемого выпрямителя и фильтра пульсаций. Эта схема является простейшей и используется в тех случаях, когда требования к удельной мощности и качеству выходных напряжений невысокие.

Более подробно устройство и характеристики фильтров будут рассмотрены в следующем параграфе.

Если требуется изменять выходное напряжение ИВЭП, то в схему вводится регулируемый выпрямитель, как показано на рис. 2.3.1. б). Для регулировки выходного напряжения наиболее часто используются тиристорные выпрямители. Основным недостатком такого ИВЭП является необходимость в периодической регулировке выходного напряжения при изменении напряжения сети, что выполняется оператором.

От этого недостатка свободен ИВЭП со стабилизатором, схема которого приведена на рис. 2.3.1. в). В эту схему после фильтра включается стабилизатор с непрерывным или импульсным регулированием выходного напряжения. Удельная мощность такого ИВЭП невелика по двум основным причинам: наличию силового трансформатора, работающего на частоте силовой сети, и необходимости использования стабилизатора.

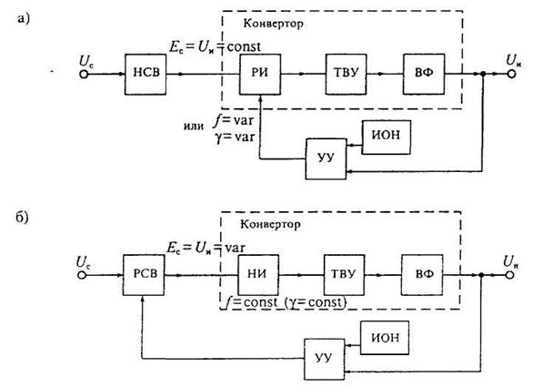
Совершенствование ИВЭП с целью повышения их КПД и увеличения удельной мощности привело к созданию импульсных ИВЭП, в состав которых входят высокочастотные инверторы напряжения. Структурные схемы таких ИВЭП с одним выходным каналом приведены на рисунке 2.3.2.

На рис. 2.3.2. а) приведена схема ИВЭП содержащего нерегулируемый сетевой выпрямитель НСВ и конвертор выпрямленного напряжения сети. Конвертор состоит из регулируемого инвертора РИ, работающего на повышенной частоте (обычно 20...100 кГц), трансформаторного выпрямительного узла ТВУ и высокочастотного фильтра ВФ. Для стабилизации выходного напряжения используется схема управления УУ.

В схеме управления сравниваются выходное напряжение U K ИВЭП и напряжение опорного источника ИОН. Разность этих напряжений, называемая сигналом ошибки, используется для регулировки частоты РИ (f=var) или скважности импульсов при их неизменной частоте (y=var). Конвертор, выполненный на базе однотактного трансформаторного инвертора, называют трансформаторным однотактным конвертором (ТОК). Конвертор, выполненный на базе двухтактного трансформаторного инвертора, называют трансформаторным двухтактным конвертором (ТДК).

Рис. 2.3.2. Структурные схемы импульсных ИВЭП: с регулируемым инвертором (а) и регулируемым сетевым выпрямителем (б).

На рисунке 2.3.2. б) приведена схема ИВЭП с регулируемым сетевым выпрямителем (РСВ) и нерегулируемым инвертором (НИ). Остальные узлы в этой схеме имеют то же назначение, что и на рис. 2.3.2. а) Отличительной особенностью этой структурной схемы является использование нерегулируемого инвертора НИ. Cтaбилизaция выходного нaпpяжения в этой схеме обеспечивается за счет регулирования напряжения на входе конвертора с помощью РСВ, который обычно выполняют на тиристорах с фазовым регулированием.

Для схемы, приведенной на рис. 2.3.2. а), характерным является то, что инвертор должен быть рассчитан на работу с выпрямленным напряжением сети, которое имеет максимальное значение около 300 В для однофазной сети и около 530 В для трехфазной сети 220/380 В. Кроме того, изменение частоты или скважности импульсов инвертора РИ приводит к ухудшению фильтрации выходного напряжения. В результате увеличиваются массогабаритные показатели фильтра ВФ, так как его параметры рассчитывают исходя из минимального коэффициента заполнения импульсов Ymin при условии непрерывности тока в нагрузке.


Положительным свойством схемы рис. 2.3.2. а) является совмещение функций преобразования напряжения и стабилизации выходного напряжения U н. Это позволяет упростить схему УУ, так как уменьшается число управляемых ключей. Кроме того, наличие паузы позволяет устранить сквозные токи в ключах инвертора.

Достоинством схемы, приведенной на рис. 2.3.2. б), является возможность обеспечения работы инвертора при пониженном напряжении (обычно его снижают в 1,5...2 раза), поэтому питание инвертора производится напряжением 130...200 В. Это существенно облегчает работу транзисторных ключей инвертора. Другим достоинством этой схемы является то, что инвертор может работать с максимальным коэффициентом заполнения Ymax импульсов и, следовательно, упрощается фильтрация выходного напряжения. Исследование КПД и удельной мощности обеих схем показала, что эти показатели у них отличаются незначительно.

Схемы многоканальных ИВЭП с нерегулируемым сетевым выпрямителем (НСВ) приведены на рис. 2.3.3. В схеме на рис. 2.3.3. а) используется нерегулируемый инвертор НИ и индивидуальные стабилизаторы напряжения СТ 1... СТ п, в отдельных каналах. Такая структурная схема может использоваться при небольшом числе выходных каналов. При увеличении числа выходных каналов она становится неэкономичной.

Схема, изображенная на рис. 2.3.3. б), работает на принципе групповой стабилизации выходного напряжения. Для этого в ней применяется регулируемый инвертор РИ, который управляется напряжением одного из каналов. Стабилизация выходных напряжений в других каналах в этом случае ухудшается, так как они не охвачены обратной связью. Для улучшения стабилизации напряжения в каналах, не охваченных обратной связью, можно использовать дополнительные индивидуальные стабилизаторы, так же, как в схеме рис. 2.3.3. б).

Рис. 2.3.3. Структурные схемы многоканальных ИВЭП: с индивидуальной стабилизацией (а) и с групповой стабилизацией (б)







Date: 2015-05-09; view: 3595; Нарушение авторских прав



mydocx.ru - 2015-2026 year. (0.029 sec.) Все материалы представленные на сайте исключительно с целью ознакомления читателями и не преследуют коммерческих целей или нарушение авторских прав - Пожаловаться на публикацию