Главная Случайная страница


Полезное:

Как сделать разговор полезным и приятным Как сделать объемную звезду своими руками Как сделать то, что делать не хочется? Как сделать погремушку Как сделать так чтобы женщины сами знакомились с вами Как сделать идею коммерческой Как сделать хорошую растяжку ног? Как сделать наш разум здоровым? Как сделать, чтобы люди обманывали меньше Вопрос 4. Как сделать так, чтобы вас уважали и ценили? Как сделать лучше себе и другим людям Как сделать свидание интересным?


Категории:

АрхитектураАстрономияБиологияГеографияГеологияИнформатикаИскусствоИсторияКулинарияКультураМаркетингМатематикаМедицинаМенеджментОхрана трудаПравоПроизводствоПсихологияРелигияСоциологияСпортТехникаФизикаФилософияХимияЭкологияЭкономикаЭлектроника






Со скрытым слоем





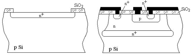
Первыми операциями при изготовлении таких микросхем являются термическое окисление, фотолитография и диффузия донорной примесью, чтобы создать n+ - слой на месте, где будут формироваться транзисторы (рисунок 4.8а). Толщина этого слоя составляет примерно 2 мкм. Затем слой SiO2 стравливается. В последующем проводится эпитаксия и последовательно все операции, которые использовались при изготовлении планарно–эпитаксиального транзистора. Структура готового транзистора приведена на рисунке 4.8б.

а) б)

Рисунок 4.8

 

Распределение примесей приведено на рисунке 4.9. Поскольку в коллекторе основного транзистора (этот же слой является базой паразитного транзистора) распределение примеси неравномерное, то в нем создается тормозящее электрическое поле для дырок, которые движутся из эмиттера в коллектор паразитного транзистора. Кроме того, высокая концентрация примеси в коллекторе на порядок снижает распределенное сопротивление rК основного транзистора. Это исключает недостатки планарно-эпитаксиального транзистора.

Рисунок 4.9

 







Date: 2015-05-09; view: 674; Нарушение авторских прав



mydocx.ru - 2015-2026 year. (1.548 sec.) Все материалы представленные на сайте исключительно с целью ознакомления читателями и не преследуют коммерческих целей или нарушение авторских прав - Пожаловаться на публикацию