Главная Случайная страница


Полезное:

Как сделать разговор полезным и приятным Как сделать объемную звезду своими руками Как сделать то, что делать не хочется? Как сделать погремушку Как сделать так чтобы женщины сами знакомились с вами Как сделать идею коммерческой Как сделать хорошую растяжку ног? Как сделать наш разум здоровым? Как сделать, чтобы люди обманывали меньше Вопрос 4. Как сделать так, чтобы вас уважали и ценили? Как сделать лучше себе и другим людям Как сделать свидание интересным?


Категории:

АрхитектураАстрономияБиологияГеографияГеологияИнформатикаИскусствоИсторияКулинарияКультураМаркетингМатематикаМедицинаМенеджментОхрана трудаПравоПроизводствоПсихологияРелигияСоциологияСпортТехникаФизикаФилософияХимияЭкологияЭкономикаЭлектроника






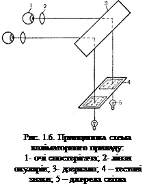
Коліматорні прилади





Прилади коліматорів засновані на використанні простої оптичної системи, у фокальній площині якої встановлюються випробувальні знаки, нанесені на легко змінювані пластинки. Таким чином, знаки, що пред'являються на близькій відстані, зображуються як би в нескінченності. При зміні лінз окуляра 2 досягається отримання зображення знаків на близькій відстані (330 мм). Принципова схема приладу коліматора показана на рис. 1.6. Тестові знаки 4 у вигляді діапозитивів пред'являються для кожного ока 1 окремо(механічне розділення полий зір), що дозволяє досліджувати також бінокулярний зір.

Один з приладів коліматорів для перевірки гостроти зору випускає фірма «Роденшток» (Німеччина). Прилад має невеликі розміри, розташовується на звичайному столі. Кількість тестових знаків практично необмежена. Вони прості та компактні. Дослідження можливо проводити в будь-якому приміщенні, незалежно від його розмірів і загальної освітленості. Прилад може обслуговуватися середнім персоналом. Проте застосування оптичної системи, коли спостереження тестових знаків відбувається через окуляр приладу, викликає у випробовуваного імпульс до акомодації, що стимулює появу «приладової міопії», що впливає на результати дослідження.

Всі ці властивості приладів коліматорів обмежують використання їх при необхідності проведення ретельного дослідження, але вони знаходять широке застосування при масових профілактичних оглядах населення і визначенні професійної придатності.

Гострота зору, визначувана всіма описаними вище приладами, значною мірою залежить від різних чинників (вигляду і якості тестів, що пред'являються, можливості запам'ятовування тестових знаків або їх розпізнавання за другорядними ознаками, умов вимірювання, інтелекту пацієнта тощо). До того ж показник гостроти зору є інтегральною характеристикою функцій всієї зорової системи, випробовуючи, зокрема, вплив недосконалості оптичного апарату ока (помутніння, аномалії рефракції, аберації й ін.) та інших порушень в сенсорному відділі зорової системи. Виходячи з цього перед офтальмологами досить часто виникає необхідність виявлення міри впливу на зір «оптичних» і «нервових» чинників зорової системи. Проте за допомогою традиційних методів вирішення цієї задачі практично неможливе.







Date: 2015-05-09; view: 587; Нарушение авторских прав



mydocx.ru - 2015-2026 year. (0.183 sec.) Все материалы представленные на сайте исключительно с целью ознакомления читателями и не преследуют коммерческих целей или нарушение авторских прав - Пожаловаться на публикацию